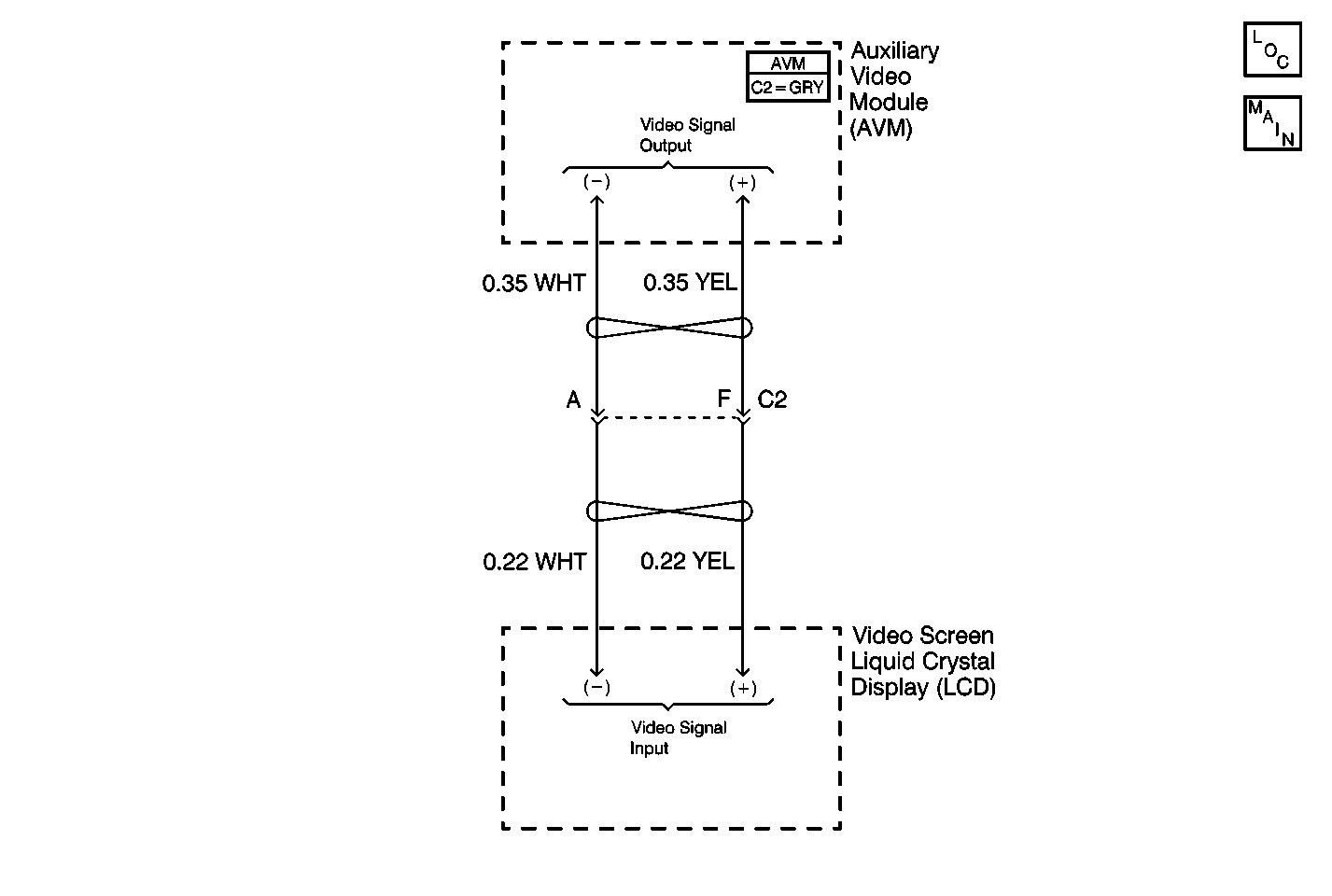
The Video Cassette Player (VCP) plays pre-recorded VHS tapes. The Auxiliary Video Module (AVM) receives the video signal generated by the VCP. When the AVM switch is set to VCP, the AVM routes the VCP video signal to the video screen.
The AVM also allows the user to connect an auxiliary source of video and audio through RCA-style input jacks. When the AVM switch is set to AUX, the AVM routes the video signal from the auxiliary source of video to the video screen.
The video screen produces images based on this video signal, either coming from the VCP or the auxiliary source of video.
The video screen is of a Liquid Crystal Display (LCD) type, and uses backlighting for its operation.
| • | Check for the following conditions: |
| - | An open in YEL and/or WHT wires between the AVM and the video screen |
| - | A faulty video screen |
| - | A faulty AVM |
| • | An intermittent failure may be very difficult to detect and to diagnose accurately. Faulty electrical connections or wiring causes most intermittent problems. When an intermittent condition is suspected, check the suspected circuits for the following conditions: |
| - | Poor mating of connector halves or backed out terminals |
| - | Improperly formed or damaged terminals |
| - | Wire chafing |
| - | Poor wire to terminal connections |
| - | Dirty or corroded terminals |
| - | Damage to connector bodies |
| - | Wire broken inside the insulation |
The number(s) below refer to the step number(s) on the diagnostic table.
Checks the integrity of the video signal circuits between the AVM and the video screen.
Checks if the AVM is faulty.
Verifies repairs made to the VES.
Step | Action | Value(s) | Yes | No |
|---|---|---|---|---|
Check the WHT and YEL wire circuits between the Auxiliary Video Module (AVM) harness connector C2 and the video screen. Are these circuits in good condition? (no sign of open, short to ground, or shorted together) | -- | Go to Step 3 | Go to Step 2 | |
2 |
Does the video screen operate? | -- | System OK | |
Does the video screen operate? | -- | System OK | Go to Step 4 | |
Does the video screen operate? | -- | System OK |