GM Service Manual Online
For 1990-2009 cars only
Makes
🢒
Pontiac
🢒
1998
🢒
Trans Sport Ext.
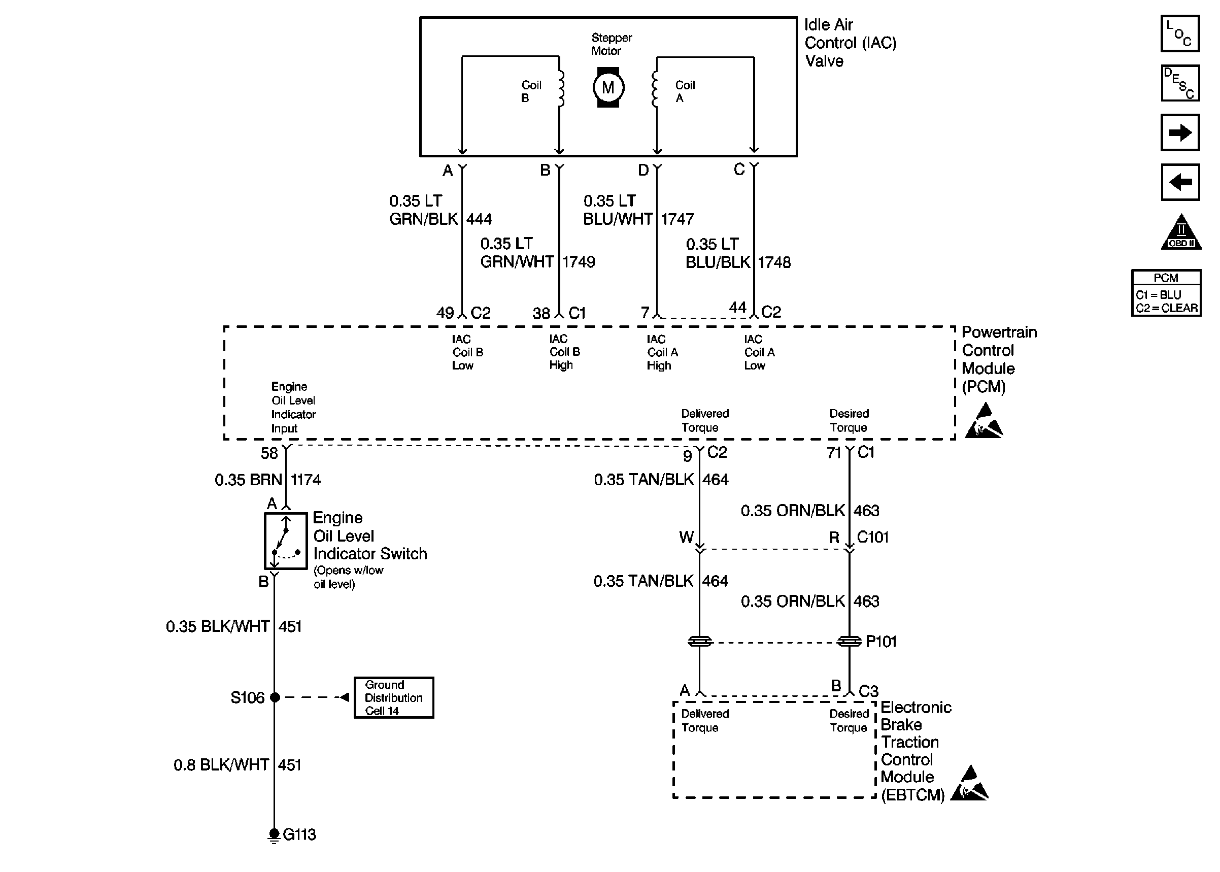
🢒 IAC Valve, EBTCM, Engine Oil Level Sensor
IAC Valve, EBTCM, Engine Oil Level Sensor
IAC Valve, EBTCM, Engine Oil Level Sensor
Engine Controls Components
Powertrain Control Module Description
Indicator Lamps
Engine Data Sensors, HO2S1, HO2S2
OBD II Symbol Description Notice
Engine Controls Connector End Views
Cell 14: G100, G111 and G113
ESD Notice
ESD Notice