GM Service Manual Online
For 1990-2009 cars only
Makes
🢒
Pontiac
🢒
1998
🢒
Trans Sport Ext.
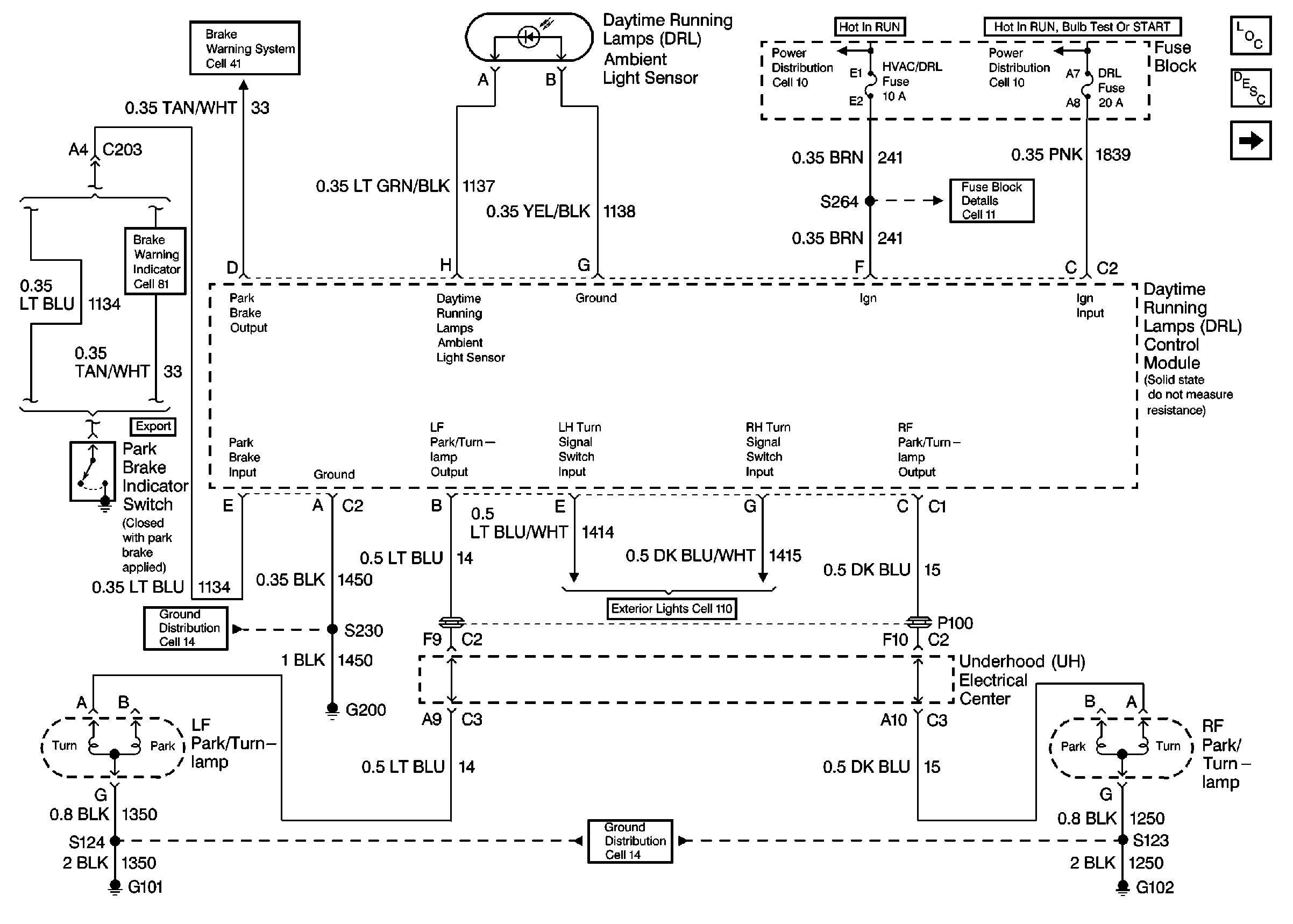
🢒 Cell 100: Park Brake Indicator Switch, DRL Ambient Light Sensor
Cell 100: Park Brake Indicator Switch, DRL Ambient Light Sensor
Cell 100: Park Brake Indicator Switch, DRL Ambient Light Sensor
Lighting Systems Components
Headlights Circuit Description Domestic
Cell 100: Headlamp and IP Lamp Dimmer Switch
Cell 11: FRT HVAC Low/Med BLWR, HVAC/DRL, PWR QTR VENT, RR HVAC
Cell 81: Inflatable Restraint Sensing and SDM
Cell 81: Inflatable Restraint Sensing and SDM
Cell 14: G200
Cell 14: G101 and G102
Cell 110: Hazard Lamp/Turn Signal Flasher, Turn Signal Switch