GM Service Manual Online
For 1990-2009 cars only
Makes
🢒
Pontiac
🢒
1998
🢒
Trans Sport Ext.
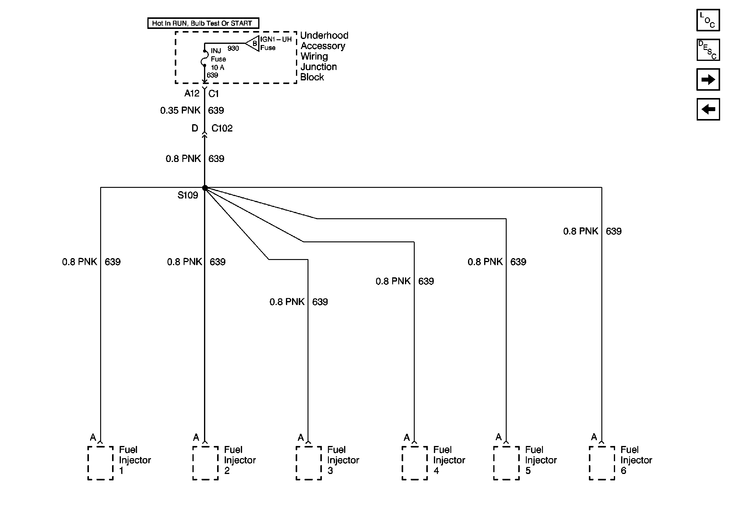
🢒 Cell 11: UH: INJ Fuse
Cell 11: UH: INJ Fuse
Cell 11: UH: INJ Fuse
Power and Grounding Components
Cell 11: UH: Radio Fuse
Cell 11: UH: IGN 1
Cell 11: UH: IGN 1