GM Service Manual Online
For 1990-2009 cars only
Makes
🢒
Pontiac
🢒
1998
🢒
Trans Sport Ext.
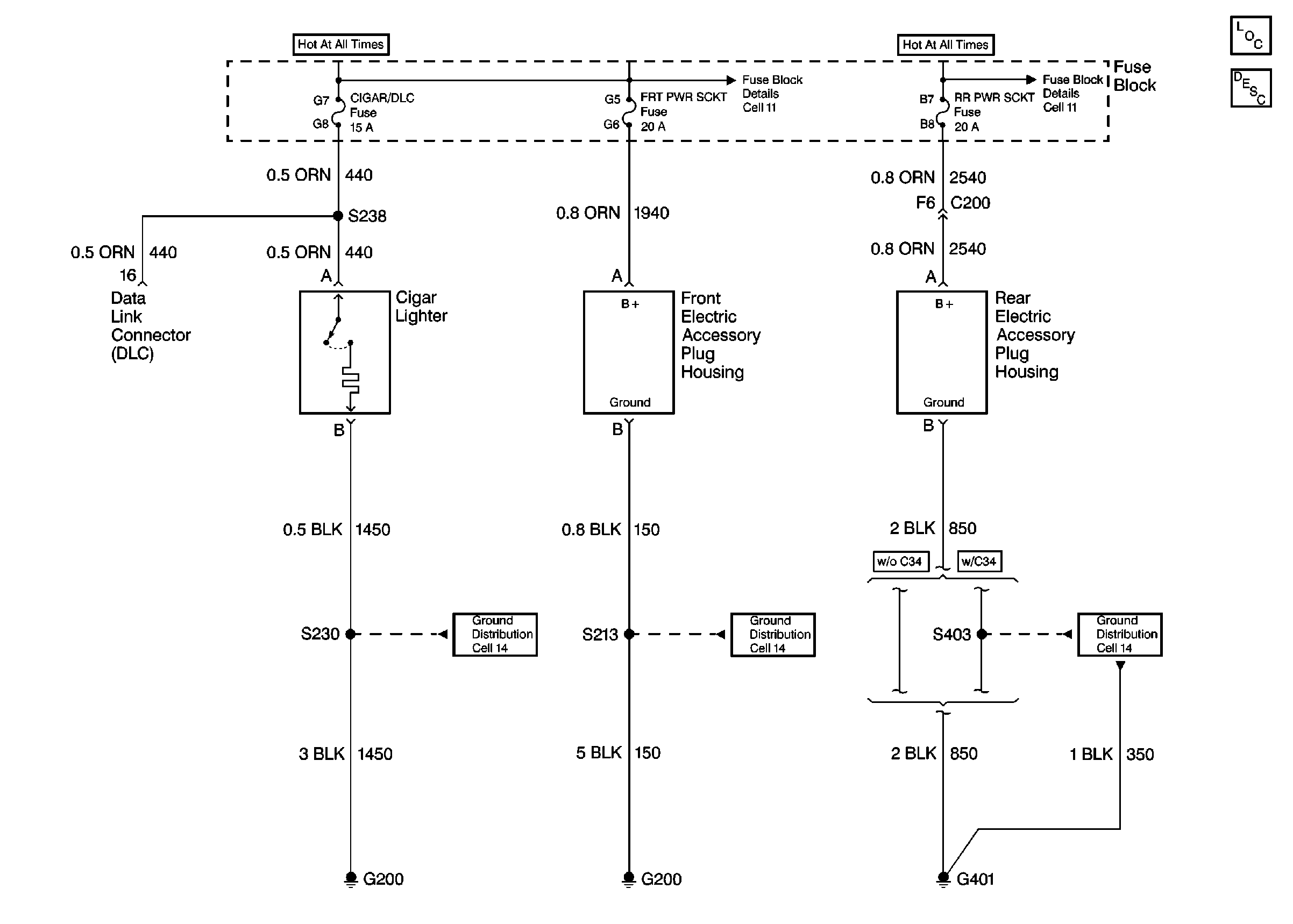
🢒 Cell 19: Cigar Lighter / Auxiliary Outlets
Cell 19: Cigar Lighter / Auxiliary Outlets
Cell 19: Cigar Lighter / Auxilliary Outlets
Power and Grounding Components
Cigar Lighter/Auxiliary Outlet Circuit Description
Cell 11: Cigar/DLC, CTSY Lamp, ELC, FRT PWR SCKT, PWR Mirror and RR Defog Fuses
Cell 11: ABS MOD BATT, Hazard, PWR Lock, RR PWR SCKT and Stop Lamp Fuses
Cell 14: G200
Cell 14: G200
Cell 14: G401 and G402