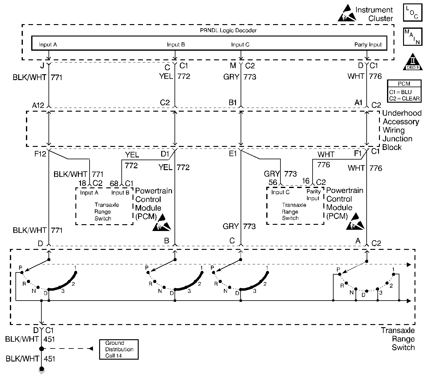
The Transaxle Range Switch is part of the Transaxle Park/Neutral Position (PNP) switch mounted on the transaxle manual shaft. The four inputs from the transaxle range switch indicate to the PCM which position is selected by the Transaxle selector lever. This information is used for ignition timing, EVAP canister purge, EGR and IAC valve operation. The combination of the four transaxle range input states determine the PCM commanded shift pattern. The input voltage level at the PCM is high (B+) when the transaxle range switch is open and low when the switch is closed to ground. The state of each input is represented on the scan tool as X=high voltage level, 0=low voltage level. The four parameters represent transaxle range switch Parity, A, B, and C inputs respectively.
A problem with the transaxle range switch adjustment which causes the PCM to detect vehicle start-up while a gear position other than Park or Neutral is selected will set DTC P0706.
Gear Selector Position | Scan Tool Trans Range PABC Display X=High 0=Low | |||
|---|---|---|---|---|
P | A | B | C | |
Park (P) | 0 | 0 | X | X |
Reverse (R) | X | 0 | 0 | X |
Neutral (N) | 0 | X | 0 | X |
Drive4 (OD) | X | X | 0 | 0 |
Drive3 (3) | 0 | 0 | 0 | 0 |
Drive2 (2) | X | 0 | X | 0 |
Drive 1 (1) | 0 | X | X | 0 |
| • | The system voltage (Ignition 1) is greater than 9 volts. |
| • | The Transaxle Range Switch inputs indicate a gear position other than Park or Neutral during start-up |
| • | The above condition for 5 consecutive start-ups. |
| • | The PCM will not illuminate the malfunction indicator lamp (MIL). |
| • | The PCM will store conditions which were present when the DTC set as Failure Records data only. This information will not be stored as Freeze Frame data. |
| • | A History DTC will clear after 40 consecutive warm-up cycles have occurred without a malfunction. |
| • | The DTC can be cleared by using the scan tool Clear Info function. |
DTC P0706 set indicates a misadjusted Park Neutral Position / Transaxle Range Switch. For adjustment procedure, refer to Transaxle PNP Switch/Range Switch.
Important: Vehicle should not be driven with transaxle range switch disconnected, as idle quality will be affected.
Reviewing the Fail Records vehicle mileage since the diagnostic test last failed may help determine how often the condition that caused the DTC to be set occurs. This may assist in diagnosing the condition.
Number(s) below refer to the step number(s) on the Diagnostic Table. Procedures in Powertrain Control Module (PCM) and Sensors.
This vehicle is equipped with a PCM which utilizes an Electrically Erasable Programmable Read Only Memory (EEPROM). When the PCM is being replaced, the new PCM must be programmed. Refer to Powertrain Control Module Replacement/Programming .
Step | Action | Value(s) | Yes | No |
|---|---|---|---|---|
1 | Was the Powertrain OBD System Check performed? | -- | ||
2 | Is DTC P0705 also set? | -- | ||
3 |
Does Trans Range display indicate P-N? | -- | Go to Diagnostic Aids | |
4 | Observe the scan tool TR P A B C display. Does scan tool TR P A B C display the specified values? | P=0 A=0 B=0 C=0 | ||
5 |
Does scan tool TR P A B C display the specified values? | P=0 A=0 B=0 C=0 | ||
6 |
Was a problem found? | -- | ||
7 |
Does the scan tool display P-N with Park and Neutral selected? | -- | ||
8 |
Was a problem found? | -- | ||
9 | Replace the Transaxle Range switch. Is action complete? | -- | -- | |
|
Important: : The replacement PCM must be programmed. Refer to Powertrain Control Module Replacement/Programming . Replace the PCM. Is the action complete? | -- | -- | ||
11 |
Does the scan tool display match the Transaxle Range Switch Valid Input Combinations table in each gear position? | -- | System OK |