The body control module (BCM) type 4 activates the headlamps and the horn based on the following conditions:
| • | The message received from the keyless entry systems remote control door lock receiver (RCDLR) in order to perform the alarm mode. |
| • | The BCM detects a theft attempt when the content theft deterrent is in either the armed or warning mode. |
| • | The theft deterrent system is in the trunk open mode. |
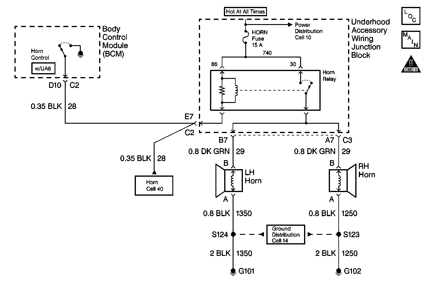
The BCM interfaces with the horn through the horn relay. The horn relay allows the BCM to sound the horn in order to provide an audio alert. The BCM energizes the horn relay and causes the horn to sound by grounding CKT 28 in the following modes:
The armed mode: When the content theft deterrent is in the armed mode, the BCM sounds the horn once for 23-27 ms. The BCM sounds the horn only if the remote activation verification is in either mode 3 or mode 4. Refer to Diagnostic Aids. The headlamps also turn on during this mode. The BCM will sound the horn first, and the headlamps will flash once.The BCM detects a short to B+ or ground in CKT 28.
| • | The BCM sets the diagnostic trouble code DTC 7. |
| • | If CKT 28 is shorted to B+, the BCM does not sound the horn during the following modes: |
| - | The armed mode |
| - | The warning mode |
| - | The alarm mode |
| - | The trunk open mode |
| • | If CKT 28 is shorted to ground, the horn will sound all the time. |
| • | A short to B+ or ground in CKT 28 is no longer present between the BCM and the horn relay. |
| • | After the repairs are completed, refer to Clearing Diagnostic Trouble Codes in order to clear the DTC. |
| • | Inspect for a short to B+ or ground in CKT 28. |
| • | A faulty horn relay. |
| • | Perform the following test while moving the wiring and connectors. This may allow the malfunction to appear. |
The BCM will sound a chime a number of times equal to the BCM type installed in the vehicle.
The BCM will sound any DTCs that are stored.
The BCM has entered the Input/Output Test. The BCM Input/Output consists of the following tests:
| • | Test 1 de-energizes CKT 1393 (protected courtesy lamp output). |
| • | Test 2 energizes CKT 1393 and CKT 328. |
| • | Test 3 grounds CKT 690 (courtesy lamps control). |
| • | Test 4 energizes the theft deterrent relay for one second by grounding CKT 301, and turns on the headlamps (BCM type 3 and type 4 only). |
| • | Test 5 energizes the horn relay for 25 ms by grounding CKT 28, and sounds the horn (BCM type 4 only). |
| • | Test 6 turns on the theft deterrent indicator lamp by grounding CKT 749 (BCM type 4 only). |
| • | Test 7 turns off the theft deterrent indicator lamp by opening CKT 749 (BCM type 4 only). |
The BCM operates the Input/Output test in numerical order.
In order to move to the next test, cycle the instrument panel dimmer switch from the DOME position to the OFF position and then back to the DOME position. The BCM will sound a chime a number of times equal to the Input/Output test number above. The Input/Output test sequence repeats until the ignition switch is turned to the LOCK position.
Perform the following procedure in order to change the remote activation verification mode:
| • | The BCM will sound a chime the number of times equal to the BCM type installed on the vehicle. |
| • | The BCM has entered the feature customization mode. |
| • | In order to change the remote activation verification mode, press the lock button on the keyless entry transmitter. |
| • | The BCM will sound a chime a number of times equal to the remote activation verification mode. |
The following are the remote activation verification modes:
| • | Mode 1 - The remote activation verification is disabled. No horn or headlamps. |
| • | Mode 2 - The headlamps will flash when locking/unlocking the doors with the keyless entry transmitter. |
| • | Mode 3 - The headlamps will flash when unlocking the doors with the keyless entry transmitter. The headlamps will flash and the horn will sound when locking the doors with the keyless entry transmitter. |
| • | Mode 4 - The headlamps will flash when unlocking/locking the doors with the keyless entry transmitter. The headlamps will flash and the horn will sound when locking the doors with the keyless entry transmitter a second time within five seconds of locking the doors with the keyless entry transmitter. |
The numbers below refer to the step numbers on the diagnostic table.
Always perform the BCM diagnostic system check before attempting to diagnose DTC 7.
Inspect the operation of the horn system.
Determine whether the BCM is faulty and not due to an intermittent malfunction.
Inspect for a short to B+ in CKT 28.
Inspect for a short to ground in CKT 28.
Determine if the malfunction is intermittent and not currently present.
Step | Action | Value(s) | Yes | No |
|---|---|---|---|---|
Did you perform the BCM diagnostic system check? | -- | Go to Step 2 | ||
Test the horn by pressing the horn switch on the steering wheel. Does the horn work? | -- | Go to Step 3 | Go to Step 7 | |
Perform the BCM Input/Output test. Refer to Diagnostic Aids. Does the horn sound when the BCM Input/Output performs test 5? | -- | Go to Step 11 | Go to Step 4 | |
Is the voltage less than the specified value? | 2V | Go to Step 5 | Go to Step 8 | |
Use a J 39200 DMM in order to measure the resistance between the BCM harness connector C2 terminal D10 and ground. Is the resistance equal to the specified value? | Infinite | Go to Step 6 | Go to Step 9 | |
Does DTC 7 reset? | -- | Go to Step 10 | Go to Step 11 | |
7 | Refer to Horns System Check Is the repair complete? | -- | Go to Step 12 | -- |
8 | Repair short to B+ in CKT 28. Is the repair complete? | -- | Go to Step 12 | -- |
9 | Repair short to ground in CKT 28. Is the repair complete? | -- | Go to Step 12 | -- |
10 |
Is the repair complete? | -- | Go to Step 12 | -- |
11 | The malfunction is not present at this time. Refer to Diagnostic Aids. Is the action complete? | -- | -- | |
12 |
Are any BCM DTCs present? | -- | System OK |