GM Service Manual Online
For 1990-2009 cars only
Makes
🢒
Pontiac
🢒
2003
🢒
Vibe - AWD
🢒
Engine
🢒
Engine Controls - 1.8L (LNK)
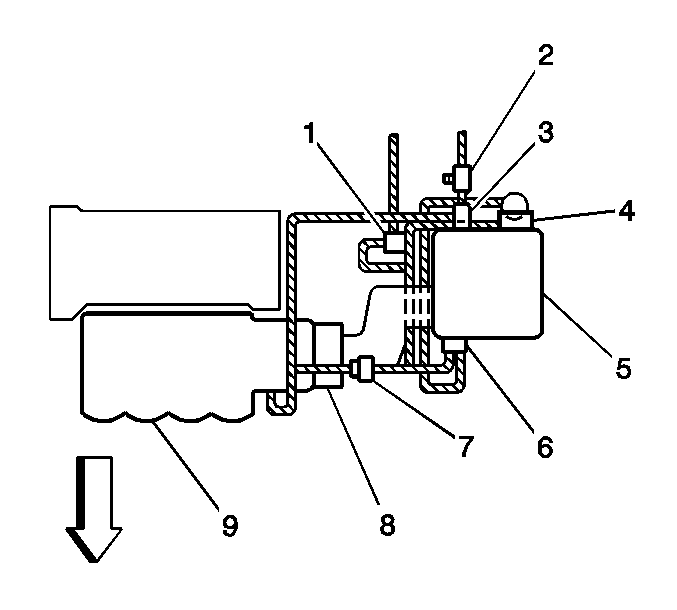
🢒 Emission Hose Routing Diagram
(1)
EVAP Canister Vent Solenoid
(2)
EVAP Service Port
(3)
EVAP Canister Purge Solenoid
(4)
Intake Air Door Motor
(4)
Air Cleaner
(6)
Auxiliary Intake Air Control Solenoid
(7)
Intake Air Vacuum Check Valve
(8)
Throttle Body
(9)
Intake Manifold