GM Service Manual Online
For 1990-2009 cars only

Evaporative Emission Canister Replacement FWD

Removal Procedure

  1. Raise and suitably support the vehicle. Refer to Lifting and Jacking the Vehicle in General Information.

  2. Object Number: 832028  Size: SH
  3. Disconnect the ORVR vent line (1) from the EVAP canister port by pinching both sides of the hose connector (1).

  4. Object Number: 832244  Size: SH
  5. Disconnect the EVAP vapor line (1) from the EVAP canister port by pinching both sides of the hose connector (1).

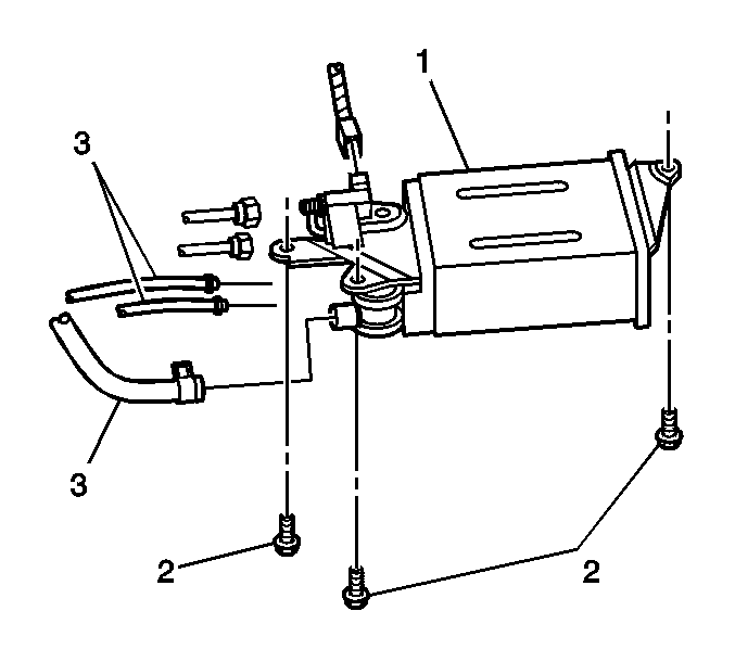
  6. Object Number: 832241  Size: SH
  7. Disconnect the 3 EVAP hoses (3) from the EVAP canister (1).
  8. Disconnect the electrical connector (4) from the EVAP pressure switching solenoid.
  9. Remove the 3 bolts (2) and the EVAP canister (1) from the vehicle.
  10. Inspect the EVAP purge system for carbon particle contamination before replacing the EVAP canister.

Installation Procedure


    Object Number: 832241  Size: SH
  1. Install the EVAP canister (1) to the vehicle underbody and secure with the 3 bolts (2).
  2. Notice: Use the correct fastener in the correct location. Replacement fasteners must be the correct part number for that application. Fasteners requiring replacement or fasteners requiring the use of thread locking compound or sealant are identified in the service procedure. Do not use paints, lubricants, or corrosion inhibitors on fasteners or fastener joint surfaces unless specified. These coatings affect fastener torque and joint clamping force and may damage the fastener. Use the correct tightening sequence and specifications when installing fasteners in order to avoid damage to parts and systems.

  3. Tighten the EVAP canister bracket support bolts.
  4. Tighten
    Tighten the bolts to 19 N·m (14 lb ft).

  5. Connect the 3 EVAP hoses (3) to the EVAP canister (1).
  6. Connect the electrical connector (4) to the EVAP pressure switching solenoid.

  7. Object Number: 832244  Size: SH
  8. Connect the EVAP vapor line (1) to the EVAP canister port by pinching both sides of the hose connector (1).

  9. Object Number: 832028  Size: SH
  10. Connect the ORVR vent line (1) to the EVAP canister port by pinching both sides of the hose connector (1).
  11. Lower the vehicle.

Evaporative Emission Canister Replacement AWD

Removal Procedure

  1. Raise and suitably support the vehicle. Refer to Lifting and Jacking the Vehicle in General Information.

  2. Object Number: 832027  Size: SH
  3. Disconnect the ORVR vent line (1) from the EVAP canister port by pinching both sides of the hose connector (1).

  4. Object Number: 832227  Size: SH
  5. Disconnect the EVAP vapor line (1) from the EVAP canister port by pinching both sides of the hose connector (1).

  6. Object Number: 832235  Size: SH
  7. Disconnect the 3 EVAP hoses (1) from the EVAP canister (3).
  8. Disconnect the electrical connector (4) from the EVAP pressure switching solenoid.
  9. Remove the 3 bolts (2) and the EVAP canister (3) from the vehicle.
  10. Inspect the EVAP purge system for carbon particle contamination before replacing the EVAP canister.

Installation Procedure


    Object Number: 832235  Size: SH
  1. Install the EVAP canister (3) to the vehicle underbody and secure with the 3 bolts (2).
  2. Notice: Use the correct fastener in the correct location. Replacement fasteners must be the correct part number for that application. Fasteners requiring replacement or fasteners requiring the use of thread locking compound or sealant are identified in the service procedure. Do not use paints, lubricants, or corrosion inhibitors on fasteners or fastener joint surfaces unless specified. These coatings affect fastener torque and joint clamping force and may damage the fastener. Use the correct tightening sequence and specifications when installing fasteners in order to avoid damage to parts and systems.

  3. Tighten the EVAP canister bracket support bolts.
  4. Tighten
    Tighten the bolts to 19 N·m (14 lb ft).

  5. Connect the 3 EVAP hoses (1) to the EVAP canister (3).
  6. Connect the electrical connector (4) to the EVAP pressure switching solenoid.

  7. Object Number: 832227  Size: SH
  8. Connect the EVAP vapor line (1) to the EVAP canister port by pinching both sides of the hose connector (1).

  9. Object Number: 832027  Size: SH
  10. Connect the ORVR vent line (1) to the EVAP canister port by pinching both sides of the hose connector (1).
  11. Lower the vehicle.