GM Service Manual Online
For 1990-2009 cars only

Fuel Tank Pressure Sensor Replacement FWD

Removal Procedure


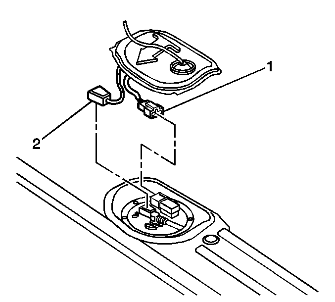
    Object Number: 828297  Size: SH
  1. Remove the two fasteners and swing the rear seat bottom cushion up and out of the way. Refer to Rear Seat Cushion Replacement in Seats.
  2. Remove the sill plate from the left side door opening.
  3. Fold back the carpet in order to maintain metal-to-metal contact while servicing the fuel sender assembly.
  4. Remove the access panel for the fuel sender assembly from the rear seat floor. The panel is held in place by a butyl caulk seal.
  5. Disconnect the fuel sender electrical connector (1) from the fuel sender assembly.
  6. Disconnect the electrical connector of the fuel tank pressure (FTP) sensor (2) from the fuel sender assembly.

  7. Object Number: 828936  Size: SH
  8. Remove the retaining clip (2) from the FTP sensor.
  9. Remove the FTP sensor (1) from the fuel sender assembly.

Installation Procedure


    Object Number: 828936  Size: SH
  1. Install the FTP sensor (1) to the fuel sender assembly.
  2. Install the retaining clip (2) to the FTP sensor.

  3. Object Number: 828297  Size: SH
  4. Connect the fuel sender electrical connector (1).
  5. Connect the FTP sensor electrical connector (2).
  6. Inspect the butyl caulk seal for the fuel sender access panel (1) . Replace any missing butyl caulk as necessary.
  7. Install the access panel to the rear seat floor.
  8. Relocate the carpet under the seat and the left sill plate area.
  9. Install the sill plate to the left side door opening .
  10. Install the rear seat bottom cushion.
  11. Secure the seat cushion with the two fasteners. Refer to Rear Seat Cushion Replacement in Seats.

Fuel Tank Pressure Sensor Replacement AWD

Removal Procedure


    Object Number: 828353  Size: SH
  1. Remove the two fasteners and swing the rear seat bottom cushion up and out of the way. Refer to Rear Seat Cushion Replacement in Seats.
  2. Remove the sill plate from the left side door opening.
  3. Fold back the carpet in order to maintain metal-to-metal contact while servicing the fuel sender assembly.
  4. Remove the access panel for the fuel sender assembly from the rear seat floor. The panel is held in place by a butyl caulk seal.
  5. Disconnect the fuel sender electrical connector (2) from the fuel sender assembly.
  6. Disconnect the electrical connector of the fuel tank pressure (FTP) sensor (1) from the fuel sender assembly.

  7. Object Number: 828936  Size: SH
  8. Remove the retaining clip (2) from the FTP sensor.
  9. Remove the FTP sensor (1) from the fuel sender assembly.

Installation Procedure


    Object Number: 828936  Size: SH
  1. Install the FTP sensor (1) to the fuel sender assembly.
  2. Install the retaining clip (2) to the FTP sensor.

  3. Object Number: 828353  Size: SH
  4. Connect the fuel sender electrical connector (2).
  5. Connect the FTP sensor electrical connector (1).
  6. Inspect the butyl caulk seal for the fuel sender access panel (1) . Replace any missing butyl caulk as necessary.
  7. Install the access panel to the rear seat floor.
  8. Relocate the carpet under the seat and the left sill plate area.
  9. Install the sill plate to the left side door opening .
  10. Install the rear seat bottom cushion.
  11. Secure the seat cushion with the two fasteners. Refer to Rear Seat Cushion Replacement in Seats.