GM Service Manual Online
For 1990-2009 cars only

Parking Brake Adjustment All Wheel Drive and GT

Special Tools

J-45101-100 Conical Brake Rotor Washers

Inspection Procedure

  1. Raise and support the vehicle. Refer to Lifting and Jacking the Vehicle.

  2. Object Number: 428451  Size: SH
  3. Pull the park brake lever with approximately 20 kg (45 lb) of force.
  4. Count the number of clicks or ratchet notches.
  5. Specification

        • The minimum number of clicks is 6.
        • The maximum number of clicks is 9.
  6. Attempt to rotate the rear wheels. Verify the rear wheels do not rotate.
  7. Turn the ignition switch to the ON position. Verify the red BRAKE warning indicator stays ON.
  8. Release the park brake.
  9. Attempt to rotate the rear wheels. Verify the rear wheels rotate freely.
  10. Turn the ignition switch to the ON position. Verify the red BRAKE warning indicator is OFF.
  11. If the park brake lever travel is correct, lower the vehicle.
  12. If the park brake lever travel is not correct, complete the Adjustment Procedure.

Adjustment Procedure

  1. Remove the rear floor console. Refer to Rear Floor Console Replacement.
  2. Release the park brake.

  3. Object Number: 2030159  Size: SH
  4. Loosen the lock nut (1).
  5. Loosen the adjusting nut (2) in order to fully release the park brake.
  6. With the engine OFF, press and release the brake pedal 5 times.
  7. Turn the adjusting nut in order to adjust the park brake lever travel. Refer to the Inspection Procedure.
  8. Caution: Refer to Fastener Caution in the Preface section.

  9. Use a wrench in order to hold the adjusting nut. Tighten the lock nut to 6.0 N·m (53 lb in).
  10. Apply and release the park brake 4 times.
  11. Inspect the park brake lever travel. Refer to the Inspection Procedure.
  12. If the park brake lever travel is correct, install the rear floor console. Refer to Rear Floor Console Replacement.
  13. If the park brake lever travel is not correct, continue with this procedure.

  14. Release the park brake.
  15. Loosen the lock nut.
  16. Loosen the adjusting nut in order to fully release the park brake.
  17. Remove the rear tire and wheel assemblies. Refer to Tire and Wheel Removal and Installation.

  18. Object Number: 891797  Size: SH
  19. Install the J-45101-100 washers  (1) to the wheel studs.
  20. Install the wheel nuts (2) finger tight.
  21. Remove the shoe adjusting hole plug.

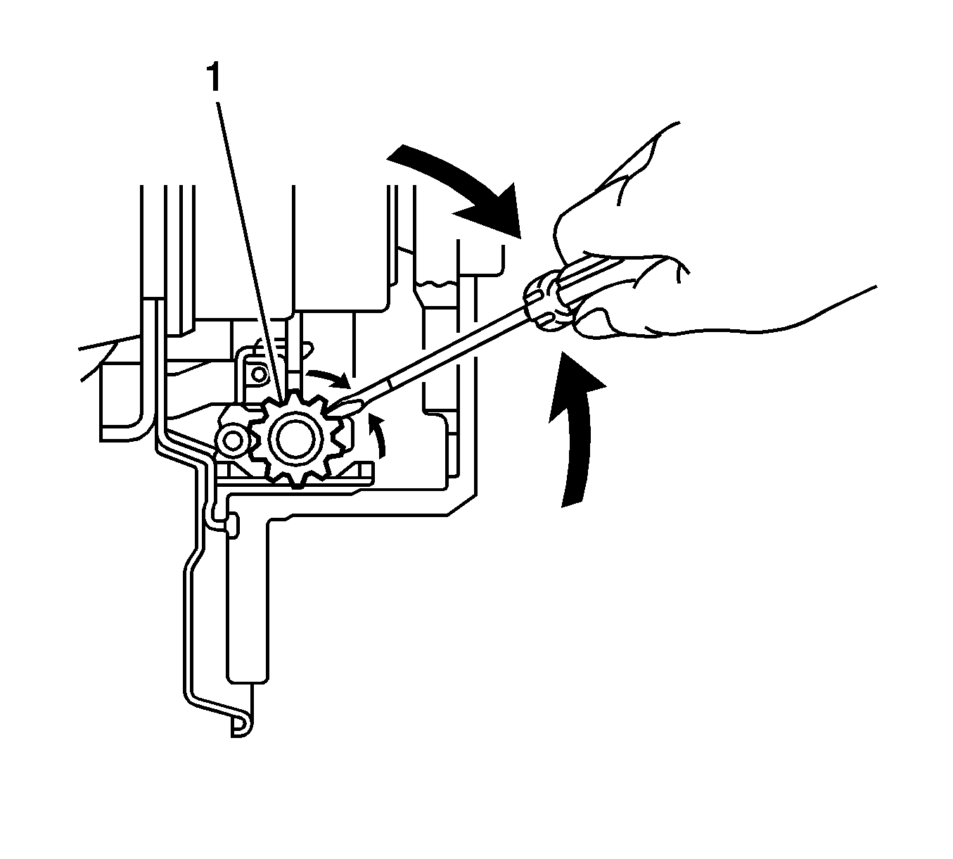
  22. Object Number: 2030161  Size: SH
  23. Turn the shoe adjuster (1) and expand the shoes until the brake rotor locks.
  24. Turn the shoe adjuster and contract the shoes until the brake rotor rotates smoothly. The standard return is 8 notches.
  25. Ensure there is no brake drag against the shoes.
  26. Install the shoe adjusting hole plug.
  27. Turn the adjusting nut in order to adjust the park brake lever travel. Refer to the Inspection Procedure.
  28. Use a wrench in order to hold the adjusting nut. Tighten the lock nut to 6.0 N·m (53 lb in).
  29. Apply and release the park brake 4 times.
  30. Inspect the park brake lever travel. Refer to the Inspection Procedure.
  31. Remove the wheel nuts.
  32. Remove the J-45101-100 washers .
  33. Install the rear tire and wheel assemblies. Refer to Tire and Wheel Removal and Installation.
  34. Install the rear floor console. Refer to Rear Floor Console Replacement.
  35. Lower the vehicle.

Parking Brake Adjustment Except All Wheel Drive and GT

Inspection Procedure

  1. Raise and support the vehicle. Refer to Lifting and Jacking the Vehicle.

  2. Object Number: 428451  Size: SH
  3. Pull the park brake lever with approximately 20 kg (45 lb) of force.
  4. Count the number of clicks or ratchet notches.
  5. Specification

        • The minimum number of clicks is 6.
        • The maximum number of clicks is 9.
  6. Attempt to rotate the rear wheels. Verify the rear wheels do not rotate.
  7. Turn the ignition switch to the ON position. Verify the red BRAKE warning indicator stays ON.
  8. Release the park brake.
  9. Attempt to rotate the rear wheels. Verify the rear wheels rotate freely.
  10. Turn the ignition switch to the ON position. Verify the red BRAKE warning indicator is OFF.
  11. If the park brake lever travel is correct, lower the vehicle.
  12. If the park brake lever travel is not correct, complete the Adjustment Procedure.

Adjustment Procedure

  1. Remove the rear floor console. Refer to Rear Floor Console Replacement.
  2. Release the park brake.

  3. Object Number: 2030159  Size: SH
  4. Loosen the lock nut (1).
  5. Loosen the adjusting nut (2) in order to fully release the park brake.
  6. With the engine OFF, press and release the brake pedal 5 times.
  7. Turn the adjusting nut in order to adjust the park brake lever travel. Refer to the Inspection Procedure.
  8. Caution: Refer to Fastener Caution in the Preface section.

  9. Use a wrench in order to hold the adjusting nut. Tighten the lock nut to 6.0 N·m (53 lb in).
  10. Apply and release the park brake 4 times.
  11. Inspect the park brake lever travel. Refer to the Inspection Procedure.
  12. If the park brake lever travel is correct, install the rear floor console. Refer to Rear Floor Console Replacement.
  13. If the park brake lever travel is not correct, continue with this procedure.

  14. Release the park brake.

  15. Object Number: 2030160  Size: SH
  16. Measure the clearance (a) between the rear brake cylinder operation lever (2) and the stopper (1).
  17. Specification
    The clearance specification is 0.5 mm (0.197 in) or less.

  18. If the clearance is not within the specified range, replace the rear brake caliper. Refer to Rear Brake Caliper Replacement.
  19. Install the rear floor console. Refer to Rear Floor Console Replacement.
  20. Lower the vehicle.