GM Service Manual Online
For 1990-2009 cars only

Special Tools

    • DT-49189 Counter Gear Nut Wrench
    • J-35405 Differential Preload Wrench

    Object Number: 2013913  Size: SH
  1. Coat the front differential side gears (1), side gear thrust washers, front differential pinions and pinion thrust washers with ATF WS and install them to the differential case.

  2. Object Number: 2013912  Size: SH
  3. Coat the front number 1 differential pinion shaft (2) with ATF WS, and install it to the differential case.

  4. Object Number: 2013922  Size: SH
  5. Using a pin punch and hammer, install the pinion shaft straight pin.

  6. Object Number: 2013924  Size: SH

    Note: Stake the differential case after adjusting the backlash.

  7. Using a chisel and hammer, stake the differential case.

  8. Object Number: 2013927  Size: SH
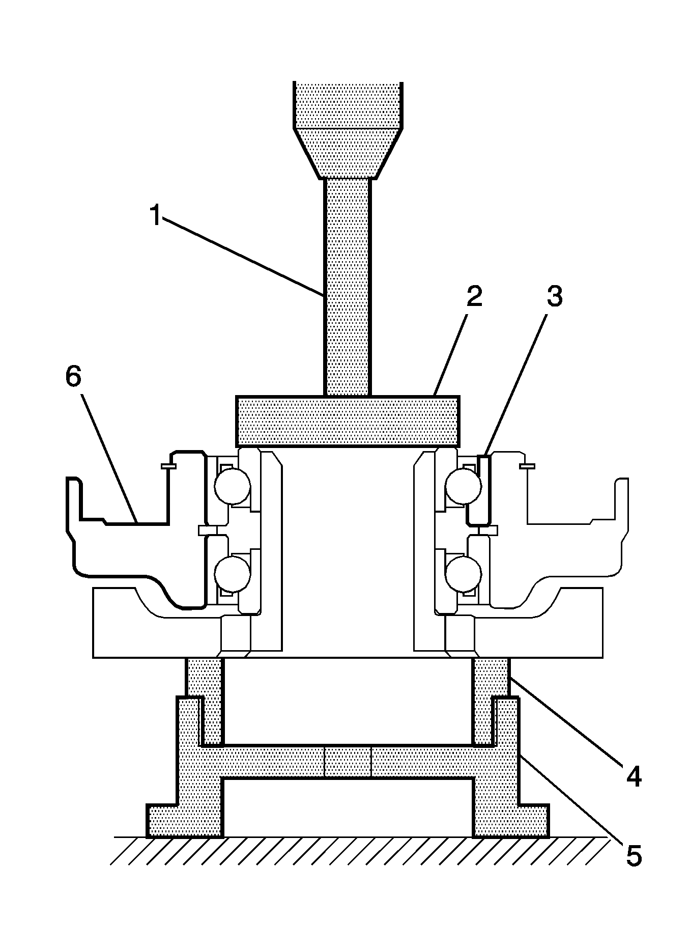
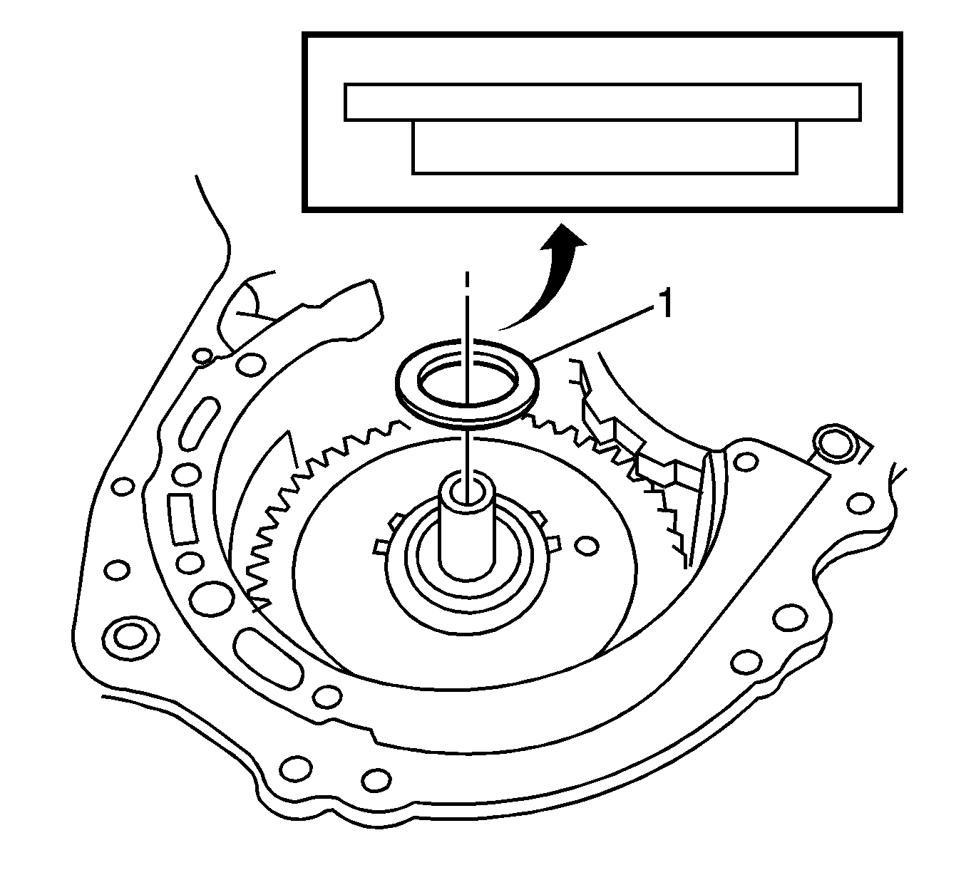
  9. Using a press (1), install the front differential case front tapered roller bearing to the differential case.

  10. Object Number: 2013931  Size: SH
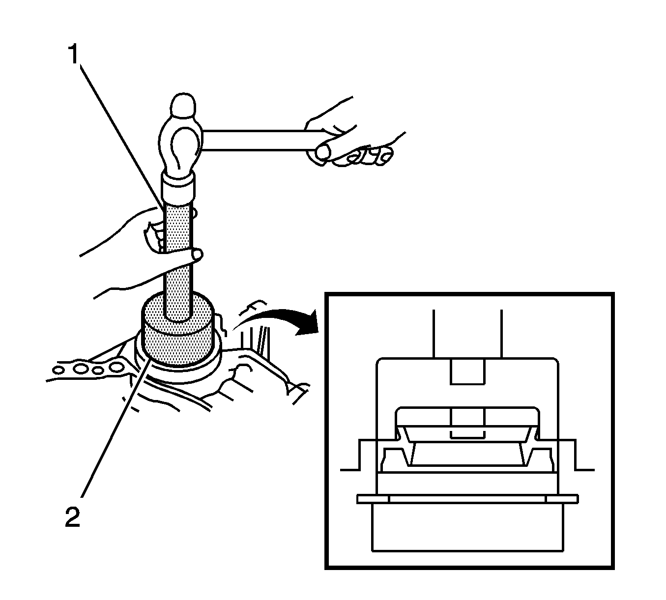
  11. Using a suitable driver (1) and a hammer, install the front differential case front tapered roller bearing outer race to the transaxle housing.

  12. Object Number: 2013933  Size: SH
  13. Using a press (1), install the front differential case rear tapered roller bearing to the differential case.

  14. Object Number: 2013936  Size: SH

    Note: Make sure there is no clearance between the bearing and transaxle housing.

  15. Using a suitable driver (1) and a hammer, install the front differential case rear tapered roller bearing outer race to the transaxle housing.

  16. Object Number: 2013954  Size: SH
  17. Install the differential assembly to the transaxle case.

  18. Object Number: 2149429  Size: SH
  19. Clean the contact surfaces of the transaxle case and transaxle housing.
  20. Caution: Refer to Fastener Caution in the Preface section.

  21. Install the transaxle housing to the transaxle case and tighten the bolts.
  22. • Bolts 1 to 29 N·m (21 lb ft)
    • Bolts 2 to 29 N·m (21 lb ft)
    • Bolts 3 to 22 N·m (16 lb ft)
    • Bolt 4 to 25 N·m (18 lb ft)
    • Bolts 5 to 10 N·m (89 lb in)
    • Bolts 6 to 33 N·m (24 lb ft)
      Refer to Transmission General Specifications for Bolt Length - C

    Object Number: 2014043  Size: SH
  23. Using J-35405 differential preload wrench  (1), turn the differential assembly right and left 2 or 3 times to settle the bearing.
  24. Using J-35405 wrench and a torque wrench, measure the turning torque of the differential.
  25. Specification

        • Turning torque at 60 RPM, new bearing - 0.20-0.69 N·m (1.8-6.1 lb in)
        • Turning torque at 60 RPM, used bearing - 0.10-0.35 N·m (0.9-3.1 lb in)
  26. If the rotating torque is not within the specified range, refer to the flange thickness table to select a thrust washer so that the rotating torque is within the specified range. Refer to Transmission General Specifications for flange thickness.

  27. Object Number: 2149720  Size: SH
  28. Remove the bolts (1-18) and the transaxle housing.

  29. Object Number: 2013954  Size: SH
  30. Remove the differential assembly.

  31. Object Number: 2013957  Size: SH

    Note: Do not heat the ring gear (a) to over 110°C (230°F).

  32. Using ATF WS and a heater, heat the front differential ring gear to 90-110°C (194-230°F).
  33. Clean the contact surface of the front differential case.

  34. Object Number: 2013896  Size: SH

    Note: Do not install the bolts while the ring gear is hot.

  35. Align the matchmarks (1), and install the front differential ring gear case (2) quickly.

  36. Object Number: 2013897  Size: SH
  37. Tighten the bolts on the differential ring gear (1).
  38. Tighten
    Tighten the bolts to 95 N·m (70 lb ft).


    Object Number: 2013964  Size: SH
  39. Using a suitable driver (1) and a hammer, drive in a new oil seal.
  40. Coat the lip of the oil seal with MP grease.
  41. Specification
    Seal depth: -0.5 to +0.5 mm (-0.0197 to +0.0197 in)


    Object Number: 2013965  Size: SH
  42. Using a suitable driver (1) and a hammer, drive in a new oil seal.
  43. Coat the lip of the oil seal of MP grease.
  44. Specification
    Seal depth: -0.5 to +0.5 mm (-0.0197 to +0.0197 in)


    Object Number: 2013974  Size: SH
  45. Using a suitable driver (1) and a hammer, install a new oil seal to the oil pump body.
  46. The seal end should be flush with the outer edge of the oil pump.

  47. Coat the lip of the oil seal with MP grease.

  48. Object Number: 2013889  Size: SH
  49. Coat a new O-ring (1) with ATF WS, and install it to the oil pump body.

  50. Object Number: 2013892  Size: SH
  51. Coat the front oil pump driven gear with ATF WS, and install it to the oil pump body with the marked side up (2).

  52. Object Number: 2013893  Size: SH
  53. Coat the front oil pump drive gear with ATF WS, and install it to the oil pump body with the marked side up (2).

  54. Object Number: 2013941  Size: SH
  55. Align the bolt holes in the stator shaft assembly with those in the front oil pump and gear body sub-assembly.
  56. Install the bolts (1-11) and tighten to 10 N·m (89 lb in).

  57. Object Number: 2013894  Size: SH
  58. Coat the new clutch drum oil seal rings with ATF WS.
  59. Install the clutch drum oil seal rings (1).

  60. Object Number: 2012942  Size: SH
  61. Install the differential gear lube apply tube and transaxle apply tube clamp (1) to the transaxle housing with the bolt (2) and tighten to 10 N·m (89 lb in).

  62. Object Number: 2013019  Size: SH
  63. Install the new O-rings to the number 1 transaxle case plugs.
  64. Install the number 1 transaxle case plugs to the transaxle rear housing and tighten to 7 N·m (62 lb in).

  65. Object Number: 2013700  Size: SH
  66. Coat a new oil seal ring with ATF WS and install it to the transaxle housing.

  67. Object Number: 2013735  Size: SH
  68. Coat the underdrive cylindrical roller bearing with ATF WS.
  69. Using a press (1), install the underdrive cylindrical roller bearing.

  70. Object Number: 2012930  Size: SH
  71. Coat the new oil seal rings (1) with ATF WS, and install them to the transaxle rear cover.
  72. Coat a new needle roller bearing with ATF WS.

  73. Object Number: 2013738  Size: SH
  74. Using a press (1), install the needle roller bearing to the transaxle case.
  75. Specification
    Bearing installation depth - 4.0 mm (0.157 in)


    Object Number: 2013694  Size: SH
  76. Coat the new O-rings (1, 2) with ATF WS, and install them to the underdrive brake piston.
  77. Coat the underdrive brake piston with ATF WS.

  78. Object Number: 2013042  Size: SH
  79. Install the underdrive brake piston (1) to the transaxle case.

  80. Object Number: 2012923  Size: SH
  81. Compress the return spring with a press (2).
  82. Note: 

       • Stop pressing when the spring seat is 1-2 mm (0.039-0.078 in) from the snap ring groove to prevent the spring seat from being deformed.
       • Do not expand the snap ring excessively.
       • After installing the spring sub-assembly, check that all of the springs are fitted in the piston correctly.
       • The snap ring should be securely engaged in the groove of the transaxle case.

  83. Using a snap ring expander, install the snap ring (1) to the transaxle case.

  84. Object Number: 2013048  Size: SH
  85. Install the snap ring to the transaxle case.

  86. Object Number: 2013051  Size: SH
  87. Using a press (1), install the bearing outer race (rear side) to the transaxle case.

  88. Object Number: 2013055  Size: SH
  89. Using a press (1), install the bearing outer race (front side) to the transaxle case.
  90. Coat the counter drive gear with ATF WS.

  91. Object Number: 2013059  Size: SH
  92. Using a press (1), install the tapered roller bearing inner race (front side) to the counter drive gear.

  93. Object Number: 2013064  Size: MH
  94. Using a press (1), install the counter drive gear and bearing inner race (rear side) to the transaxle case.

  95. Object Number: 2012901  Size: SH
  96. Coat the new O-rings with ATF WS.
  97. Install the O-rings (1, 2) to the 1st and reverse brake piston.

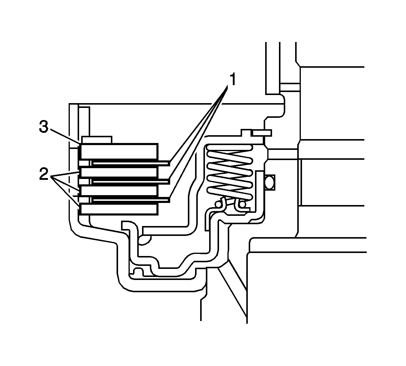
  98. Object Number: 2013073  Size: SH
  99. Coat the 1st and reverse brake piston (1) with ATF WS, and install it to the transaxle case.
  100. Install the return spring.

  101. Object Number: 2013683  Size: SH
  102. Compress the return spring with a press (1).
  103. Using a snap ring expander, install the snap ring to the transaxle case.

  104. Object Number: 2013681  Size: SH
  105. Using a screwdriver, install the front planetary ring gear and snap ring to the brake hub.

  106. Object Number: 2012870  Size: SH
  107. Install the front planetary gear assembly (1) to the brake hub.

  108. Object Number: 2013085  Size: MH

    Note: Press the inner race of the counter drive angular ball bearing (front side), counter drive gear, and front planetary gear assembly to the position where no pre-load is applied to each tapered roller bearing (left and right).

  109. Using a press (1), press-fit the front planetary gear assembly.

  110. Object Number: 2013090  Size: SH
  111. Install a new washer (1).

  112. Object Number: 2013674  Size: SH
  113. Using a DT-49189 counter gear nut wrench  (1, 2) , install the nut and tighten to 185 N·m (136 lb ft).

  114. Object Number: 2013751  Size: SH
  115. Using a DT-49189 wrench  (1) and a torque wrench, measure the turning torque of the bearing while rotating at 60 RPM. If the measured value is not within the specified range, gradually tighten the nut to 350 N·m (258 lb ft) (a limit) until the turning torque falls within the specified range.
  116. Use a torque wrench with a fulcrum length of 160 mm (6.3 in) to measure the turning torque.
  117. Specification
    Bearing Turning Torque - 0.19-0.4 N·m (1.7-3.5 lb in).


    Object Number: 2013098  Size: SH
  118. Using a chisel and hammer, stake the front lock washer.

  119. Object Number: 2013100  Size: SH
  120. Coat the thrust bearings with ATF WS.
  121. Note: Ensure that the parts are installed in the correct order and direction.

  122. Install the input sun gear (4), thrust needle roller bearings, number 2 thrust bearing races, and number 3 thrust bearings to the transaxle case. Refer to Transmission General Specifications

  123. Object Number: 2012855  Size: SH
  124. Install the rear planetary gear assembly (1) to the brake hub.

  125. Object Number: 2012854  Size: SH
  126. Using a screwdriver, install the snap ring (1).

  127. Object Number: 2013147  Size: SH
  128. Coat the discs with ATF WS.
  129. Install the plates and discs (1).

  130. Object Number: 2013153  Size: SH
  131. Coat the 2nd brake piston with ATF WS, and install it to the 2nd brake cylinder.

  132. Object Number: 2012838  Size: SH
  133. Install the 2nd brake piston return spring (1) sub-assembly.
  134. Using a press, compress the piston return spring.
  135. Note: Stop pressing when the spring seat is 1-2 mm (0.039-0.078 in) from the snap ring groove. This prevents the spring seat from being deformed.

  136. Using a screwdriver, install the snap ring.

  137. Object Number: 2012836  Size: SH
  138. Install the 2nd brake piston assembly (1) to the transaxle case.

  139. Object Number: 2013567  Size: SH

    Note: After installing the snap ring, confirm that there is no clearance between the 2nd brake cylinder and the contact surface of the cylinder in the transaxle case.

  140. Install the snap ring and measure the inside diameter.
  141. Specification
    Inside diameter - more than 167 mm (6.57 in)


    Object Number: 2013159  Size: SH

    Note: Check the positioning direction of the outer sleeve.

  142. Install the one-way clutch sleeve (1) to the 2nd brake cylinder assembly.

  143. Object Number: 2012824  Size: SH

    Note: After installing the washer (1), confirm that the projections on the washer are securely fitted in the holes of the planetary sun gear assembly.

  144. Coat the number 1 planetary carrier thrust washer with ATF WS, and install it onto the planetary sun gear assembly.

  145. Object Number: 2013557  Size: SH

    Note: 

       • Check the direction of the inner race.
       • Confirm that the identification mark can be seen.

  146. Install the one-way clutch inner race to the one-way clutch.

  147. Object Number: 2013169  Size: SH
  148. Check the rotating direction of the one-way clutch inner race for the lock or free operation.

  149. Object Number: 2012807  Size: SH

    Note: Install the thrust bearing properly so that uncolored race will be visible.

  150. Install the one-way clutch (1) and thrust needle roller bearing (2) to the one-way clutch sleeve outer.
  151. Specification

        • Inside Bearing Diameter - 53.6 mm (2.110 in)
        • Outside Bearing Diameter - 69.4 mm (2.732 in)

    Object Number: 2012806  Size: SH
  152. Coat the number 2 planetary carrier thrust washer (1) with ATF WS, and install it onto the rear planetary sun gear.

  153. Object Number: 2013202  Size: SH
  154. Coat the bearing (2) with petroleum jelly, and install it onto the rear planetary sun gear.
  155. Specification

        • Race A, Inside Bearing Diameter - 33.1 mm (1.303 in)
        • Race A, Outside Bearing Diameter - 45.4 mm (1.787 in)
        • Bearing B, Inside Bearing Diameter - 31.85 mm (1.254 in)
        • Bearing B, Outside Bearing Diameter - 45.2 mm (1.78 in)

    Object Number: 2012799  Size: SH

    Note: After installing the rear planetary sun gear assembly, confirm that the B1 discs engage.

  156. Install the rear planetary sun gear assembly (1) to the rear planetary gear.

  157. Object Number: 2013209  Size: SH
  158. Coat the discs with ATF WS.
  159. Install the discs (1) and plates to the transaxle case.
  160. Install the snap ring.

  161. Object Number: 2013211  Size: SH

    Note: Be careful not to damage the bushing inside the overdrive clutch hub during installation.

  162. Install the direct clutch hub (3) to the planetary gear assembly.
  163. Coat the thrust bearing with ATF WS.
  164. Note: When installing the bearing, hold the side of the overdrive clutch hub.

  165. Install the bearing race and the thrust bearing to the direct clutch hub.
  166. Specification

        • Bearing A, Inside Bearing Diameter - 25.0 mm (0.984 in)
        • Bearing A, Outside Bearing Diameter - 39.5 mm (1.555 in)
        • Race B, Inside Bearing Diameter - 23.6 mm (0.929 in)
        • Race B, Outside Bearing Diameter - 36.6 mm (1.441 in)

    Object Number: 2012795  Size: SH
  167. Coat a new O-ring (1) with ATF WS, and install it to the direct clutch drum.

  168. Object Number: 2013219  Size: SH
  169. Coat the direct clutch drum with ATF WS, and install it to the intermediate shaft (1).

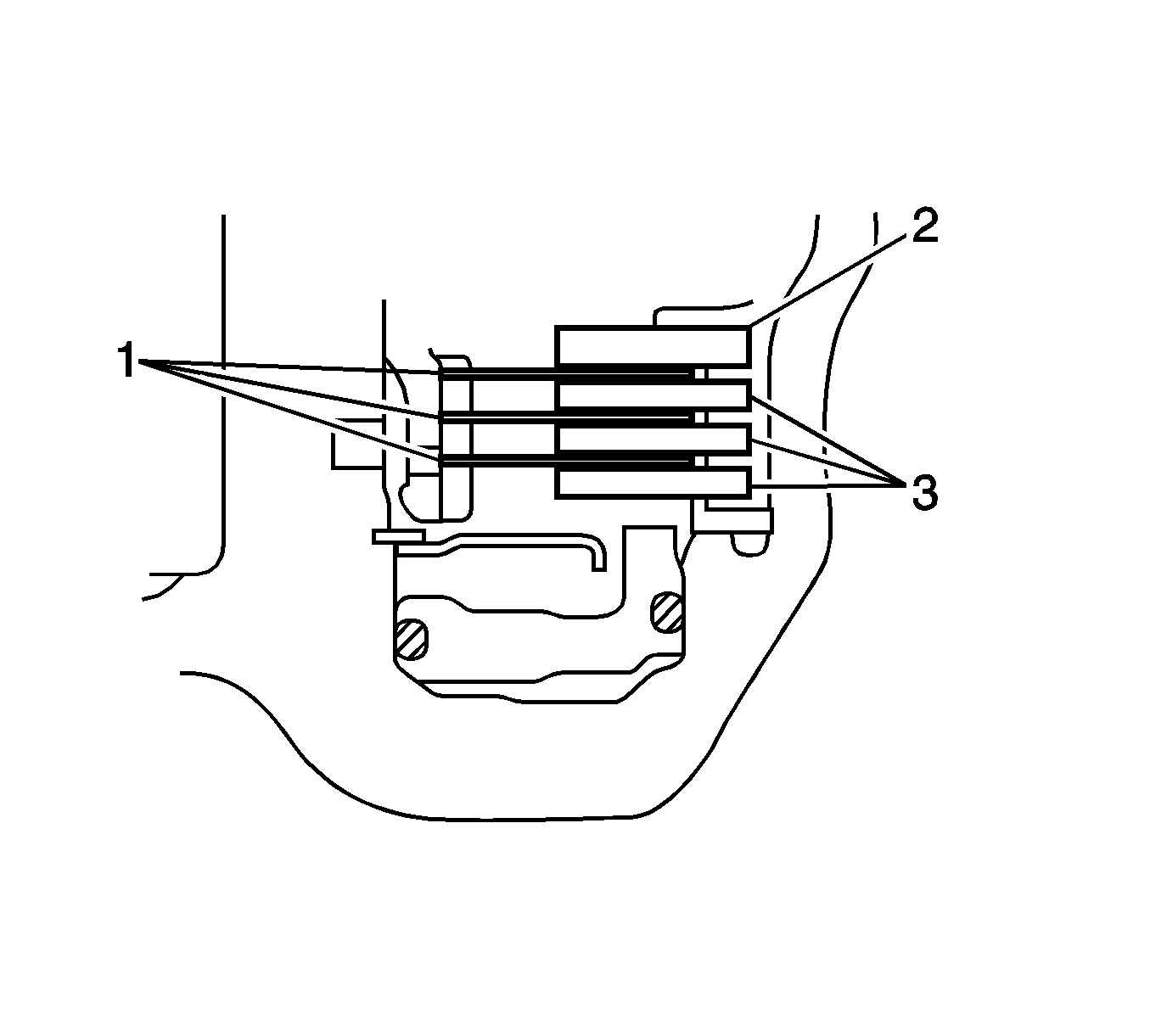
  170. Object Number: 2013222  Size: SH
  171. Coat the overdrive direct clutch piston (1) with ATF WS, and install it to the overdrive direct clutch drum sub-assembly.

  172. Object Number: 2012787  Size: SH

    Note: When installing the spring sub-assembly, ensure that all springs are fitted in the piston correctly.

  173. Install the overdrive clutch return spring sub-assembly (1) to the overdrive direct clutch drum sub-assembly.
  174. Coat the clutch balancer with ATF WS.

  175. Object Number: 2013234  Size: SH

    Note: 

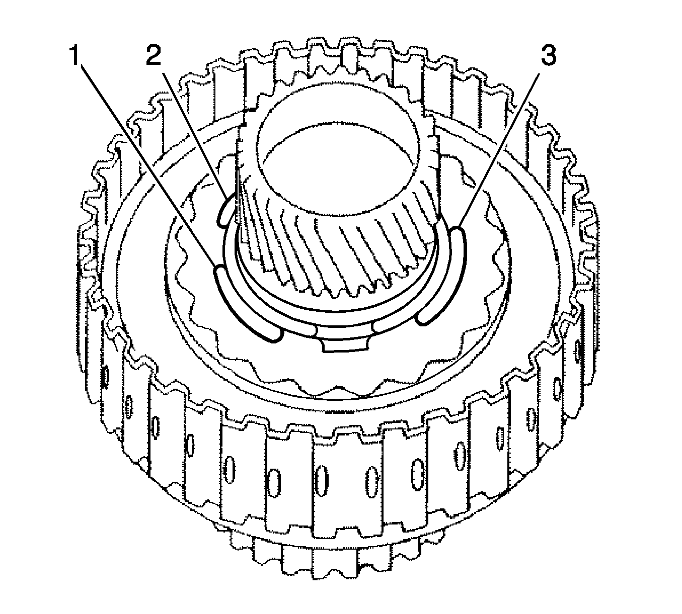
       • Be careful not to damage the lip seal of the direct clutch balancer.
       • Ensure that the clutch balancer is not pinched and there are no other defects at the sealing lip.
       • Apply ATF WS to the sealing lip prior to installation.

  176. Install the clutch balancer (1) to the overdrive direct clutch drum sub-assembly (2).

  177. Object Number: 2012779  Size: SH
  178. Compress the piston return spring in the clutch balancer with a press (1).
  179. Note: 

       • Stop pressing when the spring seat is 1-2 mm (0.039-0.078 in) from the snap ring groove. This prevents the spring seat from being deformed.
       • Do not expand the snap ring excessively.

  180. Using a snap ring expander, install the snap ring to the direct clutch drum.

  181. Object Number: 2013235  Size: SH

    Note: Ensure that the end gap of the snap ring is not aligned with any of the stoppers (1).

  182. Position the end gap of the snap ring in the piston as shown in the illustration.

  183. Object Number: 2013238  Size: SH
  184. Coat the discs with ATF WS.
  185. Install the plates, discs (2) and flange (1) to the intermediate shaft.

  186. Object Number: 2013239  Size: SH
  187. Using a screwdriver, install the snap ring (1).

  188. Object Number: 2013240  Size: SH
  189. Coat the discs with ATF WS.
  190. Note: 

       • Install the cushion plate with the mark on the white surface facing the plate.
       • Be careful about the order of discs, plates and flange.

  191. Install the cushion plate (3), plates (4), discs (2) and flange (1) to the intermediate shaft.

  192. Object Number: 2013241  Size: SH
  193. Using a screwdriver, install the snap ring (1).

  194. Object Number: 2012767  Size: SH
  195. Coat the thrust bearing with ATF WS.
  196. Note: The disc in the direct clutch should be completely matched with the hub attached outside the rear planetary sun gear. Otherwise, the rear cover cannot be installed.

  197. Install the direct clutch assembly (1) and thrust bearing (2) to the rear planetary sun gear assembly.
  198. Clean the contact surfaces of the transaxle case and the rear cover.

  199. Object Number: 2013243  Size: SH
  200. Place a straightedge on the direct clutch drum and measure the distance between the transaxle case and the straightedge using vernier calipers (Dimension C).

  201. Object Number: 2013246  Size: SH
  202. Using vernier calipers and a straightedge, measure the dimension shown.
  203. Note: Make sure that the uncolored race side is facing the direct clutch assembly.

  204. Calculate the end play value, using end play value = Dimension D - Dimension C.
  205. Specification
    End play - 0.199-0.970 mm (0.0078-0.0382 in)

  206. Select a thrust bearing which satisfies the specified value, then install it. Refer to Transmission General Specifications for Bearing Thickness and Diameter.

  207. Object Number: 2013247  Size: SH
  208. Install new number 1 governor apply gaskets (1-3) to the transaxle case.

  209. Object Number: 2013249  Size: SH

    Note: Make sure to install the clamp to the apply tube before installing the apply tube to the transaxle case. This prevents the apply tube from being deformed or damaged.

  210. Install the clamp to the brake apply tube.
  211. Install the clutch apply tube.

  212. Object Number: 2012763  Size: SH
  213. Install the brake apply tube to the transaxle case with the bolt (2) and tighten to 5 N·m (44 lb in).

  214. Object Number: 2013278  Size: SH

    Note: 

       • Face the inscribed side of the bearing race up.
       • Keep pressing until the specified value is obtained.

  215. Using a press (1), install the needle roller bearing to the transaxle rear cover.
  216. Specification
    Press fit depth - 20.55-21.25 mm (0.8091-0.8366 in)

  217. Coat the needle roller bearing with ATF WS.

  218. Object Number: 2012756  Size: SH

    Note: The rear clutch oil seal rings should be securely engaged in the grooves of the drum.

  219. Coat the new rear clutch oil seal rings (1) with ATF WS, and install them to the transaxle rear cover.

  220. Object Number: 2013283  Size: SH
  221. Install new O-rings to the number 1 transaxle case plugs.
  222. Install the number 1 transaxle case plugs to the transaxle rear cover and tighten to 7 N·m (62 lb in).

  223. Object Number: 2013284  Size: SH
  224. Remove any sealant and keep the contact surfaces of the transaxle rear cover and the transaxle case away from oil.
  225. Apply sealant Three Bond 1281 (1) or equivalent to the cover.

  226. Object Number: 2013299  Size: SH
  227. Apply threadlocker to the threads of bolts (3, 4, 7-9).
  228. Install the bolts (1-11) and tighten.
  229. • Bolts (3, 4, 7-9) to 19 N·m (14 lb ft).
    • Other bolts to 25 N·m (18 lb ft).

    Object Number: 2013303  Size: SH
  230. Coat the discs with ATF WS.
  231. Install the discs (1), plates and flange (2) to the transaxle case.

  232. Object Number: 2012745  Size: SH
  233. Using a screwdriver, install the snap ring (1).

  234. Object Number: 2012741  Size: SH

    Note: Securely install the outer race retainer onto the tooth of the one-way clutch.

  235. Install the outer race retainer (1) to the one-way clutch.

  236. Object Number: 2013354  Size: SH

    Note: Ensure that the outer race retainer and the mark on the transaxle case are aligned (1, 2).

  237. Install the one-way clutch to the transaxle case.

  238. Object Number: 2013360  Size: SH
  239. Using a screwdriver, install the snap ring (1) to the transaxle case.

  240. Object Number: 2012727  Size: SH
  241. Coat a new O-ring (1) with ATF WS, and install it to the underdrive clutch drum.

  242. Object Number: 2013370  Size: SH
  243. Coat the underdrive clutch piston with ATF WS, and install it to the underdrive clutch piston drum.

  244. Object Number: 2013486  Size: SH

    Note: After installing the spring sub-assembly, make sure all of the springs are fitted in the piston correctly.

  245. Install the return spring to the underdrive clutch drum.
  246. Coat the clutch balancer with ATF WS.

  247. Object Number: 2013804  Size: SH
  248. Install the clutch balancer to the underdrive clutch drum.

  249. Object Number: 2012720  Size: SH
  250. Compress the clutch balancer piston return spring with a press.
  251. Using a snap ring expander, install the snap ring (2) to the underdrive clutch drum.

  252. Object Number: 2013384  Size: SH

    Note: The end gap of the snap ring should not be aligned with any of the stoppers (1-3).

  253. Position the end gap of the snap ring in the underdrive clutch drum.
  254. Coat the underdrive clutch discs with ATF WS.

  255. Object Number: 2013443  Size: SH
  256. Install the plates (2), discs (1), and flange (3) to the underdrive clutch drum.

  257. Object Number: 2013449  Size: SH
  258. Using a screwdriver, install the number 2 underdrive clutch flange hole snap ring.
  259. Check that the end gap of the snap ring is not aligned with one of the cutouts.

  260. Object Number: 2013454  Size: SH
  261. Coat the bearing and bearing race with ATF WS, and install them onto the underdrive clutch.
  262. Specification

        • Inside bearing diameter - 37.73 mm (1.4854 in)
        • Outside bearing diameter - 58.0 mm (2.284 in)
        • Inside race diameter - 29.9 mm (1.177 in)
        • Outside race diameter - 55.5 mm (2.185 in)
  263. Install the underdrive clutch assembly to the transaxle case.

  264. Object Number: 2013461  Size: SH
  265. Install the pawl pin (3) and spring (2) to the parking lock pawl (1).

  266. Object Number: 2013462  Size: SH
  267. Hand tighten the parking lock pawl, pin and spring to the transaxle case.

  268. Object Number: 2013466  Size: SH

    Note: If replacing the bearing, also replace the counter driven gear.

  269. Install a new snap ring (1) to the outer race of the tapered roller bearing.

  270. Object Number: 2013814  Size: SH
  271. Using a piston ring compressor, squeeze the snap ring.

  272. Object Number: 2013815  Size: SH
  273. Using a press (1), press in the outer race of the angular ball bearing.

  274. Object Number: 2013471  Size: SH
  275. Install the underdrive planetary ring gear (1) to the counter driven gear (2).

  276. Object Number: 2012708  Size: SH
  277. Using snap ring pliers, install the snap ring (1).

  278. Object Number: 2013818  Size: SH
  279. Using a press (1), press the angular ball bearing inner race (rear side) into the underdrive planetary gear.

  280. Object Number: 2013820  Size: SH
  281. Install the counter driven gear with planetary ring gear to the underdrive planetary gear.

  282. Object Number: 2013821  Size: SH

    Note: Press the counter driven gear while rotating it.

  283. Using a press, press in the angular ball bearing inner race (front side).

  284. Object Number: 2013823  Size: SH

    Note: Press the counter driven gear while rotating it.

  285. Using a press (1), press in the parking lock gear.

  286. Object Number: 2013827  Size: SH

    Note: Press the counter driven gear while rotating it.

  287. Using a press (1), press in the differential drive pinion.

  288. Object Number: 2013828  Size: SH

    Note: Press the counter driven gear while rotating it.

  289. Using a press (1), press in the cylindrical roller bearing race inner.

  290. Object Number: 2013701  Size: SH
  291. Clamp the underdrive planetary gear (1) in a soft jaw vise.
  292. Using a socket, install a new lock nut and tighten to 280 N·m (207 lb ft).

  293. Object Number: 2013704  Size: SH
  294. Using a chisel and hammer, stake the lock nut.

  295. Object Number: 2012688  Size: SH

    Note: Firmly engage all the discs of the underdrive clutch with the hub splines of the underdrive planetary gear assembly and securely assemble them.

  296. Install the underdrive planetary gear assembly (1) to the transaxle case.

  297. Object Number: 2013707  Size: SH
  298. Install the parking lock pawl shaft (1).

  299. Object Number: 2012673  Size: SH
  300. Install the pawl shaft clamp (1) with the bolt and tighten to 10 N·m (89 lb in).

  301. Object Number: 2013710  Size: SH

    Note: Write down dimension E because it is necessary for the following process.

  302. Using a straightedge and vernier calipers, measure the gap between the top of the differential drive pinion in the underdrive planetary gear and contact surface of the transaxle case and housing (Dimension E).

  303. Object Number: 2013711  Size: SH

    Note: Write down dimension F because it is necessary for the following process.

  304. Measure two places on the transaxle housing, and calculate dimension F using the following formula -- Dimension F = Dimension (1) - Dimension (2).

  305. Object Number: 2013714  Size: SH
  306. Install the number 1 thrust bearing race (1) to the transaxle case while checking its direction.
  307. Specification

        • Bearing Inside Race Diameter - 34.5 mm (1.359 in)
        • Bearing Outside Race Diameter - 48.5 mm (1.909 in)

    Object Number: 2013716  Size: SH
  308. Coat the thrust needle roller bearing (1) and race with ATF WS, and install them onto the multiple disc clutch hub.
  309. Specification

        • Inside Thrust Bearing and Race Diameter - 36.4 mm (1.433 in)
        • Outside Thrust Bearing and Race Diameter - 52.2 mm (2.055 in)
  310. Coat the needle roller bearing with ATF WS.

  311. Object Number: 2013717  Size: SH
  312. Install the needle roller bearing (1) to the multiple disc clutch hub.
  313. Specification

        • Inside Bearing Race Diameter - 23.5 mm (0.925 in)
        • Outside Bearing Race Diameter - 44.0 mm (1.732 in)
  314. Install the multiple disc clutch hub to the transaxle case.

  315. Object Number: 2013850  Size: SH
  316. Compress a new input shaft oil seal ring from both sides to adjust dimension A.
  317. Specification
    Dimension A - 5 mm (0.197 in)

  318. Coat the oil seal ring with ATF WS and install it to the input shaft.

  319. Object Number: 2013724  Size: SH
  320. Coat the forward clutch piston (1) with ATF WS, and install it to the input shaft.

  321. Object Number: 2012666  Size: SH
  322. Install the return spring (1) to the input shaft.
  323. Coat the clutch balancer with ATF WS.

  324. Object Number: 2012665  Size: SH
  325. Install the clutch balancer (1) to the input shaft.

  326. Object Number: 2012662  Size: SH
  327. Compress the clutch balancer with a press (1).
  328. Install the snap ring with a snap ring expander.

  329. Object Number: 2013734  Size: SH

    Note: The end gap of the snap ring should not be aligned with any of the stoppers (1, 2).

  330. Position the end gap of the snap ring in the piston.
  331. Coat the discs with ATF WS.

  332. Object Number: 2013736  Size: SH
  333. Install the plates (3), discs (1), and flange (2) to the input shaft.

  334. Object Number: 2013744  Size: SH
  335. Using a screwdriver, install the snap ring (1).
  336. Check that the end gap of the snap ring is not aligned with one of the cutouts.

  337. Object Number: 2013745  Size: SH
  338. Coat the thrust needle roller bearing (1) with ATF WS.
  339. Note: Install the thrust bearing properly so that the tempered side of the race will be visible.

  340. Install the thrust needle roller bearing to the forward clutch.
  341. Specification

        • Inside Thrust Bearing Diameter - 33.85 mm (1.3327 in)
        • Outside Thrust Bearing Diameter - 52.2 mm (2.0551 in)

    Object Number: 2012646  Size: SH

    Note: 

       • Align the splines of all discs in the forward clutch with those of the multiple clutch hub to assemble them securely.
       • Be careful not to damage the bushing inside the forward clutch hub during installation.

  342. Install the forward clutch (1) to the forward clutch assembly.

  343. Object Number: 2012645  Size: SH
  344. Install 2 new overdrive brake gaskets.

  345. Object Number: 2012642  Size: SH
  346. Install the differential gear assembly (1) to the transaxle case.

  347. Object Number: 2013753  Size: SH
  348. Install the number 2 thrust bearing underdrive race (2) to the underdrive planetary gear assembly.

  349. Object Number: 2012637  Size: SH
  350. Coat the thrust needle roller bearing (2) with ATF WS.
  351. Calculate the end play value using, end play value = Dimension F - Dimension E - Thrust bearing thickness 2.5 mm (0.0984 in) - Underdrive thrust bearing race number 2 thickness. Use values of Dimensions E and F that were measured when installing the cylindrical roller bearing and underdrive planetary gear.
  352. Specification
    End Play - 0.198-0.693 mm (0.0077-0.0272 in)

  353. Select an appropriate underdrive planetary gear thrust bearing race number 2 which satisfies the specified value, then install it.
  354. Specification

        • Formula value less than 7.339 mm (0.2889 in) - 3.5 mm (0.138 in)
        • Formula value 7.339 mm (0.2889 in) or more - 3.8 mm (0.150 in)
        • Inside bearing diameter - 53.0 mm (2.087 in)
        • Outside bearing diameter - 78.2 mm (3.079 in)
        • Inside bearing race diameter - 52.1 mm (2.051 in)
        • Outside bearing race diameter - 75.5 mm (2.972 in)

    Object Number: 2012634  Size: SH
  355. Install the oil pump to the transaxle case with the bolts (1-7) and tighten to 22 N·m (16 lb ft).

  356. Object Number: 2013760  Size: SH

    Note: Confirm that the input shaft rotates smoothly with manual operation after installing the oil pump.

  357. Coat the O-ring (1) of the oil pump with ATF WS.

  358. Object Number: 2013762  Size: SH
  359. Remove any sealant and keep the contact surfaces of the transaxle case and transaxle housing away from oil.
  360. Apply sealant Three Bond 1281 (1), or equivalent, to the transaxle case.

  361. Object Number: 2149429  Size: SH
  362. Install the transaxle housing to the transaxle case with the bolts and tighten.
  363. • Bolts 1 to 29 N·m (21 lb ft)
    • Bolts 2 to 29 N·m (21 lb ft)
    • Bolts 3 to 22 N·m (16 lb ft)
    • Bolt 4 to 25 N·m (18 lb ft)
    • Bolts 5 to 10 N·m(89 lb in)
    • Bolts 6 to 33 N·m(24 lb ft)
      Apply sealant or equivalent to bolts A and C. Refer to Transmission General Specifications for Bolt Length - B.

    Object Number: 2013768  Size: SH
  364. Secure the transaxle assembly onto wooden blocks.

  365. Object Number: 2013769  Size: SH
  366. Coat a new oil seal with MP grease.
  367. Using a suitable driver (1), install the oil seal to the transaxle case.
  368. Specification
    Seal depth: -0.5 to +0.5 mm (-0.0197 to +0.0197 in)


    Object Number: 2013771  Size: SH
  369. Install the parking lock rod (1) to the manual valve lever. Align the dial with the notches on the manual valve lever and turn the dial 90 degrees to install the parking lock rod.

  370. Object Number: 2013773  Size: SH
  371. Install a new spacer and the manual valve lever shaft to the transaxle case.

  372. Object Number: 2013774  Size: SH
  373. Using a pin punch and hammer, drive in a new pin.

  374. Object Number: 2013777  Size: SH
  375. Turn the spacer and the lever shaft to align the smaller hole of the spacer with the staking position mark on the lever shaft.
  376. Using a pin punch (2), stake the spacer (1) through the small hole.
  377. Check that the spacer does not turn.

  378. Object Number: 2013779  Size: SH
  379. Using needle-nose pliers, install the retainer spring.

  380. Object Number: 2013781  Size: SH

    Note: Be sure the parking rod is placed between the parking pawl and the guide of the parking bracket after the parking bracket is installed.

  381. Install the parking lock pawl bracket and bolts (1, 2) and tighten to 20 N·m (15 lb ft).

  382. Object Number: 2013783  Size: SH

    Note: Make sure to install the manual detent spring and cover in this order.

  383. Install the manual detent spring sub-assembly with the bolts (1, 2).
  384. Tighten bolt 1 first, then bolt 2. Refer to Transmission General Specifications for Bolt Length - D.

    • Bolt 1 to 20 N·m (15 lb ft).
    • Bolt 2 to 12 N·m (106 lb in).

    Object Number: 2012617  Size: SH

    Note: Install the O-ring to the accumulator piston, being careful not to twist or pinch it. Apply ATF WS to the O-ring prior to installation.

  385. Coat a new O-ring (2) with ATF WS , and install it to the B-3 accumulator piston.

  386. Object Number: 2013790  Size: SH

    Note: Install the correct springs to the B-3 accumulator piston (1) after confirming the color and dimension of the springs.

  387. Coat the piston and springs with ATF WS , and install them to the transaxle case.
  388. Specification

        • Accumulator Spring - B-3
        • Inner, Free length/Outer diameter - 15.50-62.00 mm (0.610-2.4409 in)
        • Outer, Free length/Outer diameter - 21.70-74.23 mm (0.854-2.9224 in)
        • Color - Purple

    Object Number: 2013792  Size: SH

    Note: Install the O-rings to the accumulator piston, being careful not to twist or pinch it. Apply ATF WS to the O-rings prior to installation.

  389. Coat thenew O-rings (2, 3) with ATF WS , and install them to the reverse clutch accumulator piston.

  390. Object Number: 2013793  Size: SH

    Note: Install the correct spring to the reverse clutch accumulator piston after confirming the color or dimension of the spring.

  391. Coat the piston and spring with ATF WS, and install them to the transaxle case.
  392. Specification

        • Accumulator Spring - reverse clutch
        • Free length/Outer diameter - 14.10-60.96 mm (0.555-2.3999 in)
        • Color - Yellow

    Object Number: 2012606  Size: SH

    Note: Install the O-ring to the accumulator piston, being careful not to twist or pinch it. Apply ATF WS to the O-ring prior to installation.

  393. Coat a new O-ring (2) with ATF WS , and install it to the C-3 accumulator piston.

  394. Object Number: 2013805  Size: SH
  395. Coat the piston with ATF WS, and install it to the transaxle case.

  396. Object Number: 2012601  Size: SH

    Note: Install the correct spring to the C-3 accumulator piston after confirming the color and dimension of the spring.

  397. Install the spring to the C-3 accumulator piston.
  398. Specification

        • Accumulator Spring - C-3
        • Free length/Outer diameter - 19.0-72.20.00 mm (0.748-2.8425 in)

    Object Number: 2012596  Size: SH
  399. Coat the check ball body with ATF WS.
  400. Note: Regarding the installation of the spring and the check ball body, be sure to place the spring into ball body. Be sure to install the parts in the correct direction.

  401. Install the check ball body and spring.

  402. Object Number: 2012594  Size: SH

    Note: Do not damage the lip portion of the brake drum gasket when inserting the gasket to the case. Apply ATF WS to the gasket prior to installation.

  403. Coat a new brake drum gasket (1) with ATF WS, and install it to the transaxle case.

  404. Object Number: 2013806  Size: SH

    Note: Do not damage the lip portion of the transaxle case 2nd brake gasket when inserting the gasket to the case. Apply ATF WS to the gasket prior to installation.

  405. Coat a new transaxle case 2nd brake gasket (1) with ATF WS, and install it to the transaxle case.

  406. Object Number: 2013807  Size: SH

    Note: Do not damage the lip portion of the number 1 governor apply gasket when inserting the gasket to the case. Apply ATF WS to the gasket prior to installation.

  407. Coat a new number 1 governor apply gasket (1) with ATF WS, and install it to the transaxle case.

  408. Object Number: 2013810  Size: SH

    Note: 

       • Push the valve body against the accumulator piston spring and the check ball body to install it.
       • Hand tighten the bolts marked by (1) first because they are positioning bolts.

  409. Check the manual valve lever position. Install the valve body to the transaxle case with the bolts (1-3) and tighten to 11 N·m (97 lb in). Refer to Transmission General Specifications for Bolt Length - E.

  410. Object Number: 2012588  Size: SH
  411. Coat a new O-ring (1) with ATF WS, and install it to the oil strainer.

  412. Object Number: 2012585  Size: SH
  413. Install the oil strainer to the valve body with the bolts (1) and tighten to 11 N·m (97 lb int).

  414. Object Number: 2013812  Size: SH
  415. Coat a new O-ring (1) with ATF WS, and install it to the transmission wire.

  416. Object Number: 2012584  Size: SH
  417. Install the transmission wire retaining bolt and tighten to 5 N·m (44 lb in).
  418. Coat the ATF temperature sensor O-ring with ATF WS.
  419. Install the ATF temperature sensor with the lock plate and bolt and tighten to 7 N·m (62 lb in).
  420. Connect the solenoid connectors.

  421. Object Number: 2012581  Size: SH
  422. Install the magnets (1) to the oil pan.
  423. Apply sealant Three Bond 1281 or equivalent to the bolts.

  424. Object Number: 2012579  Size: SH
  425. Install a new oil pan gasket and the oil pan to the transaxle case with the bolts (1) and tighten to 8 N·m (71 lb in).
  426. Install a new gasket to the drain plug.
  427. Install the drain plug and tighten to 49 N·m (36 lb ft).

  428. Object Number: 2013822  Size: SH
  429. Coat the new O-rings with ATF WS, and install them to the number 1 transaxle case plugs.
  430. Install the number 1 transaxle case plugs to the transaxle case and tighten to 7 N·m (62 lb in).

  431. Object Number: 2012576  Size: SH
  432. Apply threadlocker to the bolt threads.
  433. Install the speed sensors (1) to the transaxle case with the bolts and tighten to 9 N·m (80 lb in).

  434. Object Number: 2012575  Size: SH
  435. Coat a new O-ring (2) with ATF WS, and install it to the union.
  436. Install the outlet oil cooler tube union (1) to the transaxle case and tighten to 27 N·m (20 lb ft).

  437. Object Number: 2012574  Size: SH
  438. Coat a new O-ring (2) with ATF WS, and install it to the union.
  439. Install the inlet oil cooler tube union (1) to the transaxle case and tighten to 25 N·m (18 lb ft).

  440. Object Number: 2012573  Size: SH
  441. Install the hose and a new O-ring (2) to the breather plug (1).
  442. Install the number 2 breather plug hose to the transaxle case.

  443. Object Number: 2012571  Size: SH
  444. Install the park/neutral position switch onto the manual valve lever shaft and temporarily install the adjusting bolts (1, 2).
  445. Install a new nut stopper and nut and tighten to 7 N·m (62 lb in).

  446. Object Number: 2013829  Size: SH
  447. Hand tighten the control shaft lever (1).

  448. Object Number: 2013836  Size: SH
  449. Turn the lever counterclockwise until it stops, and then turn it clockwise 2 notches.
  450. Remove the control shaft lever.

  451. Object Number: 2013838  Size: SH
  452. Align the groove with the neutral base line (2).
  453. Hold the switch in that position and tighten the bolts (1, 3) to 5 N·m (44 lb in).

  454. Object Number: 2012570  Size: SH
  455. Using a screwdriver, stake the nut with the nut stopper.

  456. Object Number: 2012569  Size: SH
  457. Install the control shaft lever, washer, and nut (1), and tighten to 13 N·m (115 lb in).