GM Service Manual Online
For 1990-2009 cars only

Removal Procedure

    Caution: When removing body panels, apply tape to corners of panel and adjacent surfaces to help prevent paint damage.

  1. Raise and support the hood.
  2. Remove the left wheelhouse panel. Refer to Wheelhouse Panel Replacement.
  3. Remove the front fascia. Refer to Front Bumper Fascia Replacement.
  4. Remove the left rocker molding. Refer to Rocker Panel Molding Replacement.
  5. Remove the left headlamp assembly. Refer to Headlamp Assembly or Headlamp Bulb Replacement.

  6. Object Number: 2045206  Size: SH
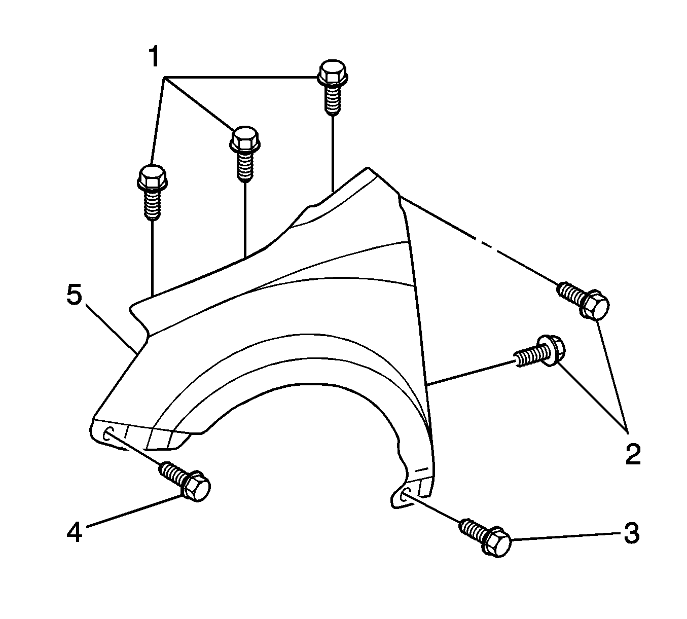
  7. Remove the front fender to rocker panel bolt (3).
  8. Remove the 2 front fender to door jamb bolts (2).
  9. Remove the top 3 front fender bolts (1).
  10. Remove the 1 bolt (4) from the front of the left front fender.
  11. Remove the left front fender (5) from the vehicle.

Installation Procedure

    Caution: Refer to Fastener Caution in the Preface section.


    Object Number: 2045206  Size: SH
  1. Install the front fender (5) to the vehicle. Secure the fender with the 1 bolt (4) and tighten to 5 N·m (44 lb in).
  2. Install the top 3 front fender bolts (1) and tighten to 5 N·m (44 lb in).
  3. Install the 2 front fender to door jamb bolts (2) and tighten to 5 N·m (44 lb in).
  4. Install the front fender to rocker panel bolt (3) and tighten to 5 N·m (44 lb in).
  5. Install the left headlamp assembly. Refer to Headlamp Assembly or Headlamp Bulb Replacement.
  6. Install the front bumper fascia. Refer to Front Bumper Fascia Replacement.
  7. Install the left rocker panel molding. Refer to Rocker Panel Molding Replacement.
  8. Install the left wheel house panel. Refer to Wheelhouse Panel Replacement.
  9. Close hood panel.