GM Service Manual Online
For 1990-2009 cars only

Fuel Pump and Fuel Filter Assembly Replacement with FWD

Removal Procedure


    Object Number: 832792  Size: SH
  1. Remove the fuel sender assembly. Refer to Fuel Sender Assembly Replacement .
  2. Remove the bottom cap (2) and the lower cushion (3) from the fuel sender assembly .
  3. Remove the fuel pressure regulator (1).

  4. Object Number: 832950  Size: SH
  5. Disconnect the fuel level sensor electrical connector.
  6. Remove the fuel level sensor (2).

  7. Object Number: 832966  Size: SH
  8. Remove the fuel sender top cap (1) from the fuel filter assembly.
  9. Disconnect the fuel pump electrical connector.

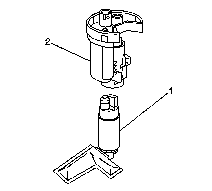
  10. Object Number: 833117  Size: SH
  11. Remove the fuel pump (1) from the fuel filter assembly (2).

  12. Object Number: 833118  Size: SH
  13. Remove the retaining ring for the fuel strainer from the fuel pump.

Installation Procedure


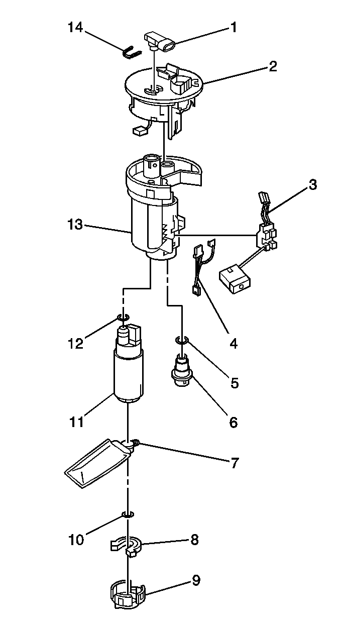
    Object Number: 828370  Size: LH
  1. Install the fuel pump strainer (7) to the fuel pump (11). Use a new locking ring (10).
  2. Apply gasoline to fuel pump O-ring (12), and install to fuel pump.
  3. Install the fuel pump (11) to the fuel filter assembly (13).
  4. Apply gasoline to fuel pressure regulator O-ring (5), and install to fuel pressure regulator (6).
  5. Install the fuel pressure regulator into the fuel filter assembly.
  6. Connect the electrical connector (4) to the fuel pump . Ensure that connections are secure at the fuel pump and the top cap (2) of the sender assembly.
  7. Install the fuel sender assembly top cap (2) to the fuel filter assembly (13). The fuel sender assembly end caps snap into place.
  8. Install the fuel level sensor (3) to the fuel sender assembly.
  9. Connect the fuel level sensor electrical connector.
  10. Position lower cushion (8) on bottom of fuel pump and install lower cap (9) to fuel filter assembly.

Fuel Pump and Fuel Filter Assembly Replacement AWD

Removal Procedure


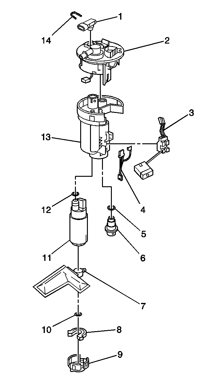
    Object Number: 833910  Size: SH
  1. Remove the fuel sender assembly. Refer to Fuel Sender Assembly Replacement .
  2. Remove the bottom cap (2) and the lower cushion (3) from the fuel sender assembly .
  3. Remove the fuel pressure regulator (1).

  4. Object Number: 828364  Size: SH
  5. Disconnect the fuel level sensor electrical connector.
  6. Remove the fuel level sensor (1).

  7. Object Number: 833912  Size: SH
  8. Remove the fuel sender top cap (1) from the fuel filter assembly.
  9. Disconnect the fuel pump electrical connector.

  10. Object Number: 833914  Size: SH
  11. Remove the fuel pump (1) from the fuel filter assembly (2).

  12. Object Number: 833915  Size: SH
  13. Remove the retaining ring for the fuel strainer from the fuel pump.

Installation Procedure


    Object Number: 828362  Size: LH
  1. Install the fuel pump strainer (7) to the fuel pump (11). Use a new locking ring (10).
  2. Apply gasoline to fuel pump O-ring (12), and install to the fuel pump.
  3. Install the fuel pump (11) in to the fuel filter assembly (13).
  4. Apply gasoline to fuel pressure regulator O-ring (5), and install to the fuel pressure regulator (6).
  5. Install the fuel pressure regulator in to the fuel filter assembly.
  6. Connect the electrical connector (4) to the fuel pump . Ensure that connections are secure at the fuel pump and the top cap (2) of the sender assembly.
  7. Install the fuel sender assembly top cap (2) to the fuel filter assembly (13). The fuel sender assembly end caps snap into place.
  8. Install the fuel level sensor (3) to the fuel sender assembly.
  9. Connect the fuel level sensor electrical connector.
  10. Position lower cushion (8) on bottom of fuel pump and install lower cap (9) to fuel filter assembly.