|
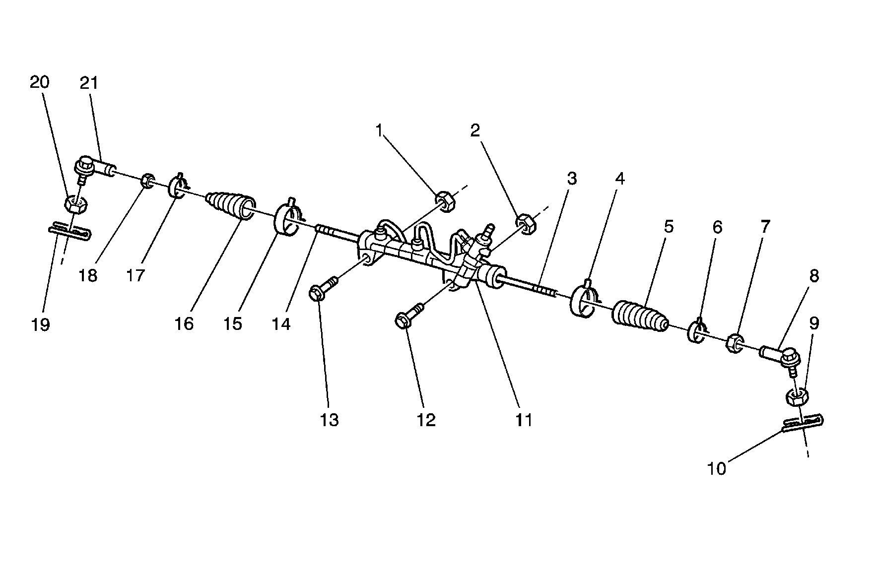
| (1) | Bolt |
| (2) | Bolt |
| (3) | Bolt |
| (4) | Bolt |
| (5) | Steering
Linkage Outer Tie Rod Cotter Pin |
| (6) | Steering
Linkage Outer Tie Rod Nut |
| (7) | Steering
Linkage Outer Tie Rod |
| (8) | Steering
Linkage Inner Tie Rod Nut |
| (9) | Steering
Gear Boot Clamp |
| (10) | Steering
Gear Boot |
| (11) | Steering
Gear Boot Clamp |
| (12) | Steering
Linkage Inner Tie Rod |
| (13) | Steering
Gear Housing |
| (14) | Steering Linkage
Inner Tie Rod |
| (15) | Steering Gear
Boot Clamp |
| (16) | Steering Gear
Boot |
| (17) | Steering Gear
Boot Clamp |
| (18) | Steering Linkage
Inner Tie Rod Nut |
| (19) | Steering Linkage
Outer Tie Rod |
| (20) | Steering Linkage
Outer Tie Rod Nut |
| (21) | Steering Linkage
Outer Tie Rod Cotter Pin |