GM Service Manual Online
For 1990-2009 cars only

Removal Procedure


    Object Number: 875883  Size: SH
  1. Disconnect the 5 solenoid connectors.
  2. Remove the lock plate and bolt, then remove the ATF temperature sensor from the valve body.

  3. Object Number: 875884  Size: SH
  4. Remove the manual detent spring (1) and cover (2) from the valve body.

  5. Object Number: 875885  Size: SH

    Important: Slowly lower the valve body from the transaxle, the check ball assembly and the accumulator piston located above the valve body may fall out of the transaxle case.

  6. Remove the 13 valve body retaining bolts and the valve body.

  7. Object Number: 875886  Size: SH
  8. Remove the check ball assembly and accumulator.

  9. Object Number: 875887  Size: SH
  10. Remove the 2 gaskets.

Installation Procedure

    Notice: Refer to Fastener Notice in the Preface section.


    Object Number: 875890  Size: SH
  1. Install the solenoids on the valve body.
  2. Tighten
    Tighten the bolts to 11 N·m (97 lb in).


    Object Number: 875887  Size: SH
  3. Install the 2 new gaskets.

  4. Object Number: 875886  Size: SH
  5. Install the accumulator and check ball assembly.
  6. Align the groove of the manual valve with the pin of the manual valve lever.

  7. Object Number: 876444  Size: SH
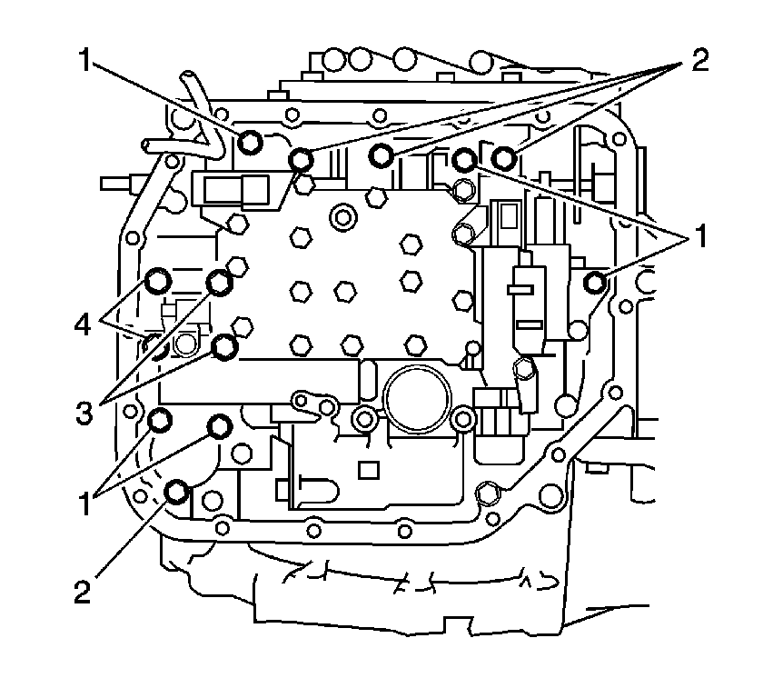
  8. Temporarily install the valve body with the 13 bolts.
  9. • Length of Bolt (1) 32 mm (1.26 in)
    • Length of Bolt (2) 22 mm (0.87 in)
    • Length of Bolt (3) 55 mm (2.17 in)
    • Length of Bolt (4) 45 mm (1.77 in)

    Object Number: 875884  Size: SH
  10. Temporarily install the detent spring (1) and the cover (2).
  11. Make sure the manual valve lever contacts the center of the roller at the tip of the detent spring.
  12. Tighten the 15  valve body retaining bolts.
  13. Tighten
    Tighten the bolt to 11 N·m (97 lb in).

  14. Install the ATF temperature sensor, then the lock plate and bolt on the valve body.
  15. Tighten
    Tighten the bolt to 11 N·m (97 lb in).

  16. Connect the 5 solenoid electrical connectors.
  17. Install the fluid filter and pan. Refer to Automatic Transmission Fluid and Filter Replacement .
  18. Install the left engine splash shield. Refer to Engine Splash Shield Replacement - Left Side in Body Front End.
  19. Lower the vehicle.
  20. Connect the negative (-) battery cable.
  21. Refill the transaxle as necessary.