GM Service Manual Online
For 1990-2009 cars only

Fuel Tank Replacement AWD

Removal Procedure

Caution: Provide additional support when a vehicle is on a hoist in the following ways:

   • Before removing parts, support the opposite end. This helps prevent the vehicle from slipping off.
   • Before removing major components, chain the vehicle frame to the hoist pads at the same end as the removal. This helps avoid a tip-off.
Failure to follow these precautions could cause vehicle damage, serious personal injury, or death.

Notice: The fuel tank equipped with ORVR components require special handling. Follow all instructions for servicing the fuel tank as specified in the service procedures. Damage to the fuel system components and the failure to meet the Federal Regulations may result from incorrect servicing of the fuel tank.


    Object Number: 853081  Size: SH
  1. Drain the fuel tank. Refer to Fuel Tank Draining .
  2. Raise and suitably support the vehicle. Refer to Lifting and Jacking the Vehicle in General Information.
  3. Remove the propeller shaft from the vehicle. Refer to Two-Piece Propeller Shaft Replacement in Propeller Shaft.
  4. Remove the catalytic converter and intermediate pipe assembly from the vehicle. Refer to Catalytic Converter Replacement in Engine Exhaust.
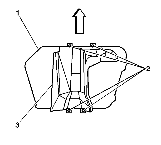
  5. Remove the 4 rivets (2) securing the rear exhaust heat shield (3) to the vehicle.
  6. Remove the rear exhaust heat shield (3) from the fuel tank (1).

  7. Object Number: 853074  Size: SH
  8. Remove the 3 bolts (1) securing the parking brake cable (2) on the left side of the vehicle.

  9. Object Number: 853070  Size: SH
  10. Remove the 3 bolts (1) securing the parking brake cable (3) on the evaporative emission (EVAP) canister (2) side of the vehicle.

  11. Object Number: 853067  Size: SH
  12. Disconnect the EVAP drain hose (2) from the EVAP canister (1).

  13. Object Number: 853064  Size: SH
  14. Disconnect the EVAP purge and vent lines (3) from the EVAP canister (2).
  15. Remove the EVAP lines (3) from the body clip (1) and swing the lines away from the fuel tank.
  16. Remove the EVAP canister (2). Refer to Evaporative Emission Canister Replacement .

  17. Object Number: 853058  Size: SH
  18. Disconnect the fuel supply line. Refer to Plastic Collar Quick Connect Fitting Service .

  19. Object Number: 853062  Size: SH
  20. Loosen the fuel filler hose clamp (1).
  21. Disconnect the fuel filler hose (2) from the fuel tank.

  22. Object Number: 853078  Size: SH
  23. Disconnect the 2 filler pipe vent lines (2) from the fuel tank.
  24. Support the fuel tank with a transmission jack or other suitable fixture.
  25. Remove the four bolts (3) and the two fuel tank straps (1) from the vehicle.
  26. Remove the fuel tank from the vehicle.
  27. If replacing the fuel tank, remove all lines, hoses, and the FLVV, and install on the replacement fuel tank. Refer to Fill Limiter Vent Valve Replacement .

Installation Procedure


    Object Number: 853078  Size: SH
  1. Install the fuel tank to the vehicle.
  2. Notice: Use the correct fastener in the correct location. Replacement fasteners must be the correct part number for that application. Fasteners requiring replacement or fasteners requiring the use of thread locking compound or sealant are identified in the service procedure. Do not use paints, lubricants, or corrosion inhibitors on fasteners or fastener joint surfaces unless specified. These coatings affect fastener torque and joint clamping force and may damage the fastener. Use the correct tightening sequence and specifications when installing fasteners in order to avoid damage to parts and systems.

  3. Install the 2 fuel tank straps (1) to the vehicle with the four bolts (3).
  4. Tighten
    Tighten the bolts to 39 N·m (29 lb ft).

  5. Connect the 2 filler pipe vent lines (2) to the fuel tank.

  6. Object Number: 853062  Size: SH
  7. Connect the fuel filler hose (2) to the fuel tank.
  8. Secure the fuel filler hose (2) to the fuel tank with the hose clamp (1).
  9. Connect the fuel supply line. Refer to Plastic Collar Quick Connect Fitting Service .
  10. Install the EVAP canister to the vehicle. Refer to Evaporative Emission Canister Replacement .

  11. Object Number: 853064  Size: SH
  12. Secure the EVAP purge and vent lines (3) to the chassis with the body clip (1).
  13. Connect the EVAP lines (3) to the EVAP canister (2).

  14. Object Number: 853067  Size: SH
  15. Connect the EVAP drain hose (2) to the EVAP canister (1).

  16. Object Number: 853070  Size: SH
  17. Secure the parking brake cable (3) on the EVAP canister (2) side of the vehicle with 3 bolts (1).
  18. Tighten
    Tighten the bolts to 5.4 N·m (48 lb in).


    Object Number: 853074  Size: SH
  19. Secure the parking brake cable (2) on the left side of the vehicle with 3 bolts (1).
  20. Tighten
    Tighten the bolts to 5.4 N·m (48 lb in).


    Object Number: 853081  Size: SH
  21. Install the rear exhaust heat shield (3) to the fuel tank (1).
  22. Secure the rear exhaust heat shield (3) with four rivets (2).
  23. Install the propeller shaft. Refer to Two-Piece Propeller Shaft Replacement in Propeller Shaft.
  24. Install the catalytic converter and intermediate exhaust pipe assembly to the vehicle. Refer to Catalytic Converter Replacement in Engine Exhaust.
  25. Lower the vehicle.

  26. Object Number: 828355  Size: SH
  27. Install the fuel supply line (1) to the fuel sender fitting.
  28. Secure the fuel supply line (1) with the retaining clip (2).

  29. Object Number: 828353  Size: SH
  30. Connect the fuel sender electrical connector (2) to the fuel sender assembly.
  31. Connect the fuel tank pressure (FTP) sensor electrical connector (1) to the fuel sender assembly.
  32. Add fuel to the fuel tank.
  33. Connect the negative battery cable.
  34. Tighten
    Tighten the retainer for the negative battery cable terminal to 15 N·m (11 lb ft).

  35. Pressurize the fuel system and check for leaks.
  36. Inspect the butyl caulk seal for the fuel sender access panel. Replace any missing butyl caulk as necessary.
  37. Install the access panel to the rear seat floor.
  38. Install the sill plate to the left side door opening.
  39. Install the rear seat bottom cushion. Refer to Rear Seat Cushion Replacement in Seats.

Fuel Tank Replacement FWD

Removal Procedure

Caution: Provide additional support when a vehicle is on a hoist in the following ways:

   • Before removing parts, support the opposite end. This helps prevent the vehicle from slipping off.
   • Before removing major components, chain the vehicle frame to the hoist pads at the same end as the removal. This helps avoid a tip-off.
Failure to follow these precautions could cause vehicle damage, serious personal injury, or death.

Notice: The fuel tank equipped with ORVR components require special handling. Follow all instructions for servicing the fuel tank as specified in the service procedures. Damage to the fuel system components and the failure to meet the Federal Regulations may result from incorrect servicing of the fuel tank.


    Object Number: 850572  Size: SH
  1. Drain the fuel tank. Refer to Fuel Tank Draining .
  2. Raise and suitably support the vehicle. Refer to Lifting and Jacking the Vehicle .
  3. Remove the catalytic converter and intermediate pipe assembly from the vehicle. Refer to Catalytic Converter Replacement .
  4. Remove the 2 left side bolts (1) and the 3 right side bolts (3) from the rear exhaust heat shield (2).
  5. Remove the rear exhaust heat shield (2) from the underbody.

  6. Object Number: 853035  Size: SH
  7. Remove the 2 bolts (1) securing the parking brake cable (2) on the right side of the vehicle.

  8. Object Number: 853058  Size: SH
  9. Disconnect the fuel supply line. Refer to Plastic Collar Quick Connect Fitting Service .
  10. Disconnect the fuel tank vapor line with the quick release fitting from the fuel vapor pipe. Refer to Plastic Collar Quick Connect Fitting Service .

  11. Object Number: 853047  Size: SH
  12. Loosen the fuel filler hose clamp (1).
  13. Disconnect the fuel filler hose (2) from the fuel tank.
  14. Disconnect the ORVR vent line from the fill limiter vent valve (FLVV) of the evaporative emission (EVAP) canister. Refer to Plastic Collar Quick Connect Fitting Service .

  15. Object Number: 853034  Size: SH
  16. Remove the 4 bolts (1) and the 2 fuel tank straps (2) from the vehicle.
  17. Remove the fuel tank (3) from the vehicle.
  18. If replacing the fuel tank, remove all lines and hoses, and install on the replacement fuel tank.

Installation Procedure


    Object Number: 853034  Size: SH
  1. Install the fuel tank (3) to the vehicle.
  2. Notice: Use the correct fastener in the correct location. Replacement fasteners must be the correct part number for that application. Fasteners requiring replacement or fasteners requiring the use of thread locking compound or sealant are identified in the service procedure. Do not use paints, lubricants, or corrosion inhibitors on fasteners or fastener joint surfaces unless specified. These coatings affect fastener torque and joint clamping force and may damage the fastener. Use the correct tightening sequence and specifications when installing fasteners in order to avoid damage to parts and systems.

  3. Install the 2 fuel tank straps (2) to the vehicle with the 4 bolts (1).
  4. Tighten
    Tighten the bolts to 39 N·m (29 lb ft)


    Object Number: 853047  Size: SH
  5. Connect the fuel filler hose (2) to the fuel tank.
  6. Secure the fuel filler hose (2) to the fuel tank with the hose clamp (1).

  7. Object Number: 853058  Size: SH
  8. Connect the fuel supply line. Refer to Plastic Collar Quick Connect Fitting Service .
  9. Connect the fuel tank vapor line with the quick release fitting to the fuel vapor pipe. Refer to Plastic Collar Quick Connect Fitting Service .
  10. Connect the ORVR vent line to the FLVV on the EVAP canister.

  11. Object Number: 853035  Size: SH
  12. Secure the parking brake cable (2) on the right side of the vehicle with 2 bolts (1).
  13. Tighten
    Tighten the bolts to 5.4 N·m (48 lb in).


    Object Number: 850572  Size: SH
  14. Install the rear exhaust heat shield (2) to the vehicle underbody.
  15. Secure the rear exhaust heat shield (2) with the 2 left side bolts (1) and the 3 right side bolts (3).
  16. Tighten
    Tighten the bolts to 5.4 N·m (48 lb in).

  17. Install the catalytic converter and intermediate exhaust pipe assembly to the vehicle. Refer to Catalytic Converter Replacement .
  18. Lower the vehicle.
  19. If the fuel sender assembly was removed refer to Fuel Sender Assembly Replacement .

  20. Object Number: 1460719  Size: SH
  21. Connect the ORVR vent line (2) to the fuel sender assembly (1).

  22. Object Number: 1465470  Size: SH
  23. Slide the quick connect clasp (1) into the lock position on the ORVR vent line (2).

  24. Object Number: 1460705  Size: SH
  25. Connect the fuel supply line (1) to the fuel sender assembly.

  26. Object Number: 1465471  Size: SH
  27. Secure the fuel supply line (2) to the sender assembly with the retaining clip (1).

  28. Object Number: 1460703  Size: SH
  29. Connect the fuel sender electrical connector (2) to the fuel sender assembly.
  30. Add fuel to the fuel tank.
  31. Connect the negative battery cable.
  32. Tighten
    Tighten the retainer for the negative battery cable terminal to 15 N·m (11 lb ft).

  33. Pressurize the fuel system and check for leaks.
  34. Install the access panel (1) to the rear seat floor panel (3).
  35. Secure the access panel to the body with 4 bolts.
  36. Tighten
    Tighten the 4 bolts to 6 N·m (53 lb in).

  37. Relocate the carpet under the ride side seat area and the right sill plate area.
  38. Install the sill plate to the right side door opening .

  39. Object Number: 1464194  Size: SH
  40. Lower the rear seat bottom cushion (1) and secure with 2 bolts (2).
  41. Tighten
    Tighten the 2 bolts to 41 N·m (30 lb ft).