GM Service Manual Online
For 1990-2009 cars only
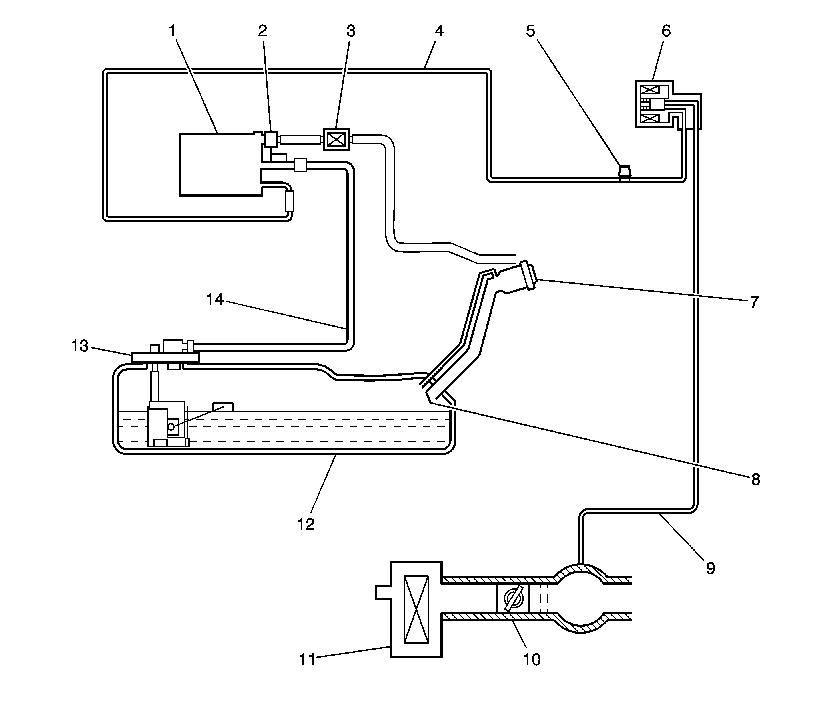
Figure 1:

EVAP System - FWD


Object Number: 1457623  Size: LF
(1)EVAP Canister
(2)Fill Limiter Vent Valve (FLVV)
(3)EVAP Canister Air Filter
(4)Purge Line from Canister
(5)EVAP Service Port
(6)EVAP Canister Purge Solenoid Valve
(7)Fuel Filler Cap
(8)Fuel Filler Pipe Check Valve
(9)Purge Line to Engine
(10)Throttle Body
(11)Air Cleaner
(12)Fuel Tank
(13)Fuel Sender Assembly
(14)ORVR Vent Line
Figure 2:

EVAP System - AWD


Object Number: 845591  Size: LF
(1)EVAP Pressure Switching Solenoid
(2)Drain Line
(3)ORVR Vent Line, to FLVV
(4)EVAP Vapor Line
(5)Purge Line from Canister
(6)Fuel Tank Pressure Sensor
(7)EVAP Service Port
(8)EVAP Canister Purge Solenoid Valve
(9)Fuel Filler Cap
(10)Purge Line to Engine
(11)Fill Limiter Vent Valve (FLVV)
(12)Fuel Tank
(13)EVAP Canister
(14)Air Inlet Line
(15)Throttle Body
(16)Air Cleaner
(17)EVAP Canister Vent Solenoid Valve
(18)EVAP Vapor Pressure Line, Canister and Purge Side
(19)EVAP Vapor Pressure Line, Fuel Tank Side