GM Service Manual Online
For 1990-2009 cars only
Connector 1: Rear Hatch Glass Connector
Connector 2: Rear Wiper Diode
Connector 3: Rear Wiper Relay 1
Connector 4: Rear Wiper Relay 2
Connector 5: Washer Motor - Front
Connector 6: Washer Motor - Rear
Connector 7: Windshield Wiper/Washer Level Sensor
Connector 8: Windshield Wiper/Washer Switch
Connector 9: Wiper Motor - Front

Rear Hatch Glass Connector


Object Number: 820017  Size: CH

Connector Part Information

  • OEM: 90980-10772
  • Service: N/A
  • Description: WH

Rear Hatch Glass Connector

Pin

Wire

Function

1

WH/BK

Ground

2

BK

Defogger Relay

3

BU/WH

Wiper Motor Feed

4

BU/WH

Not Used

5

BU/BK

Park Switch

6

WH

Not Used

7

BU

Park Control

Rear Wiper Diode


Object Number: 334435  Size: CH

Connector Part Information

  • OEM: 90980-10962
  • Service: N/A
  • Description: BK

Rear Wiper Diode

Pin

Wire

Function

1

RD/WH

Supply Voltage

2

RD/BK

Rear Wiper Relay 1 Supply Voltage

Rear Wiper Relay 1


Object Number: 820004  Size: CH

Connector Part Information

  • OEM: 82660-0C010
  • Service: N/A
  • Description: BG

Rear Wiper Relay 1

Pin

Wire

Function

1

RD/WH

Rear Wiper Relay 1 Signal

2

BU/WH

Supply Voltage - RR WIP Fuse

3

RD/BK

Supply Voltage - Rear Wiper Diode

4

BU

Rear Wiper Motor Control

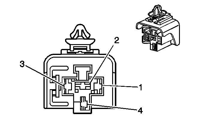
Rear Wiper Relay 2


Object Number: 335024  Size: CH

Connector Part Information

  • OEM: 90980-10797
  • Service: N/A
  • Description: WH

Rear Wiper Relay 2

Pin

Wire

Function

1

--

Not Used

2

PK

Intermittent Position

3

BU

Park Control

4

BU/WH

Wiper Motor Feed

5

BU/BK

Park Switch

6

WH

Wiper Relay Ground

Washer Motor - Front


Object Number: 334964  Size: CH

Connector Part Information

  • OEM: 90980-10981
  • Service: N/A
  • Description: BK

Washer Motor - Front

Pin

Wire

Function

1

BU/YE

Washer Pump Feed Circuit

2

BU

Washer Pump Control

3

--

Not Used

Washer Motor - Rear


Object Number: 334964  Size: CH

Connector Part Information

  • OEM: 90980-10981
  • Service: N/A
  • Description: BK

Washer Motor - Rear

Pin

Wire

Function

1

BU/RD

Rear Washer Pump Supply Voltage

2

BU

Rear Washer Pump Control

3

--

Not Used

Windshield Wiper/Washer Level Sensor


Object Number: 334995  Size: CH

Connector Part Information

  • OEM: 90980-11068
  • Service: N/A
  • Description: BK

Windshield Wiper/Washer Level Sensor

Pin

Wire

Function

1

BU/WH

Indicator Signal

2

WH/BK

Ground

Windshield Wiper/Washer Switch


Object Number: 820218  Size: CH

Connector Part Information

  • OEM: 90980-12008
  • Service: N/A
  • Description: BK

Windshield Wiper/Washer Switch

Pin

Wire

Function

1

PK

Rear Wiper Off Signal

2

WH

Rear Wiper Control Circuit

3

BU/RD

Rear Washer Pump Control

4

BU/YE

Front Washer Motor Control

5

WH/BK

Ground

6

BU/WH

Front Wiper Park Control

7

BU/WH

Front Wiper Low Position

8

BU

Wiper Switch Feed Circuit

9

BU/RD

Front Wiper High Position

10

--

Not Used

Wiper Motor - Front


Object Number: 820115  Size: CH

Connector Part Information

  • OEM: 90980-11599
  • Service: N/A
  • Description: GY

Wiper Motor - Front

Pin

Wire

Function

1

BU/WH

Intermittent/Low Control

2

BU

Ignition Positive Voltage

3

BU/WH

Wiper Park Control

4

BU/RD

High Speed

5

WH/BK

Ground