GM Service Manual Online
For 1990-2009 cars only

Removal Procedure


    Object Number: 847509  Size: SH
  1. Remove the front side door trim. Refer to Front Side Door Trim Panel Replacement.
  2. Pull back the water deflector in order to gain clearance to remove the front door check link from the door.
  3. Remove the following components from the vehicle:
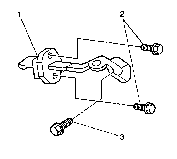
  4. • The front door check link to door jamb bolt (3)
    • The 2 bolts (2) that retain the check link to the rear door
    • The check link (1) through inner door panel access hole

Installation Procedure


    Object Number: 847509  Size: SH

    Notice: Use the correct fastener in the correct location. Replacement fasteners must be the correct part number for that application. Fasteners requiring replacement or fasteners requiring the use of thread locking compound or sealant are identified in the service procedure. Do not use paints, lubricants, or corrosion inhibitors on fasteners or fastener joint surfaces unless specified. These coatings affect fastener torque and joint clamping force and may damage the fastener. Use the correct tightening sequence and specifications when installing fasteners in order to avoid damage to parts and systems.

  1. Install the check link through the inner door panel access hole. Secure the check link (1) with the 2 bolts (2).
  2. Tighten
    Tighten the check link bolts to 5.5 N·m (49 lb in).

  3. Install the front door check link to door jamb bolt (3).
  4. Tighten
    Tighten the check link to door jamb bolt to 26 N·m (19 lb ft).

  5. Reposition the water deflector back to it original position.
  6. Install the front side door trim. Refer to Front Side Door Trim Panel Replacement.