GM Service Manual Online
For 1990-2009 cars only

Removal Procedure

  1. Remove the cooling fan assembly. Refer to Engine Cooling Fan Replacement .
  2. Discharge and recover the refrigerant. Refer to Refrigerant Recovery and Recharging .
  3. Important: Cap the open fittings in order to prevent dirt and moisture from entering the refrigeration system.

  4. Remove the receiver from the condenser. Refer to Receiver Dehydrator Replacement .

  5. Object Number: 834073  Size: SH
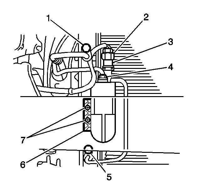
  6. Remove the bolt and the condenser inlet tube (1).

  7. Object Number: 834083  Size: SH
  8. Remove the 2 bolts (2) from the radiator support bracket.
  9. Remove the brackets from the vehicle.
  10. Remove the two bolts (1) from condenser.

  11. Object Number: 834084  Size: SH
  12. Lean the radiator back and Remove the condenser.

Installation Procedure

    Important: When installing a new condenser, add 60 ml (2.0 fl oz) of refrigerant oil to the refrigeration system.

  1. Install the condenser to the vehicle.
  2. Install new O-rings lubricated with mineral base 525 viscosity refrigerant oil.

  3. Object Number: 834083  Size: SH

    Notice: Use the correct fastener in the correct location. Replacement fasteners must be the correct part number for that application. Fasteners requiring replacement or fasteners requiring the use of thread locking compound or sealant are identified in the service procedure. Do not use paints, lubricants, or corrosion inhibitors on fasteners or fastener joint surfaces unless specified. These coatings affect fastener torque and joint clamping force and may damage the fastener. Use the correct tightening sequence and specifications when installing fasteners in order to avoid damage to parts and systems.

  4. Secure the condenser with the 2 bolts (1).
  5. Tighten
    Tighten the bolts (1) to 10 N·m (89 lb in).

  6. Install the radiator support brackets. Secure each bracket with the bolts (2).
  7. Tighten
    Tighten the radiator support bracket bolts to 13 N·m (10 lb ft).


    Object Number: 834073  Size: SH
  8. Install the inlet tube to the condenser. Secure with the bolt (1).
  9. Tighten
    Tighten the bolt (1) to 5.4 N·m (48 lb in).

  10. Install the receiver to the condenser. Refer to Receiver Dehydrator Replacement .
  11. Install the cooling fan assembly. Refer to Engine Cooling Fan Replacement .
  12. Evacuate and recharge the air conditioning system. Refer to Refrigerant Recovery and Recharging .
  13. Operate the A/C system and test for refrigerant leaks. Refer to Leak Testing .