GM Service Manual Online
For 1990-2009 cars only
Connector 1: A/C Fresh/Recirculation Switch
Connector 2: Defogger Mode Switch
Connector 3: Fresh/Recirculation Air Inlet Actuator
Connector 4: Blower Motor
Connector 5: Blower Motor Resistor
Connector 6: Blower Switch
Connector 7: Evaporator Temperature Sensor
Connector 8: Fan Motor
Connector 9: Fan Resistor
Connector 10: Refrigerant Pressure Switch

A/C Fresh/Recirculation Switch


Object Number: 820246  Size: CH

Connector Part Information

  • OEM: 90980-12162
  • Service: N/A
  • Description: BK

A/C Fresh/Recirculation Switch

Pin

Wire

Function

1

WH/BK

Ground

2

GN/WH

Fresh Position Actuator Control

3

--

Not Used

4

RD/WH

AC Switch Feed Circuit

5

BU/WH

Recirculation Position Actuator Control

6

GN

Illumination Lamps Supply Voltage

7

WH/BK

Illumination Lamps Ground

8

GN/WH

A/C Indicator Control

9

YE

AC Request Signal Circuit

10

BK

AC Request Feed Circuit

Defogger Mode Switch


Object Number: 820060  Size: CH

Connector Part Information

  • OEM: 90980-10906
  • Service: N/A
  • Description: BK

Defogger Mode Switch

Pin

Wire

Function

1

YE

AC Request Signal Circuit

2

BK

AC Request Feed Circuit

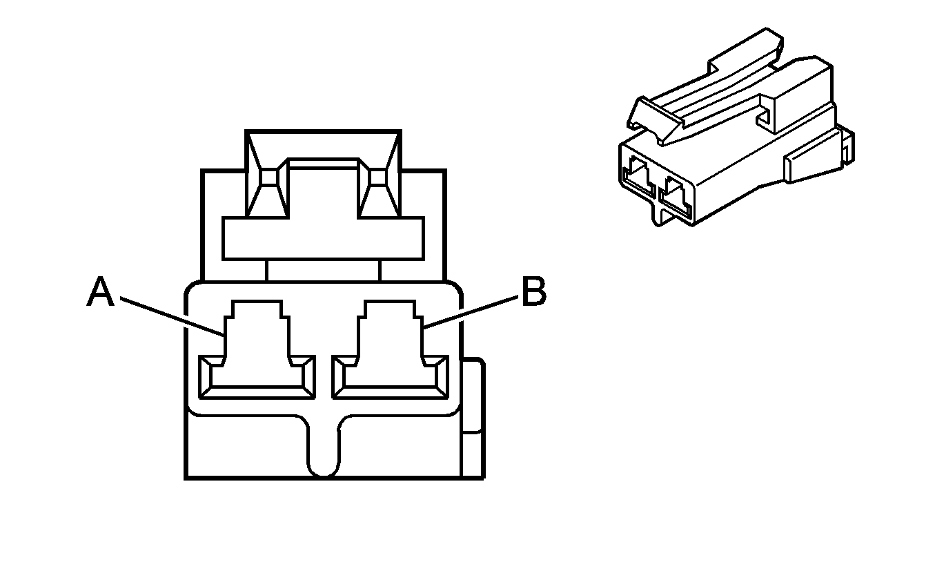
Fresh/Recirculation Air Inlet Actuator


Object Number: 820005  Size: CH

Connector Part Information

  • OEM: DDM70-01399
  • Service: N/A
  • Description: BK

Fresh/Recirculation Air Inlet Actuator

Pin

Wire

Function

1

GN/WH

Fresh Position Control

2

BU/WH

Recirculation Position Control

Blower Motor


Object Number: 820107  Size: CH

Connector Part Information

  • OEM: 90080-11512
  • Service: N/A
  • Description: BK

Blower Motor

Pin

Wire

Function

A

BK

Blower Motor Feed Circuit

B

BK/WH

Blower Motor Resistor Control Circuit

Blower Motor Resistor


Object Number: 334433  Size: CH

Connector Part Information

  • OEM: 90080-98149
  • Service: N/A
  • Description: GY

Blower Motor Resistor

Pin

Wire

Function

A

RD

Ground

B

L-BU

Medium 1

C

BK/WH

Medium 2

D

WH/BK

High

Blower Switch


Object Number: 334424  Size: CH

Connector Part Information

  • OEM: 90080-10877
  • Service: N/A
  • Description: BK

Blower Switch

Pin

Wire

Function

1

BU/WH

Blower Control Medium 2

2

RD

Blower Control Medium 1

3

WH/BK

Illumination Ground

4

BK/WH

Blower Control High

5

WH/BK

Ground

6

BU/WH

Heater Relay Control Circuit

7

--

Not Used

8

GN

Illumination Supply Voltage

Evaporator Temperature Sensor


Object Number: 334401  Size: CH

Connector Part Information

  • OEM: 90980-10928
  • Service: N/A
  • Description: GY

Evaporator Temperature Sensor

Pin

Wire

Function

1

BK/BU

Sensor High

2

BN

Sensor Low

Fan Motor


Object Number: 334401  Size: CH

Connector Part Information

  • OEM: 90980-10928
  • Service: N/A
  • Description: GY

Fan Motor

Pin

Wire

Function

1

WH/RD

Fan Motor Control Circuit

2

BK/RD

Fan Motor Feed Circuit

Fan Resistor


Object Number: 334401  Size: CH

Connector Part Information

  • OEM: 90980-10928
  • Service: N/A
  • Description: GY

Fan Resistor

Pin

Wire

Function

1

WH/BK

Ground

2

BU/WH

Low Speed Fan Control Circuit

Refrigerant Pressure Switch


Object Number: 334403  Size: CH

Connector Part Information

  • OEM: 90980-10943
  • Service: N/A
  • Description: GY

Refrigerant Pressure Switch

Pin

Wire

Function

1

YE

Pressure Signal to PCM

2

WH/BK

Ground

3

L-GN/BK

High Speed Fan Control

4

WH/BK

Ground