GM Service Manual Online
For 1990-2009 cars only
Connector 1: Ambient Light Sensor
Connector 2: Backup Lamp Switch (Manual Transmission)
Connector 3: Center High Mounted Stop Lamp
Connector 4: Cigar Lighter Illumination Lamp
Connector 5: Daytime Running Lamps (DRL) Control Module
Connector 6: Flasher Relay
Connector 7: Front Dome Lamp
Connector 8: Hazard Switch
Connector 9: I/P Lamp Dimmer
Connector 10: Left Backup and Rear Fog Lamp
Connector 11: Left Fog Lamp
Connector 12: Left Front Park/Turn Lamp
Connector 13: Left Headlamp
Connector 14: Left License Plate Lamp
Connector 15: Left Rear Turn Lamp
Connector 16: Left Tail/Stop Lamp
Connector 17: Park/Neutral Position (PNP) Switch
Connector 18: Rear Dome Lamp
Connector 19: Right Backup and Rear Fog Lamp
Connector 20: Right Fog Lamp
Connector 21: Right Front Park/Turn Lamp
Connector 22: Right Headlamp
Connector 23: Right License Plate Lamp
Connector 24: Right Rear Turn Lamp
Connector 25: Right Tail/Stop Lamp
Connector 26: Stop Lamp Switch
Connector 27: Turn Signal/Headlamp Switch

Ambient Light Sensor


Object Number: 334413  Size: CH

Connector Part Information

  • OEM: 90980-11107
  • Service: N/A
  • Description: WH

Ambient Light Sensor

Pin

Wire

Function

1

GN/YE

Daytime Running Lamps Control Module - Sensor Supply Voltage

2

--

Not Used

3

GN/WH

Daytime Running Lamps Control Module - Sensor Ground

4

GN/BK

Daytime Running Lamps Control Module - Sensor Signal

Backup Lamp Switch (Manual Transmission)


Object Number: 334916  Size: CH

Connector Part Information

  • OEM: 90980-11250
  • Service: N/A
  • Description: GY

Backup Lamp Switch (Manual Transmission)

Pin

Wire

Function

1

RD/WH

Backup Lamp Feed Circuit

2

RD/BK

Backup Lamp Control Circuit

Center High Mounted Stop Lamp


Object Number: 334414  Size: CH

Connector Part Information

  • OEM: 90980-11148
  • Service: N/A
  • Description: WH

Center High Mounted Stop Lamp

Pin

Wire

Function

1

GN/WH

Brake Signal

2

WH/BK

Ground

Cigar Lighter Illumination Lamp


Object Number: 334414  Size: CH

Connector Part Information

  • OEM: 90980-11148
  • Service: N/A
  • Description: GY

Cigar Lighter Illumination Lamp

Pin

Wire

Function

1

WH/BK

Illumination Negative

2

GN

Illumination Positive

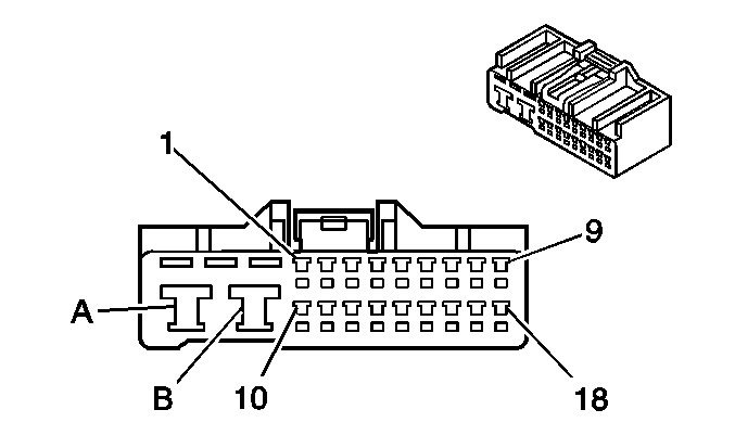
Daytime Running Lamps (DRL) Control Module


Object Number: 820223  Size: CH

Connector Part Information

  • OEM: 90980-12034
  • Service: N/A
  • Description: WH

Daytime Running Lamps (DRL) Control Module

Pin

Wire

Function

A

RD/BK

Low Beam Control

B

WH/BK

Ground

1

RD/BK

Battery Voltage

2

GN/OG

Fog Lamp Relay Control

3

RD

Headlamps ON Indicator Control

4

RD/YE

Headlamp Relay Control

5

RD

Headlamps ON/Low Beam Position

6

YE

Generator Load Signal

7

WH/BK

Ground

8

RD/WH

Brake Signal

9

RD/BK

Park Brake Switch Signal

10

RD/WH

Ignition Voltage

11

WH/RD

DIM Relay Control

12

GN/BK

Tail Relay Control

13

GN/WH

Park Lamps Signal

14

RD/WH

High Beam/Flash Signal

15

--

Not Used

16

GN/RD

Ambient Light Sensor Ground

17

GN/OG

Ambient Light Sensor Signal

18

GN/YE

Ambient Light Sensor Supply Voltage

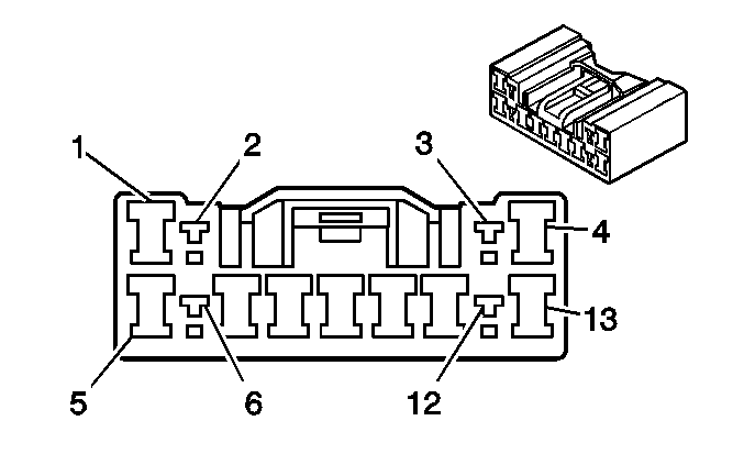
Flasher Relay


Object Number: 899504  Size: CH

Connector Part Information

  • OEM: 90980-10799
  • Service: N/A
  • Description: BK

Flasher Relay

Pin

Wire

Function

1

RD/WH

Ignition Voltage

2

GN/YE

LH Turn Signal Supply Voltage Circuit

3

GN/BK

RH Turn Signal Supply Voltage Circuit

4

GN/WH

Battery Voltage

5

GN/RD

Left Turn Signal/Signal

6

GN/OG

Right Turn Signal/Signal

7

WH/BK

Ground

8

YE/BK

Hazard Switch Control Circuit

Front Dome Lamp


Object Number: 820083  Size: CH

Connector Part Information

  • OEM: 90980-10908
  • Service: N/A
  • Description: WH

Front Dome Lamp

Pin

Wire

Function

1

WH/BK

Ground

2

BU/WH

Front Dome Lamp Feed Circuit

3

RD/YE

Front Dome Lamp Control Circuit

Hazard Switch


Object Number: 334473  Size: CH

Connector Part Information

  • OEM: 90980-10801
  • Service: N/A
  • Description: BK

Hazard Switch

Pin

Wire

Function

1

WH/BK

Ground

2-3

--

Not Used

4

YE/BK

Hazard Control Circuit

5-7

--

Not Used

8

GN

Illumination Lamp Positive

9

WH/BK

Illumination Lamp Negative

10

--

Not Used

I/P Lamp Dimmer


Object Number: 820659  Size: CH

Connector Part Information

  • OEM: 90980-11989
  • Service: N/A
  • Description: BK

I/P Lamp Dimmer

Pin

Wire

Function

1

RD/WH

Courtesy Lamps Control Circuit

2

GN

Instrument Panel Illumination Supply Voltage

3

BK

Instrument Panel Cluster

4

GN

Instrument Panel Lamp Dimmer Feed Circuit

5

WH/RD

Instrument Panel Cluster

6

--

Not Used

7

WH/BK

Ground

8

RD/BK

Front and Rear Dome Lamp Control Circuit

Left Backup and Rear Fog Lamp


Object Number: 820094  Size: CH

Connector Part Information

  • OEM: 90980-11132
  • Service: N/A
  • Description: GY

Left Backup and Rear Fog Lamp

Pin

Wire

Function

1

RD

Rear Fog Lamp Feed Circuit

2

RD/BK

Backup Lamp Feed Circuit

3

WH/BK

Ground

Left Fog Lamp


Object Number: 820254  Size: CH

Connector Part Information

  • OEM: 90980-98038
  • Service: N/A
  • Description: GY

Left Fog Lamp

Pin

Wire

Function

A

WH/BK

Ground

B

RD

Fog Lamp Feed Circuit

Left Front Park/Turn Lamp


Object Number: 334421  Size: CH

Connector Part Information

  • OEM: 90980-11020
  • Service: N/A
  • Description: GY

Left Front Park/Turn Lamp

Pin

Wire

Function

1

GN

Park Lamp Feed Circuit

2

WH/BK

Ground

3

GN/BK

Turn Signal Feed Circuit

Left Headlamp


Object Number: 334948  Size: CH

Connector Part Information

  • OEM: 90980-11314
  • Service: N/A
  • Description: BK

Left Headlamp

Pin

Wire

Function

1

RD/BK

Low Beam Control

2

RD/WH

High Beam Control

3

RD/WH

Headlamp Supply Voltage

Left License Plate Lamp


Object Number: 334414  Size: CH

Connector Part Information

  • OEM: 90980-11148
  • Service: N/A
  • Description: GY

Left License Plate Lamp

Pin

Wire

Function

1

WH/BK

Ground

2

GN

License Plate Lamp Feed Circuit

Left Rear Turn Lamp


Object Number: 335004  Size: CH

Connector Part Information

  • OEM: 90980-10825
  • Service: N/A
  • Description: GY

Left Rear Turn Lamp

Pin

Wire

Function

1

WH/BK

Ground

2

GN/BK

Turn Lamp Feed Circuit

Left Tail/Stop Lamp


Object Number: 820083  Size: CH

Connector Part Information

  • OEM: 90980-10908
  • Service: N/A
  • Description: WH

Left Tail/Stop Lamp

Pin

Wire

Function

1

WH/BK

Ground

2

GN

Tail Lamp Feed Circuit

3

GN/WH

Stop Lamp Feed Circuit

Park/Neutral Position (PNP) Switch


Object Number: 820186  Size: CH

Connector Part Information

  • OEM: 90980-11784
  • Service: N/A
  • Description: GY

Park/Neutral Position (PNP) Switch

Pin

Wire

Function

1

--

Not Used

2

RD/BK

Backup Lamp Supply Voltage

3

RD/WH

PNP Switch Feed Circuit

4

L-GN

2nd Gear Position Signal

5

--

Not Used

6

BK

Start Position Signal

7

BU

Drive Position Signal

8

L-GN/BK

Low Position Signal

9

RD

PNP Switch Feed Circuit

Rear Dome Lamp


Object Number: 820083  Size: CH

Connector Part Information

  • OEM: 90980-10908
  • Service: N/A
  • Description: WH

Rear Dome Lamp

Pin

Wire

Function

1

WH/BK

Ground

2

BU/WH

Rear Dome Lamp Feed Circuit

3

RD/YE

Rear Dome Lamp Control Circuit

Right Backup and Rear Fog Lamp


Object Number: 820094  Size: CH

Connector Part Information

  • OEM: 90980-11132
  • Service: N/A
  • Description: GY

Right Backup and Rear Fog Lamp

Pin

Wire

Function

1

RD

Rear Fog Lamp Feed Circuit

2

RD/BK

Backup Lamp Feed Circuit

3

WH/BK

Ground

Right Fog Lamp


Object Number: 820254  Size: CH

Connector Part Information

  • OEM: 90980-98038
  • Service: N/A
  • Description: GY

Right Fog Lamp

Pin

Wire

Function

A

WH/BK

Ground

B

RD

Fog Lamp Feed Circuit

Right Front Park/Turn Lamp


Object Number: 334421  Size: CH

Connector Part Information

  • OEM: 90980-11020
  • Service: N/A
  • Description: WH

Right Front Park/Turn Lamp

Pin

Wire

Function

1

GN

Right Park Lamp Feed Circuit

2

WH/BK

Ground

3

GN/WH

Right Turn Signal Feed Circuit

Right Headlamp


Object Number: 334948  Size: CH

Connector Part Information

  • OEM: 90980-11314
  • Service: N/A
  • Description: BK

Right Headlamp

Pin

Wire

Function

1

RD/BK

Low Beam Feed Circuit

2

RD/WH

High Beam Feed Circuit

3

RD

Ground

Right License Plate Lamp


Object Number: 334414  Size: CH

Connector Part Information

  • OEM: 90980-11148
  • Service: N/A
  • Description: GY

Right License Plate Lamp

Pin

Wire

Function

1

WH/BK

Ground

2

GN

Right License Plate Lamp Feed Circuit

Right Rear Turn Lamp


Object Number: 335004  Size: CH

Connector Part Information

  • OEM: 90980-10825
  • Service: N/A
  • Description: GY

Right Rear Turn Lamp

Pin

Wire

Function

1

WH/BK

Ground

2

GN/YE

Turn Lamp Feed Circuit

Right Tail/Stop Lamp


Object Number: 820083  Size: CH

Connector Part Information

  • OEM: 90980-10908
  • Service: N/A
  • Description: WH

Right Tail/Stop Lamp

Pin

Wire

Function

1

WH/BK

Ground

2

GN

Tail Lamp Feed Circuit

3

GN/WH

Stop Lamp Feed Circuit

Stop Lamp Switch


Object Number: 334422  Size: CH

Connector Part Information

  • OEM: 90980-11118
  • Service: N/A
  • Description: BU

Stop Lamp Switch

Pin

Wire

Function

1

GN/WH

Stop Lamp Switch Signal Circuit

2

RD/WH

Stop Lamp Switch Feed Circuit

3

GN/OG

Ignition Voltage

4

RD/YE

Cruise Control Module Interrupt Signal

Turn Signal/Headlamp Switch


Object Number: 820208  Size: CH

Connector Part Information

  • OEM: 90980-12007
  • Service: N/A
  • Description: WH

Turn Signal/Headlamp Switch

Pin

Wire

Function

1

--

Not Used

2

RD/YE

Fog Lamp Relay Control - Fog Lamp Switch

3

--

Not Used

4

GN/OG

Fog Lamp Relay Control - DRL Control Module

5

GN/RD

Left Turn Signal/ Signal

6

WH/BK

Ground

7

GN/OG

Right Turn Signal/ Signal

8

RD

Low Beam Signal

9

RD/WH

High Beam Signal

10

WH/BK

Ground

11

WH/BK

Ground

12

RD

Low Beam ON Signal

13

GN/WH

Park Lamps ON Signal