GM Service Manual Online
For 1990-2009 cars only

Special Tools

J-41665-1 Crankshaft Balancer and Sprocket Installer

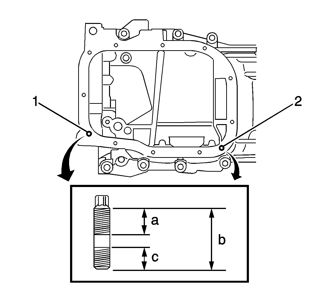
  1. Remove the 2 ring pins.

  2. Object Number: 2017115  Size: SH
  3. Install 2 new ring pins to the crankcase.
  4. Specification
    Standard protrusion (c)-- 3 mm (0.12 in).

  5. Remove the 2 stud bolts from the crankcase.
  6. Caution: Refer to Fastener Caution in the Preface section.


    Object Number: 2017118  Size: SH
  7. Using a TORX socket E5, install the 2 stud bolts (1,2) as shown in the illustration.
  8. Tighten
    Tighten the bolts to 5.0 N·m (44 lb in).

  9. Remove the 2 stud bolts from the water inlet housing.
  10. Using a TORX socket E5, install the 2 stud bolts and tighten to 5.0 N·m (44 lb in).
  11. Replace the spark plug tube gasket.
  12. Note: Do not deform the claws of the baffle plate more than necessary.

  13. Pry up the claws of the ventilation baffle plate.
  14. Note: 

       • Prevent the plug tube gaskets from being deformed as much as possible. The removed gaskets will be used when reinstalling the gaskets.
       • Do not damage the connection of the cylinder head cover.

  15. Remove the 4 gaskets from the cylinder head covers.

  16. Object Number: 2017122  Size: SH
  17. Using a cutter, cut off the sealing part of the removed plug tube gasket.

  18. Object Number: 2017124  Size: SH

    Note: If a plug tube gasket that will be used to install a new gasket is deformed, and cannot be positioned on a new gasket, correct the deformation using pliers.

    Note: 

       • Keep the lip free of foreign matter.
       • Do not tap on the oil seal at an angle.

  19. Using a plug tube gasket which has had the sealing part cut off (1), uniformly press in a new plug tube gasket (2) all the way.
  20. Return the claws (3) of the ventilation baffle plate to their original positions.

  21. Object Number: 2017051  Size: SH
  22. Replace the timing chain cover oil seal.
  23. Note: Tape the screwdriver tip before use.

  24. Remove the oil seal, using a screwdriver and hammer.

  25. Object Number: 2017126  Size: SH
  26. Using J-41998-A installer (1) and a hammer, tap in the oil seal until its surface is flush with the rear oil seal retainer edge.
  27. Note: 

       • Keep the lip free of foreign matter.
       • Do not tap on the oil seal at an angle.
       • Make sure that the oil seal edge does not stick out of the timing chain cover.

  28. Apply a light coat of MP grease to the lip of the oil seal.