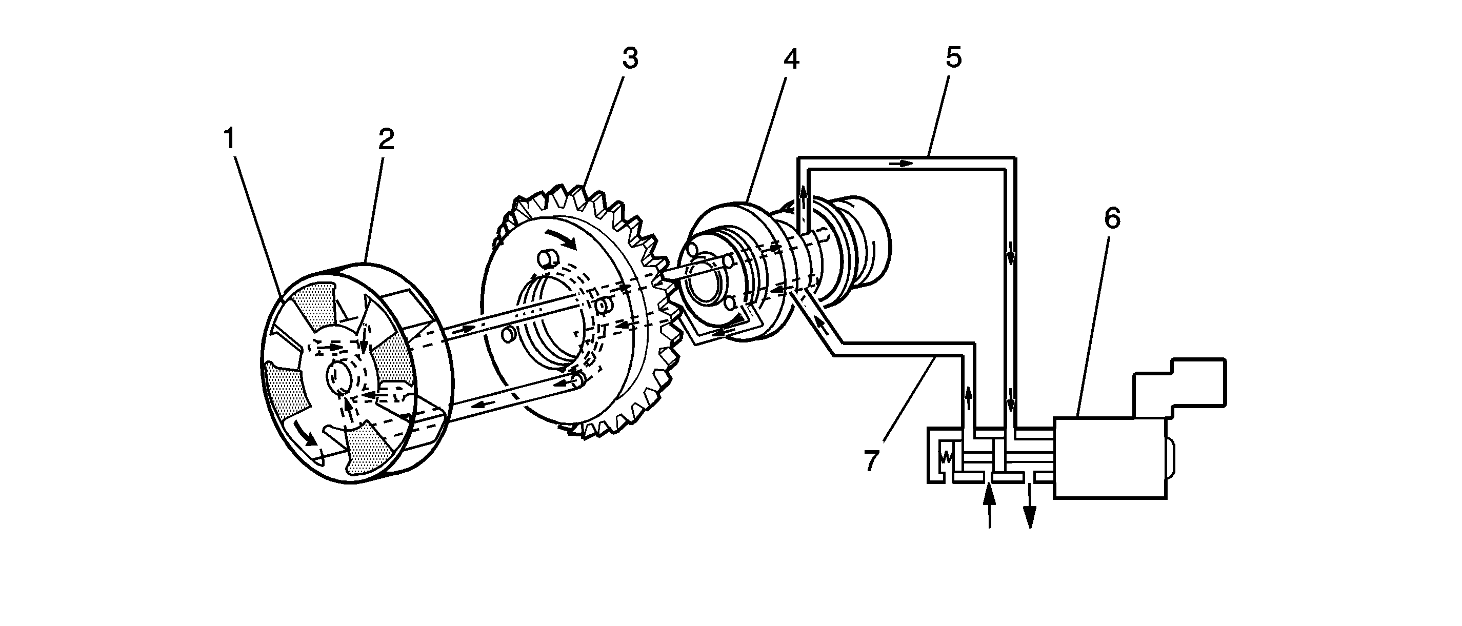
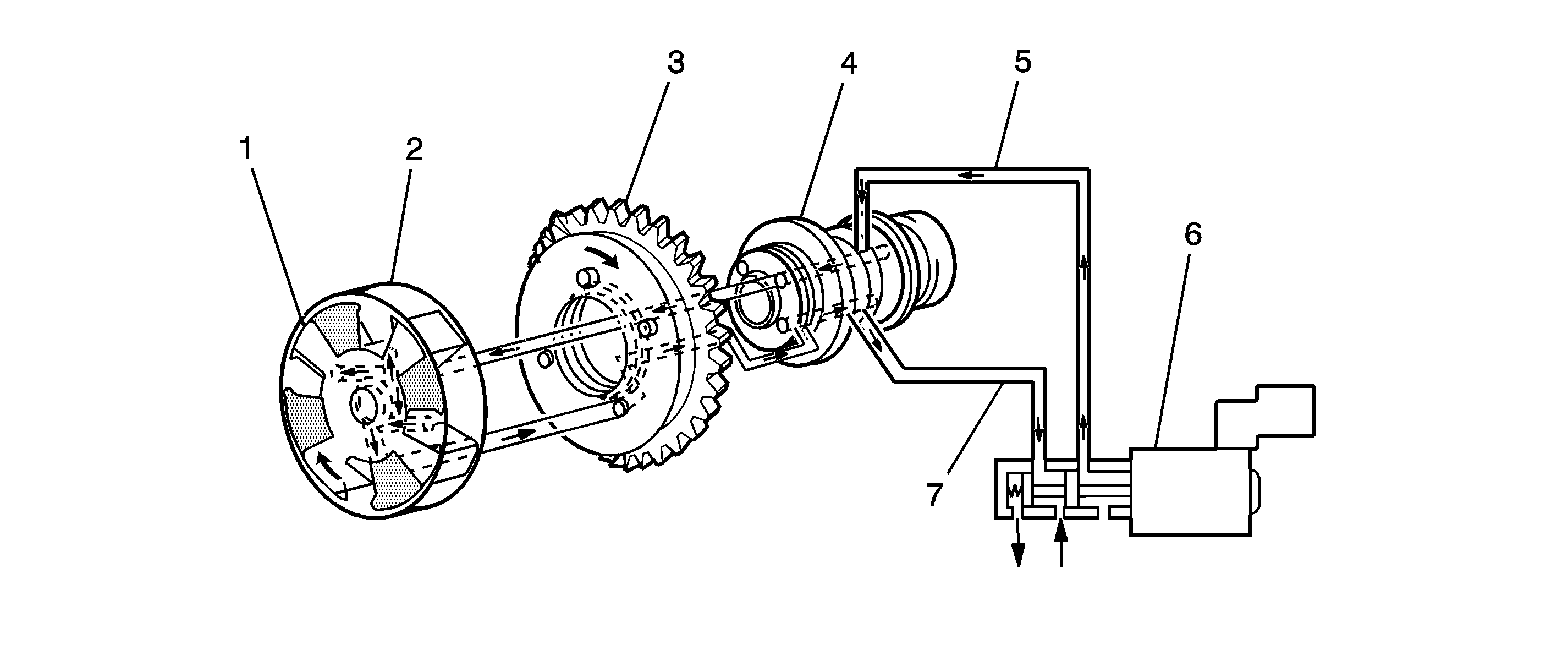
The intake CMP actuator solenoid valve directs the oil flow that controls the camshaft phase movement. The PCM commands the intake camshaft CMP solenoid to move the solenoid plunger (2) and spool valve (1) until oil flows from the advance passage (7)
or the retard passage (8). In most operating conditions the opposite oil return passage is open at the same time as the oil supply passage.