GM Service Manual Online
For 1990-2009 cars only

Catalytic Converter Replacement 2.4L AWD

Removal Procedure

  1. Remove the heated oxygen sensor. Refer to Heated Oxygen Sensor Replacement - Sensor 2.

  2. Object Number: 2016447  Size: SH
  3. Remove the 2 bolts (1) from the front exhaust pipe.

  4. Object Number: 2016446  Size: SH
  5. Remove the two bolts (1) and springs (2) from the muffler assembly.
  6. Remove the center exhaust pipe assembly from the 3 exhaust pipe supports.
  7. Remove the gasket from the front exhaust pipe assembly.

Installation Procedure


    Object Number: 2016447  Size: SH
  1. Install a new gasket to the front exhaust pipe assembly.
  2. Connect the center exhaust pipe assembly to the 3 exhaust pipe supports.
  3. Caution: Refer to Fastener Caution in the Preface section.

  4. Install the center exhaust pipe assembly with the 2 bolts (1, 2).
  5. Tighten
    Tighten the center exhaust pipe bolts to 43 N·m (32 lb ft).


    Object Number: 2016225  Size: SH

    Note: If the free length is less than the minimum 38.5 mm (1.52 in), replace the compression spring.

  6. Using a vernier caliper, measure the free length of the compression springs.
  7. Fully insert a new gasket to the center exhaust pipe assembly.

  8. Object Number: 2016438  Size: SH

    Note: Be sure to install the gasket in the correct direction. Do not reuse the gasket.

  9. Using a plastic hammer and wooden block (2), tap in the new gasket (3) until its surface is flush with the center exhaust pipe assembly (1).

  10. Object Number: 2016446  Size: SH
  11. Install the muffler assembly with the 2 bolts (1) and 2 compression springs (2).
  12. Tighten
    Tighten the tail exhaust pipe bolts to 43 N·m (32 lb ft).

  13. Install the heated oxygen sensor. Refer to Heated Oxygen Sensor Replacement - Sensor 2.
  14. Inspect for exhaust gas leaks.

Catalytic Converter Replacement 2.4L FWD

Removal Procedure


    Object Number: 2016439  Size: SH
  1. Remove the 2 bolts (1) and 2 compression springs (2) from the muffler assembly.
  2. Remove the gasket from the center exhaust pipe assembly.
  3. Remove heated oxygen sensor. Refer to Heated Oxygen Sensor Replacement - Sensor 2

  4. Object Number: 2016441  Size: SH
  5. Remove the 2 bolts (1) from the front exhaust pipe assembly.
  6. Remove the center exhaust pipe assembly from the 2 exhaust pipe supports.
  7. Remove the gasket from the front exhaust pipe assembly.
  8. Remove the center exhaust pipe assembly.

Installation Procedure


    Object Number: 2016225  Size: SH

    Note: If the free length is less than the minimum 38.5 mm (1.52 in), replace the compression spring.

  1. Using a vernier caliper, measure the free length of the compression springs.
  2. Fully insert a new gasket to the center exhaust pipe assembly.

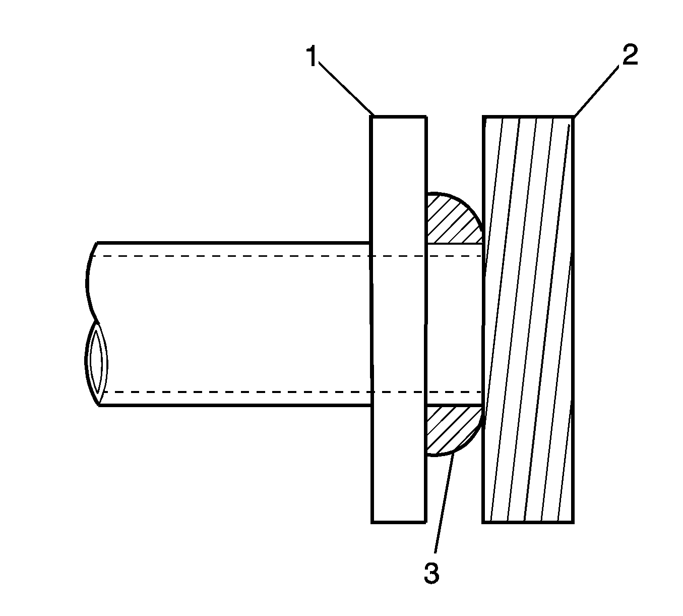
  3. Object Number: 2016438  Size: SH

    Note: Be sure to install the gasket in the correct direction. Do not reuse the gasket.

  4. Using a plastic hammer and wooden block (2) , tap in the new gasket (3) until its surface is flush with the center exhaust pipe assembly (1).
  5. Connect the center exhaust pipe assembly to the 2 exhaust pipe supports.
  6. Caution: Refer to Fastener Caution in the Preface section.


    Object Number: 2016439  Size: SH
  7. Install the muffler assembly with the 2 bolts (1) and 2 compression springs (2). Tighten the bolts to 43 N·m (32 lb ft).

  8. Object Number: 2016441  Size: SH
  9. Install a new gasket to the front exhaust pipe assembly.
  10. Install the center exhaust pipe assembly with the 2 bolts and tighten to 43 N·m (32 lb ft).
  11. Install the heated oxygen sensor. Refer to Heated Oxygen Sensor Replacement - Sensor 2
  12. Inspect for exhaust gas leaks.

Catalytic Converter Replacement 1.8L

Removal Procedure

  1. Remove heated oxygen sensor. Refer to Heated Oxygen Sensor Replacement - Sensor 2

  2. Object Number: 2016461  Size: SH
  3. Remove the 2 bolts and 2 compression springs from the front pipe assembly.

  4. Object Number: 2016460  Size: SH
  5. Remove the 2 bolts (1) and 2 compression springs (2) from the rear muffler assembly.
  6. Remove the pipe assembly from the 2 exhaust pipe supports.

Installation Procedure


    Object Number: 2016225  Size: SH

    Note: If the free length is less than the minimum 41.5 mm (1.63 in), replace the compression spring.

  1. Using a vernier caliper, measure the free length of the compression springs.

  2. Object Number: 2016435  Size: SH
  3. Fully insert a new gasket to the exhaust manifold.
  4. Note: Be sure to install the gasket in the correct direction. Do not reuse the gasket.

  5. Using a plastic hammer and wooden block (2) , tap in the new gasket (3) until its surface is flush with the exhaust manifold.

  6. Object Number: 2016461  Size: SH
  7. Connect the front exhaust pipe assembly to the 2 exhaust pipe supports.
  8. Caution: Refer to Fastener Caution in the Preface section.

    Note: If the free length is less than the minimum 38.5 mm (1.52 in), replace the compression spring.

  9. Install the front exhaust pipe assembly with the 2 bolts (1, 2) and 2 compression springs. Tighten the bolts to 43 N·m (32 lb ft).
  10. Install heated oxygen sensor.

  11. Object Number: 2016225  Size: SH
  12. Using a vernier caliper, measure the free length of the compression springs.

  13. Object Number: 2016468  Size: SH
  14. Fully insert a new gasket to the front exhaust pipe assembly.
  15. Note: Be sure to install the gasket in the correct direction.

  16. Using a plastic hammer and wooden block (2), tap in the new gasket (3) until its surface is flush with the front exhaust pipe assembly (1).

  17. Object Number: 2016460  Size: SH
  18. Install the tail exhaust pipe assembly with the 2 bolts (1) and 2 compression springs (2). Tighten the bolts to 43 N·m (32 lb ft).
  19. Inspect for exhaust gas leak.