GM Service Manual Online
For 1990-2009 cars only

Removal Procedure

  1. Lower the following components as an assembly as far as necessary in order to access the stabilizer shaft insulators. Refer to Front Suspension Crossmember Replacement.
  2. • The front suspension crossmember
    • The trans support
    • The front control arms
    • The stabilizer shaft
    • The stabilizer shaft links
    • The stabilizer shaft clamps
    • The stabilizer shaft insulators

    Object Number: 1464391  Size: SH
  3. Remove the 4 bolts from the stabilizer shaft clamps.
  4. Remove the 2 stabilizer shaft clamps.
  5. Remove the 2 stabilizer shaft insulators.

Installation Procedure

  1. Position the stabilizer shaft on the crossmember.

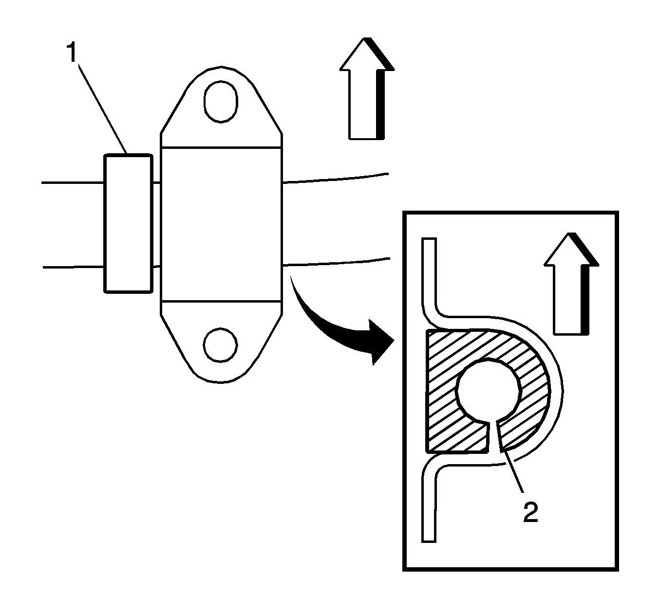
  2. Object Number: 2011397  Size: SH
  3. Install the 2 stabilizer shaft insulators to the outer side of the rings (1) on the stabilizer shaft. Position the cutout (2) in the insulator toward the rear of the vehicle.
  4. Install the 2 clamps to the insulators.
  5. Caution: Refer to Fastener Caution in the Preface section.


    Object Number: 1464391  Size: SH
  6. Install the 4 bolts to the clamps. Tighten the bolts to 24 N·m (18 lb ft).
  7. Install the stabilizer shaft and the crossmember to the vehicle. Refer to Front Suspension Crossmember Replacement.