GM Service Manual Online
For 1990-2009 cars only

Lower Control Arm Replacement All Wheel Drive and GT

Special Tools

EN-49191 Torque Wrench Adapter

Removal Procedure

  1. Raise and support the vehicle. Refer to Lifting and Jacking the Vehicle.
  2. Remove the rear tire and wheel assembly. Refer to Tire and Wheel Removal and Installation.

  3. Object Number: 2013387  Size: SH
  4. If you are removing the left rear lower control arm, remove the 2 bolts (1, 2) and the rear floor side member brace.

  5. Object Number: 829791  Size: SH
  6. Remove the 2 bolts (2, 3) in order to separate the park brake cable (1) from the lower control arm.

  7. Object Number: 2010401  Size: SH
  8. Use a wrench (1) in order to hold the lower stud on the stabilizer shaft link. Remove the nut in order to separate the lower stabilizer shaft link stud from the knuckle.

  9. Object Number: 2013322  Size: SH
  10. Loosen, but do not remove, the nut and the bolt (1) at the bottom of the shock absorber.

  11. Object Number: 2013388  Size: SH
  12. Loosen, but do not remove, the nut (1) on the lower control arm bracket.
  13. Support the lower control arm with a jack.

  14. Object Number: 2013389  Size: SH
  15. Remove the nut (1) and the bolt from the front of the lower control arm.

  16. Object Number: 2013390  Size: SH
  17. Use paint in order to place match marks on the cam bolt (2) and on the lower control arm (1).

  18. Object Number: 829425  Size: SH
  19. Use paint in order to place match marks on the adjust cam (1) and on the lower control arm (2).
  20. Remove the nut (3) from the adjust cam and from the cam bolt.
  21. Remove the adjust cam.
  22. Remove the cam bolt.
  23. Separate the control arm from the knuckle.

  24. Object Number: 2013322  Size: SH
  25. Remove the nut and the bolt (1) from the shock absorber.
  26. Separate the lower control arm from the shock absorber.

  27. Object Number: 2013391  Size: SH
  28. Hold the nut and remove the bolt (1) from the control arm.
  29. Separate the control arm from the rear suspension support crossmember.

  30. Object Number: 2013392  Size: SH
  31. Remove the 3 bolts (1, 2, 3) from the lower control arm bracket.
  32. Remove the control arm from the vehicle.

  33. Object Number: 2013393  Size: SH
  34. Remove the nut (1) and the bracket from the control arm.

  35. Object Number: 2013394  Size: SH
  36. Remove the insulator (1) from the control arm.

  37. Object Number: 2013386  Size: SH
  38. If necessary, use a press in order to remove the bushing (1) from the lower control arm.

Installation Procedure

  1. If you are replacing the rear lower control arm, copy the match marks from the old components to the new components.

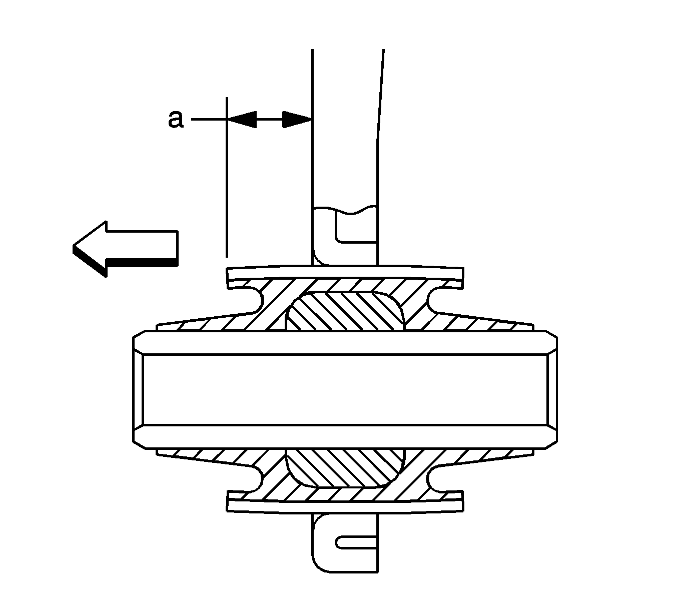
  2. Object Number: 2013397  Size: SH

    Note: Install the bushing in the correct position.

  3. If you removed the bushing from the control arm, use a press in order to install the bushing.
  4. Specification
    The distance (a) is 15 ± 0.5 mm (0.59 ± 0.02 in).


    Object Number: 2013394  Size: SH

    Note: Install the insulator in the correct position.

  5. Install the insulator (1) to the control arm.

  6. Object Number: 2013393  Size: SH
  7. Install the bracket to the control arm.
  8. Note: Do not tighten the nuts or the bolts. The weight of the vehicle must be on the tire and wheel assemblies before tightening the nuts and the bolts.

  9. Install, but do not tighten, the nut (1) to the control arm.
  10. Raise and support the lower control arm with a jack.

  11. Object Number: 2013322  Size: SH
  12. Install the control arm to the shock absorber.
  13. Install, but do not tighten, the nut and the bolt (1) to the shock absorber.

  14. Object Number: 2013391  Size: SH
  15. Install the control arm to the rear suspension support crossmember.
  16. Install, but do not tighten, the nut and the bolt (1).
  17. Caution: Refer to Fastener Caution in the Preface section.


    Object Number: 2013392  Size: SH
  18. Install the 3 bolts (1, 2, 3) and the lower control arm bracket to the body. Tighten the bolts to 65 N·m (48 lb ft).

  19. Object Number: 2013389  Size: SH
  20. Install the control arm to the knuckle.
  21. Install, but do not tighten, the bolt and the nut (1) to the front of the lower control arm.

  22. Object Number: 2013390  Size: SH
  23. Align the match marks and install the cam bolt (2) to the rear of the lower control arm (1).

  24. Object Number: 829425  Size: SH
  25. Align the match marks and install the adjust cam (1) to the cam bolt.
  26. Install, but do not tighten, the nut (3).

  27. Object Number: 2010492  Size: SH
  28. Install the nut in order to retain the stabilizer shaft link stud to the knuckle. Use a wrench (2) in order to hold the stud. Tighten the nut to 44 N·m (32 lb ft).

  29. Object Number: 829791  Size: SH
  30. Install the 2 bolts (2, 3) in order to retain the park brake cable (1) to the lower control arm. Tighten the bolts to 6 N·m (53 lb in).

  31. Object Number: 2013387  Size: SH
  32. If you installed the left rear lower control arm, install the rear floor side member brace with the 2 bolts (1, 2). Tighten the bolts to 30 N·m (22 lb ft).
  33. Lower the vehicle.
  34. Raise and support the vehicle on a wheel alignment rack. Refer to Lifting and Jacking the Vehicle.
  35. With the weight of the vehicle on the tires, push down on the rear bumper 3 times in order to stabilize the suspension.

  36. Object Number: 2013398  Size: SH
  37. Select a torque wrench with the correct fulcrum length (a).
  38. Specification
    The torque wrench fulcrum length is 425 mm (16.73 in).

    Note: Ensure the torque wrench is parallel to the EN-49191 adapter .

  39. Use a wrench in order to hold the nut that retains the lower control arm to the rear suspension support crossmember. Use the EN-49191 adapter  (1) and the torque wrench in order to tighten the bolt to 64 N·m (47 lb ft).

  40. Object Number: 2013389  Size: SH
  41. Use a wrench in order to hold the nut (1) that retains the front of the lower control arm to the knuckle. Tighten the bolt to 140 N·m (103 lb ft).

  42. Object Number: 2013390  Size: SH
  43. Align the match marks on the cam bolt (2) and on the control arm (1).

  44. Object Number: 829425  Size: SH
  45. Align the match marks on the adjust cam (1) and on the control arm (2).
  46. Tighten the nut (3) that retains the rear of the lower control arm to the knuckle to 74 N·m (55 lb ft).

  47. Object Number: 2013399  Size: SH
  48. Select a torque wrench with the correct fulcrum length (a).
  49. Specification
    The torque wrench fulcrum length is 425 mm (16.73 in).

    Note: Ensure the torque wrench is parallel to the EN-49191 adapter .

  50. Use the EN-49191 adapter  (1) and the torque wrench in order to tighten the nut on the control arm bracket to 81 N·m (60 lb ft).

  51. Object Number: 2013322  Size: SH
  52. Tighten the nut and the bolt (1) on the shock absorber to 210 N·m (155 lb ft).
  53. Measure the wheel alignment. Adjust the wheel alignment if necessary. Refer to Wheel Alignment Measurement.
  54. Remove the jacks.
  55. Lower the vehicle.