GM Service Manual Online
For 1990-2009 cars only

Clutch Assembly Replacement MVE Manual Transmission

Removal Procedure


    Object Number: 2024900  Size: SH
  1. Remove the manual transaxle assembly. Refer to Transmission Replacement.
  2. Remove the clutch release fork with the clutch release bearing from the manual transaxle.

  3. Object Number: 2024913  Size: SH
  4. Remove the clutch release fork boot from the manual transaxle.

  5. Object Number: 2024905  Size: SH
  6. Remove the release bearing and clip from the clutch release fork.

  7. Object Number: 2024922  Size: SH
  8. Remove the release fork support (1) from the manual transaxle.

  9. Object Number: 2024924  Size: SH
  10. Put matchmarks (1) on the clutch cover assembly and the flywheel sub-assembly.
  11. Loosen each bolt (2) one turn at a time until the spring tension is released.
  12. Remove the bolts and pull off the clutch cover.
  13. Remove the clutch disc assembly.

  14. Object Number: 2024986  Size: SH
  15. Using vernier calipers, measure the rivet head depth.
  16. Specification
    Minimum rivet depth: 0.3 mm (0.012 in)

  17. If necessary, replace the clutch disc assembly.
  18. Note: Insert the clutch disc assembly in the correct direction.

  19. Install the clutch disc assembly onto the transaxle assembly.

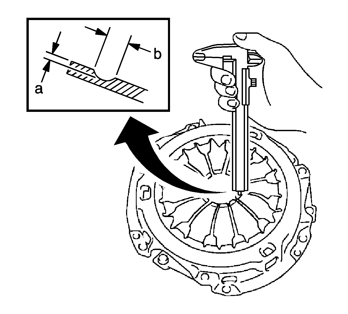
  20. Object Number: 2025047  Size: SH
  21. Using a dial indicator (1), measure the clutch disc assembly runout.
  22. Specification
    Maximum runout: 0.8 mm (0.031 in).

  23. If necessary, replace the clutch disc assembly.

  24. Object Number: 2025063  Size: SH
  25. Using vernier calipers, measure the depth (a) and width (b) of the diaphragm spring wear.
  26. If necessary, replace the clutch cover assembly.


    Object Number: 2025067  Size: SH
  27. Using a dial indicator (1), measure the flywheel sub-assembly runout.
  28. Specification
    Maximum runout: 0.1 mm (0.004 in)

  29. If necessary, replace the flywheel sub-assembly.

  30. Object Number: 2025070  Size: SH
  31. Check that the clutch release bearing assembly moves smoothly without abnormal resistance by turning the sliding parts of the clutch release bearing assembly--contact surfaces with the clutch cover--while applying force in the axial direction.
  32. Inspect the clutch release bearing assembly for damage and wear.
  33. If necessary, replace the release bearing assembly.

Spring Wear Maximum Dimensions

A (Depth)

B (Width)

0.5 mm (0.020 in)

6.0 mm (0.236 in)

Installation Procedure


    Object Number: 2025075  Size: SH

    Note: Insert the clutch disc assembly in the correct direction.

  1. Insert a clutch pilot tool (1) into the clutch disc assembly, then insert them both into the flywheel sub-assembly.

  2. Object Number: 2025083  Size: SH
  3. Align the matchmark (2) on the clutch cover assembly with the one on the flywheel sub-assembly.
  4. Caution: Refer to Fastener Caution in the Preface section.

    Note: 

       • Tighten the bolts evenly one turn at a time.
       • Move the pilot tool (1) up and down, right and left lightly after checking that the disc is in the center, and tighten the bolts.

  5. Tighten the bolts in order, starting with the bolt located near the knock pin at the top to 19 N·m (14 lb ft).

  6. Object Number: 2025087  Size: SH
  7. Using a dial indicator with a roller instrument (1), check the diaphragm spring tip alignment.
  8. Specification
    Maximum non-alignment: 0.9 mm (0.035 in)

  9. If the alignment is not as specified, adjust the diaphragm spring tip alignment.

  10. Object Number: 2024922  Size: SH
  11. Install the release fork support (1) onto the transaxle assembly and tighten to 37 N·m (27 lb ft).

  12. Object Number: 2024913  Size: SH
  13. Install the clutch release fork boot to the manual transaxle.

  14. Object Number: 2025093  Size: SH
  15. Apply grease to the contact surfaces of the release fork, release bearing assembly, release fork push rod, and release fork support.
  16. Install the release fork onto the release bearing assembly with the clip.

  17. Object Number: 2025103  Size: SH
  18. Apply grease to the input shaft spline.
  19. Install the clutch release bearing with the release fork onto the transaxle assembly.
  20. Install the manual transaxle assembly. Refer to Transmission Replacement.

Clutch Assembly Replacement MVC Manual Transmission

Removal Procedure


    Object Number: 2011203  Size: SH
  1. Remove the manual transaxle assembly. Refer to Transmission Replacement.
  2. Remove the clutch release fork with the clutch release bearing from the transaxle assembly.
  3. Remove the release bearing hub clip and clutch release bearing assembly from the clutch release fork.

  4. Object Number: 2011189  Size: SH
  5. Remove the release fork support (1) from the manual transaxle assembly.
  6. Remove the clutch release fork boot.

  7. Object Number: 2025115  Size: SH
  8. Put matchmarks (1) on the clutch cover assembly and flywheel sub-assembly.
  9. Loosen the bolts one turn at a time until the spring tension is released.
  10. Remove the bolts and pull off the clutch cover assembly.
  11. Remove the clutch disc assembly.

  12. Object Number: 2024986  Size: SH
  13. Using vernier calipers, measure the rivet head depth.
  14. Specification
    Minimum rivet depth: 0.3 mm (0.012 in)

  15. If necessary, replace the clutch disc assembly.

  16. Object Number: 2025138  Size: SH
  17. Install the clutch disc assembly to the transaxle assembly.
  18. Using a dial indicator with a roller instrument, measure the clutch disc assembly runout.
  19. Specification
    Maximum runout: 0.8 mm (0.031 in)

  20. If necessary, replace the clutch disc assembly.

  21. Object Number: 2025129  Size: SH
  22. Using vernier calipers, inspect the diaphragm spring for depth (a) and width (b) of wear.
  23. If necessary, replace the clutch cover assembly.

    Specification

    • Maximum A (Depth): 0.5 mm (0.020 in)
    • Maximum B (Width): 6.0 mm (0.236 in)

    Object Number: 2025139  Size: SH
  24. Using a dial indicator, measure the flywheel runout.
  25. Specification
    Maximum runout: 0.1 mm (0.004 in)

  26. If necessary, replace the flywheel sub-assembly.

  27. Object Number: 2025136  Size: SH
  28. Check that the bearing moves smoothly without abnormal resistance by turning the sliding parts of the bearing--contact surfaces with the clutch cover--while applying force in the axial direction.
  29. Inspect the bearing for damage or wear. If necessary, replace the release bearing assembly.
  30. Using a dial indicator with a roller instrument, check the diaphragm spring tip alignment.
  31. Specification
    Maximum variation: 0.5 mm (0.020 in)

  32. If the alignment is not as specified, adjust the diaphragm spring tip alignment with a clutch pilot tool.

Installation Procedure


    Object Number: 2025140  Size: SH
  1. Insert a clutch pilot tool (1) into the clutch disc assembly, then insert them into the flywheel assembly.

  2. Object Number: 2025144  Size: SH
  3. Align the matchmarks (5) on the clutch cover assembly with the one on the flywheel sub-assembly.
  4. Caution: Refer to Fastener Caution in the Preface section.

    Note: 

       • Evenly tighten the bolts one turn at a time.
       • Lightly move the clutch pilot tool up and down, and right and left after checking that the disc is centered and tighten the bolts.

  5. Tighten the bolts (2-4, 6-8) in order, starting with the bolt located near the knock pin at the top to 19 N·m (14 lb ft).

  6. Object Number: 2011189  Size: SH
  7. Install the release fork support (1) to the manual transaxle assembly and tighten to 47 N·m (35 lb ft).
  8. Install the release bearing hub clip to the release bearing assembly.

  9. Object Number: 2025159  Size: SH
  10. Apply grease to the contact surfaces between the release fork, release bearing, fork, push rod, and fork support.
  11. Install the release fork to the release bearing assembly.

  12. Object Number: 2025158  Size: SH
  13. Apply grease to the input shaft spline (1).

  14. Object Number: 2011203  Size: SH

    Note: After installation, move the fork back and forth to check that the release bearing slides smoothly.

  15. Install the release fork with the release bearing assembly to the manual transaxle assembly.
  16. Install the clutch release fork boot.
  17. Install the manual transaxle assembly. Refer to Transmission Replacement.