GM Service Manual Online
For 1990-2009 cars only
Connector 1: A/C Compressor Clutch
Connector 2: A/C Refrigerant Pressure Sensor
Connector 3: Accelerator Pedal Position (APP) Sensor
Connector 4: Accessory AC/DC Power Control Module
Connector 5: Accessory Power Inverter Module
Connector 6: Accessory Power Outlet - 110V AC
Connector 7: Ambient Air Temperature Sensor
Connector 8: Ambient Light Sensor
Connector 9: Audio Amplifier X1 (U65)
Connector 10: Audio Amplifier X2 (U65)
Connector 11: Automatic Transmission Input Shaft Speed (ISS) Sensor
Connector 12: Automatic Transmission Output Shaft Speed (OSS) Sensor
Connector 13: Automatic Transmission Shift Lever
Connector 14: Automatic Transmission Shift Lever Position Indicator
Connector 15: Automatic Transmission Shift Lock Control Solenoid
Connector 16: Backup Lamp Switch (LAY)
Connector 17: Backup Lamp Switch (LAX)
Connector 18: Blower Motor
Connector 19: Blower Motor Resistor
Connector 20: Blower Motor Switch
Connector 21: Body Control Module (BCM)
Connector 22: Brake Fluid Level Switch
Connector 23: Camshaft Position (CMP) Actuator Solenoid Valve - Bank 2 Exhaust (LAY)
Connector 24: Camshaft Position (CMP) Actuator Solenoid Valve - Bank 2 Intake (LAY)
Connector 25: Camshaft Position (CMP) Actuator Solenoid Valve - Bank 2 Intake (LAX)
Connector 26: Camshaft Position (CMP) Sensor (LAX)
Connector 27: Camshaft Position (CMP) Sensor - Bank 2 Exhaust (LAY)
Connector 28: Camshaft Position (CMP) Sensor - Bank 2 Intake (LAY)
Connector 29: Center High Mounted Stop Lamp (CHMSL)
Connector 30: Cigar Lighter
Connector 31: Cigar Lighter Illumination Lamp
Connector 32: Clutch Start Switch
Connector 33: Courtesy/Reading Lamps - 2nd Row
Connector 34: Courtesy/Reading Lamps - 3rd Row
Connector 35: Crankshaft Position (CKP) Sensor (LAX)
Connector 36: Crankshaft Position (CKP) Sensor (LAY)
Connector 37: Cruise Control Switch
Connector 38: Daytime Running Lights (DRL) Module
Connector 39: Data Link Connector (DLC)
Connector 40: Digital Radio Receiver
Connector 41: Dome/Courtesy Reading Lamps (CF5)
Connector 42: Dome/Courtesy Reading Lamps (without CF5)
Connector 43: Door Jamb Switch - Driver
Connector 44: Door Jamb Switch - Left Rear
Connector 45: Door Jamb Switch - Passenger
Connector 46: Door Jamb Switch - Right Rear
Connector 47: Door Lock Actuator - Driver
Connector 48: Door Lock Actuator - Left Rear
Connector 49: Door Lock Actuator - Passenger
Connector 50: Door Lock Actuator - Right Rear
Connector 51: Door Lock Switch - Driver (without A31)
Connector 52: Door Lock Switch - Passenger
Connector 53: Door Lock/Window Switch - Driver (A31)
Connector 54: Electronic Brake Control Module (EBCM)
Connector 55: Electric Power Steering (EPS) Module X1
Connector 56: Electric Power Steering (EPS) Module X2
Connector 57: Electric Power Steering (EPS) Module X3
Connector 58: Electric Power Steering (EPS) Module X4
Connector 59: Engine Coolant Temperature (ECT) Sensor
Connector 60: Engine Cooling Fan - Right
Connector 61: Engine Cooling Fan - Left
Connector 62: Engine Oil Pressure (EOP) Switch
Connector 63: Evaporative Emissions (EVAP) Canister Purge Solenoid Valve
Connector 64: Evaporator Temperature Sensor
Connector 65: Evaporative Emission (EVAP) Canister Vent Solenoid Valve
Connector 66: Fan Control Module
Connector 67: Fog Lamp - Left Front
Connector 68: Fog Lamp - Right Front
Connector 69: Fuel Injector 1 (LAY)
Connector 70: Fuel Injector 1 (LAX)
Connector 71: Fuel Injector 2 (LAY)
Connector 72: Fuel Injector 2 (LAX)
Connector 73: Fuel Injector 3 (LAY)
Connector 74: Fuel Injector 3 (LAX)
Connector 75: Fuel Injector 4 (LAY)
Connector 76: Fuel Injector 4 (LAX)
Connector 77: Fuel Pump and Sender Assembly
Connector 78: Fuel Pump and Sender Assembly - Secondary (F46)
Connector 79: Generator
Connector 80: Hazard Warning Switch
Connector 81: Headlamp - Left High Beam
Connector 82: Headlamp - Left Low Beam
Connector 83: Headlamp - Right High Beam
Connector 84: Headlamp - Right Low Beam
Connector 85: Heated Oxygen Sensor (HO2S) Bank 1 Sensor 2 (LAX without F46))
Connector 86: Heated Oxygen Sensor (HO2S) Bank 1 Sensor 1 (LAX)
Connector 87: Heated Oxygen Sensor (HO2S) Bank 1 Sensor 1 (LAY)
Connector 88: Heated Oxygen Sensor (HO2S) Bank 1 Sensor 2 (LAX with F46)
Connector 89: Horn
Connector 90: Horn Switch
Connector 91: HVAC Control Module X1
Connector 92: HVAC Control Module X2
Connector 93: HVAC Heater Element X1
Connector 94: HVAC Heater Element X2
Connector 95: HVAC Mode Switch
Connector 96: HVAC Temperature Switch
Connector 97: Ignition Coil 1
Connector 98: Ignition Coil 2
Connector 99: Ignition Coil 3
Connector 100: Ignition Coil 4
Connector 101: Ignition Key Alarm Switch
Connector 102: Ignition Lock Cylinder Control Solenoid
Connector 103: Ignition Switch
Connector 104: Inflatable Restraint Front End Sensor - Left
Connector 105: Inflatable Restraint Front End Sensor - Right
Connector 106: Inflatable Restraint Front Passenger Presence System (PPS) Module
Connector 107: Inflatable Restraint Front Passenger Presence System (PPS) Sensor
Connector 108: Inflatable Restraint I/P Module X1
Connector 109: Inflatable Restraint I/P Module X2
Connector 110: Inflatable Restraint Roof Rail Module - Left
Connector 111: Inflatable Restraint Roof Rail Module - Right
Connector 112: Inflatable Restraint Seat Belt Tension Sensor -- Passenger
Connector 113: Inflatable Restraint Seat Position Sensor - Passenger
Connector 114: Inflatable Restraint Side Impact Module - Left
Connector 115: Inflatable Restraint Side Impact Module - Right
Connector 116: Inflatable Restraint Side Impact Sensor (SIS) - Left
Connector 117: Inflatable Restraint Side Impact Sensor (SIS) - Left Rear
Connector 118: Inflatable Restraint Side Impact Sensor (SIS) - Right
Connector 119: Inflatable Restraint Side Impact Sensor (SIS) - Right Rear
Connector 120: Inflatable Restraint Sensing and Diagnostic Module (SDM) X1
Connector 121: Inflatable Restraint Sensing and Diagnostic Module (SDM) X2
Connector 122: Inflatable Restraint Sensing and Diagnostic Module (SDM) X3
Connector 123: Inflatable Restraint Steering Wheel Module X1
Connector 124: Inflatable Restraint Steering Wheel Module X2
Connector 125: Inflatable Restraint Steering Wheel Module Coil X1
Connector 126: Inflatable Restraint Steering Wheel Module Coil X2
Connector 127: Inflatable Restraint Steering Wheel Module Coil X3
Connector 128: Inflatable Restraint Steering Wheel Module Coil X4
Connector 129: Inflatable Restraint Steering Wheel Module Coil X5
Connector 130: Inside Rearview Mirror (ISRVM) (UE1)
Connector 131: Instrument Panel Cluster (IPC)
Connector 132: Knock Sensor (KS)
Connector 133: License Lamp
Connector 134: Liftgate Latch Assembly
Connector 135: Mass Air Flow (MAF) Sensor
Connector 136: Outside Rearview Mirror (OSRVM) - Driver
Connector 137: Outside Rearview Mirror (OSRVM) - Passenger
Connector 138: Outside Rearview Mirror (OSRVM) Switch
Connector 139: Parking Brake Switch
Connector 140: Park/Neutral Position (PNP) Switch
Connector 141: Park/Turn Signal Lamp - Left
Connector 142: Park/Turn Signal Lamp - Right
Connector 143: Powertrain Control Module (PCM) X1 (LAY)
Connector 144: Powertrain Control Module (PCM) X1 (LAX)
Connector 145: Powertrain Control Module (PCM) X2 (LAY)
Connector 146: Powertrain Control Module (PCM) X2 (LAX)
Connector 147: Radio X1
Connector 148: Radio X2
Connector 149: Radio Antenna
Connector 150: Radio Noise Suppression Capacitor
Connector 151: Radio Rear Window Defogger Capacitor
Connector 152: Rear Window Washer Fluid Pump
Connector 153: Rear Window Wiper Motor
Connector 154: Recirculation Actuator
Connector 155: Remote Control Door Lock Receiver (RCDLR)
Connector 156: Seat Belt Buckle - Driver
Connector 157: Seat Belt Buckle - Passenger
Connector 158: Seat Belt Pretensioner - Driver
Connector 159: Seat Belt Pretensioner - Passenger
Connector 160: Security Indicator Lamp
Connector 161: Serial Data Gateway (SDG) Module
Connector 162: Speaker - Left Front
Connector 163: Speaker - Left Front Tweeter (U65)
Connector 164: Speaker - Left Rear
Connector 165: Speaker - Right Front
Connector 166: Speaker - Right Front Tweeter (U65)
Connector 167: Speaker - Right Rear
Connector 168: Speaker - Subwoofer (U65)
Connector 169: Starter X2
Connector 170: Starter Diode (LAY)
Connector 171: Steering Angle Sensor
Connector 172: Stop Lamp Switch
Connector 173: Sunroof Control Module
Connector 174: Tail Lamp - Left
Connector 175: Tail Lamp - Right
Connector 176: Theft Deterrent Alarm Siren
Connector 177: Theft Deterrent Module (TDM) X1
Connector 178: Theft Deterrent Module (TDM) X2
Connector 179: Theft Deterrent Shock Sensor
Connector 180: Theft Deterrent Shock Sensor Microphone
Connector 181: Throttle Body
Connector 182: Tire Pressure Indicator Reset Switch
Connector 183: Tire Pressure Module
Connector 184: Tire Pressure Receiver - Left Rear
Connector 185: Transfer Case Clutch Coil (F46)
Connector 186: Transfer Case Shift Control Module (F46)
Connector 187: Transmission Connector (MVA/MVB)
Connector 188: Transmission Connector (MVD)
Connector 189: Turn Signal/Multifunction Switch
Connector 190: Vehicle Communication Interface Module (VCIM) X1
Connector 191: Vehicle Communication Interface Module (VCIM) X2
Connector 192: Vehicle Communication Interface Module -- Auxiliary
Connector 193: Vehicle Stability Control (VSC) Module
Connector 194: Wheel Speed Sensor (WSS) - Left Front
Connector 195: Wheel Speed Sensor (WSS) - Left Rear
Connector 196: Wheel Speed Sensor (WSS) - Right Front
Connector 197: Wheel Speed Sensor (WSS) - Right Rear
Connector 198: Window Motor - Driver
Connector 199: Window Motor - Left Rear
Connector 200: Window Motor - Passenger
Connector 201: Window Motor - Right Rear
Connector 202: Window Switch - Left Rear
Connector 203: Window Switch - Passenger
Connector 204: Window Switch - Right Rear
Connector 205: Windshield Washer Fluid Pump -- Front
Connector 206: Windshield Washer Fluid Level Switch
Connector 207: Windshield Wiper Motor
Connector 208: Windshield Wiper/Washer Switch - Front X1
Connector 209: Windshield Wiper/Washer Switch - Front X2
Connector 210: Yaw Rate and Lateral Accelerometer Sensor

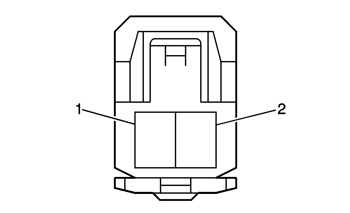
A/C Compressor Clutch


Object Number: 339854  Size: CH

Connector Part Information

  • OEM: 90980-11156
  • Service: N/A
  • Description: 2-Way F (GY)

A/C Compressor Clutch

Pin

Wire

Circuit

Function

1

0.5 WH/BK

--

Ground

2

0.5 L-GN

--

A/C Compressor Clutch Supply Voltage

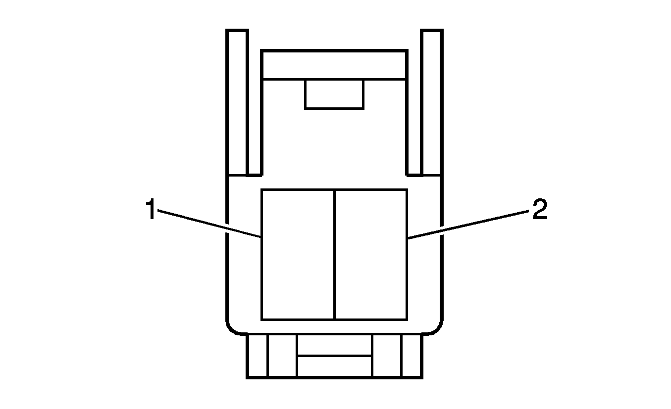
A/C Refrigerant Pressure Sensor


Object Number: 335016  Size: CH

Connector Part Information

  • OEM: 90980-10845
  • Service: N/A
  • Description: 3-Way F (BK)

A/C Refrigerant Pressure Sensor

Pin

Wire

Circuit

Function

1

0.3 D-GN

--

Low Reference

2

0.3 D-BU/WH

--

A/C Refrigerant Pressure Sensor Signal

3

0.3 BK

--

5-Volt Reference

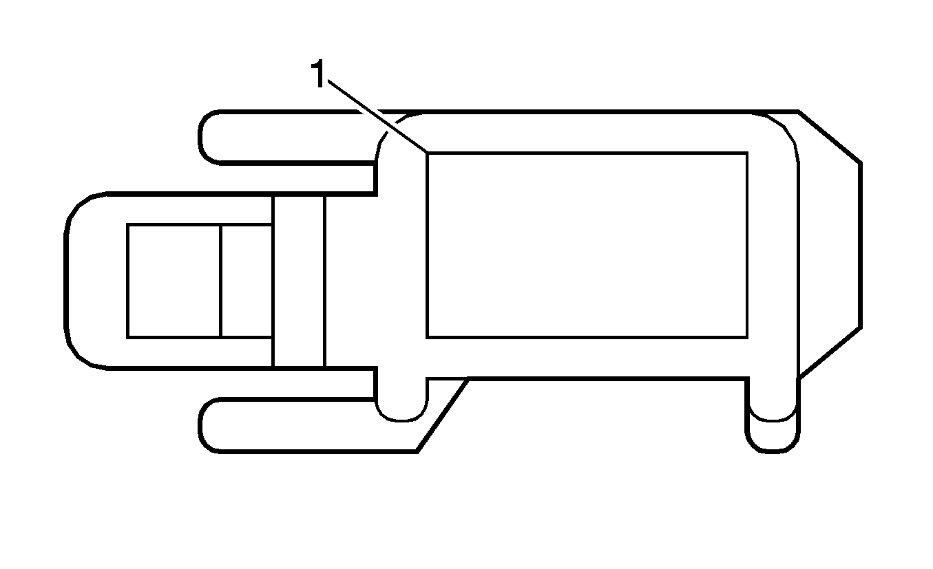
Accelerator Pedal Position (APP) Sensor


Object Number: 2035357  Size: CH

Connector Part Information

  • OEM: 90980-12303
  • Service: N/A
  • Description: 6-Way F (BK)

Accelerator Pedal Position (APP) Sensor

Pin

Wire

Circuit

Function

1

0.3 BK

--

APP Sensor 2 Signal

2

0.3 OG

--

Low Reference

3

0.3 YE

--

5-Volt Reference

4

0.3 PK

--

APP Sensor 1 Signal

5

0.3 RD

--

Low Reference

6

0.3 D-BU

--

5-Volt Reference

Accessory AC/DC Power Control Module


Object Number: 2037158  Size: CH

Connector Part Information

  • OEM: 90980-12558
  • Service: N/A
  • Description: BK

Accessory AC/DC Power Control Module

Pin

Wire

Circuit

Function

1-2

--

--

Not Used

3

0.35 BK

--

Accessory Power Outlet Switch Control

4

0.35 WH

--

Instrument Panel Lamps Dimmer Switch - Output

5

0.35 D-GN

--

Battery Positive Voltage

6

0.35 D-BU

--

Battery Positive Voltage

7

0.35 WH/BK

--

Ground

8

--

--

Not Used

Accessory Power Inverter Module


Object Number: 976221  Size: CH

Connector Part Information

  • OEM: 90980-10799
  • Service: N/A
  • Description: 8-Way F (BU)

Accessory Power Inverter Module

Pin

Wire

Circuit

Function

1

0.75 RD

--

Accessory Power Inverter module Supply Voltage

2

--

--

Not Used

3

0.5 D-GN

--

Accessory Power Inverter module Power

4

0.5 WH/BK

--

Ground

5-6

--

--

Not Used

7

0.5 BK

--

Accessory Power Inverter module Ground

8

--

--

Not Used

Accessory Power Outlet - 110V AC


Object Number: 335024  Size: CH

Connector Part Information

  • OEM: 90980-10797
  • Service: N/A
  • Description: 6-Way F (BK)

Accessory Power Outlet - 110 AC

Pin

Wire

Circuit

Function

1

0.5 D-GN

--

Accessory Power Inverter Module Power

2

0.5 BK

--

Accessory Power Inverter Module Ground

3-4

--

--

Not Used

5

0.5 WH/BK

--

Ground

6

--

--

Not Used

Ambient Air Temperature Sensor


Object Number: 2035417  Size: CH

Connector Part Information

  • OEM: 90980-11070
  • Service: N/A
  • Description: 2-Way F (BK)

Ambient Air Temperature Sensor

Pin

Wire

Circuit

Function

1

0.3 WH

--

Ambient Air Temperature Sensor Signal

2

0.3 D-GN

--

Low Reference

Ambient Light Sensor


Object Number: 334413  Size: CH

Connector Part Information

  • OEM: 90980-11107
  • Service: N/A
  • Description: 4-Way F (BK)

Ambient Light Sensor

Pin

Wire

Circuit

Function

1

0.35 GY

--

Ambient Light Sensor - Power

2

--

--

--

3

0.35 GN

--

Ground

4

0.35 L-BU

--

Ambient Light Sensor Signal

Audio Amplifier X1 (U65)


Object Number: 2035445  Size: CH

Connector Part Information

  • OEM: 90980-98158
  • Service: N/A
  • Description: 24-Way F (GY)

Audio Amplifier X1 (U65)

Pin

Wire

Circuit

Function

1

0.35 YE

--

Amplifier Signal

2

--

--

Not Used

3

0.35 BG

--

Antenna Signal

4

0.35 BK

--

Left Rear Speaker (+)

5

0.35 D-GN

--

Left Rear Speaker (-)

6

0.35 D-GN

--

Left Front Tweeter (-)

7

0.35 BK

--

Left Front Tweeter (+)

8

0.35 L-GN

--

Mute

9

1.25 RD

--

Right Rear Speaker Output (+)

10

1.25 WH

--

Right Rear Speaker Output (-)

11

1.25 BK

--

Left Rear Speaker Output (+)

12

1.25 YE

--

Left Rear Speaker Output (-)

13

1.25 D-BU

--

Rear Subwoofer Speaker Output (-)

14

1.25 L-GN

--

Rear Subwoofer Speaker Output (+)

15

--

--

Not Used

16

0.35 WH

--

Right Rear Speaker (-)

17

0.35 RD

--

Right Rear Speaker (+)

18

0.35 RD

--

Right Front Tweeter (+)

19

0.35 WH

--

Right Front Tweeter (-)

20

--

--

Not Used

21

1.25 WH

--

Left Front Tweeter Output (+)

22

1.25 RD

--

Left Front Tweeter Output (-)

23

1.25 BN

--

Right Front Tweeter Output (+)

24

1.25 PK

--

Right Front Tweeter Output (-)

Audio Amplifier X2 (U65)


Object Number: 73158  Size: CH

Connector Part Information

  • OEM: 12110626
  • Service: N/A
  • Description: 8-Way F (GY)

Audio Amplifier X2 (U65)

Pin

Wire

Circuit

Function

1

1.25 BK

--

Rear Subwoofer Speaker Output (-)

2

1.25 YE

--

Rear Subwoofer Speaker Output (+)

3

2.00 WH/BK

--

Ground

4

2.00 RD

--

Battery Positive Voltage

5

1.25 L-GN

--

Right Front Speaker Output (+)

6

1.25 D-BU

--

Right Front Speaker Output (-)

7

1.25 VT

--

Left Front Speaker Output (-)

8

1.25 PK

--

Left Front Speaker Output (+)

Automatic Transmission Input Shaft Speed (ISS) Sensor


Object Number: 339854  Size: CH

Connector Part Information

  • OEM: 90980-11156
  • Service: N/A
  • Description: 2-Way F (BK)

Automatic Transmission Input Shaft Speed (ISS) Sensor

Pin

Wire

Circuit

Function

1

0.5 BK

--

--

2

0.5 YE

--

--

Automatic Transmission Output Shaft Speed (OSS) Sensor


Object Number: 339854  Size: CH

Connector Part Information

  • OEM: 90980-11156
  • Service: N/A
  • Description: 2-Way F (BK)

Automatic Transmission Output Shaft Speed (OSS) Sensor

Pin

Wire

Circuit

Function

1

0.5 WH

--

Intermediate Shaft Speed Sensor - Low Signal

2

0.5 RD

--

Intermediate Shaft Speed Sensor - High Signal

Automatic Transmission Shift Lever


Object Number: 2037161  Size: CH

Connector Part Information

  • OEM: 90980-12370
  • Service: N/A
  • Description: 14-Way F

Automatic Transmission Shift Lever

Pin

Wire

Circuit

Function

1

0.35 VT

--

Shift Lock Relay (+)

2

0.35 BG

--

Shift Lock Relay (-)

3

--

--

Not Used

4

0.35 BK

--

Shift Switch Tap Down Signal

5

0.35 L-GN

--

Shift Switch Tap Up Signal

6

0.35 D-BU

--

Ignition 1 Voltage

7-10

--

--

Not Used

11

0.35 WH/BK

--

Ground

12

--

--

Not Used

13

0.35 WH

--

PNP Switch Low Signal

14

--

--

Not Used

Automatic Transmission Shift Lever Position Indicator


Object Number: 2035443  Size: CH

Connector Part Information

  • OEM: 90980-12063
  • Service: N/A
  • Description: 2-Way F

Automatic Transmission Shift Lever Position Indicator

Pin

Wire

Circuit

Function

1

0.35 L-GN

--

Instrument Panel Lamps Dimming Low Control

2

0.35 WH

--

Instrument Panel Lamps Dimming Voltage

Automatic Transmission Shift Lock Control Solenoid


Object Number: 2035442  Size: CH

Connector Part Information

  • OEM: 90980-12551
  • Service: N/A
  • Description: 8-Way F

Automatic Transmission Shift Lock Control Solenoid

Pin

Wire

Circuit

Function

1

0.35 WH/BK

--

Ground

2

--

--

Not Used

3

--

--

Not Used

4

0.35 D-BU

--

Stop Lamp Switch Signal

5

0.35 YE

--

Ignition Lock Cylinder Solenoid Control

6

0.35 GY

--

Ignition Switch Signal - Start

7

--

--

Not Used

8

0.35 D-BU

--

Ignition 1 Voltage

Backup Lamp Switch (LAY)


Object Number: 2035426  Size: CH

Connector Part Information

  • OEM: 90980-11051
  • Service: N/A
  • Description: GY

Backup Lamp Switch (LAY)

Pin

Wire

Circuit

Function

1

0.5 RD

--

Back-up Lamp - Feed

2

0.5 D-GN

--

Battery Positive Voltage

Backup Lamp Switch (LAX)


Object Number: 2035436  Size: CH

Connector Part Information

  • OEM: 90980-11250
  • Service: N/A
  • Description: GY

Backup Lamp Switch (LAX)

Pin

Wire

Circuit

Function

1

0.5 RD

--

Back-up Lamp - Feed

2

0.5 D-GN

--

Battery Positive Voltage

Blower Motor


Object Number: 2037157  Size: CH

Connector Part Information

  • OEM: 90980-11579
  • Service: N/A
  • Description: 2-Way F (BK)

Blower Motor

Pin

Wire

Circuit

Function

1

3.0 D-BU

--

Blower Motor High Control

2

3.0 BN

--

Blower Motor Control

Blower Motor Resistor


Object Number: 339884  Size: CH

Connector Part Information

  • OEM: 90980-11136
  • Service: N/A
  • Description: 4-Way F (BK)

Blower Motor Resistor

Pin

Wire

Circuit

Function

1

3.0 D-BU

--

Blower Motor High Control

2

2.0 BK

--

Medium 1 Blower Motor Control

3

2.0 YE

--

Medium 2 Blower Motor Control

4

2.0 WH/BK

--

Ground

Blower Motor Switch


Object Number: 2037168  Size: CH

Connector Part Information

  • OEM: 90980-10993
  • Service: N/A
  • Description: 10-Way F (GY)

Blower Motor Switch

Pin

Wire

Circuit

Function

1

0.5 WH

--

Instrument panel lamps Dimmer Switch - Output

2

0.35 BG

--

Defroster Relay Control

3

0.35 RD

--

Ignition 1 Voltage

4

0.35 GY

--

Blower Motor Low Control

5

3.0 WH/BK

--

Ground

6

3.0 D-BU

--

Blower Motor High Control

7

0.35 D-GN

--

Battery Positive Voltage

8

--

--

Not Used

9

2.0 BK

--

Medium 1 Blower Motor Control

10

2.0 YE

--

Medium 2 Blower Motor Control

Body Control Module (BCM)


Object Number: 2037170  Size: CH

Connector Part Information

  • OEM: 90980-12444
  • Service: N/A
  • Description: 26-Way F

Body Control Module (BCM)

Pin

Wire

Circuit

Function

1

--

--

Not Used

2

1.25 D-GN

--

Driver Door Lock Motor Unlock Control

3

0.35 VT

--

Headlamp Relay Control

4

--

--

Not Used

5

0.5 RD

--

Passenger Door Lock Position Switch Input

6-12

--

--

Not Used

13

0.35 BK

--

Left Rear Door Ajar Switch Signal

14

0.35 PK

--

Driver Door Key Switch Unlock Signal

15

--

--

Not Used

16

0.22 VT

--

Serial Data

17

0.22 L-BU

--

Keyless Entry Program Enable Signal

18

0.35 L-GN

--

Data Communication (-)

19

0.35 WH

--

Data Communication (+)

20

--

--

Not Used

21

0.35 YE

--

Driver Door Lock Position Switch Input

22

0.35 WH

--

High Speed GMLAN Serial Data Bus-

23

0.35 RD

--

High Speed GMLAN Serial Data Bus+

24

0.35 D-GN

--

Rear Door Lock Position Switch Input

25-26

--

--

Not Used

Brake Fluid Level Switch


Object Number: 334435  Size: CH

Connector Part Information

  • OEM: 90980-11207
  • Service: N/A
  • Description: 2-Way F (GY)

Brake Fluid Level Switch

Pin

Wire

Circuit

Function

1

0.5 YE

--

Brake Fluid level Sensor Signal

2

0.5 WH/BK

--

Ground

Camshaft Position (CMP) Actuator Solenoid Valve - Bank 2 Exhaust (LAY)


Object Number: 820095  Size: CH

Connector Part Information

  • OEM: 90980-11162
  • Service: N/A
  • Description: 2-Way F (BK)

Camshaft Position (CMP) Actuator Solenoid Valve - Bank 2 Exhaust (LAY)

Pin

Wire

Circuit

Function

1

0.5 BN/BK

--

Cam Phaser Control - Bank 1 Exhaust

2

0.5 PK

--

Low Reference

Camshaft Position (CMP) Actuator Solenoid Valve - Bank 2 Intake (LAY)


Object Number: 820095  Size: CH

Connector Part Information

  • OEM: 90980-11162
  • Service: N/A
  • Description: 2-Way F (BK)

Camshaft Position (CMP) Actuator Solenoid Valve - Bank 2 Intake (LAY)

Pin

Wire

Circuit

Function

1

0.5 BK

--

Cam Phaser Control - Bank 1 Intake

2

0.5 VT/YE

--

Low Reference

Camshaft Position (CMP) Actuator Solenoid Valve - Bank 2 Intake (LAX)


Object Number: 820095  Size: CH

Connector Part Information

  • OEM: 90980-11162
  • Service: N/A
  • Description: 2-Way F (BK)

Camshaft Position (CMP) Actuator Solenoid Valve - Bank 2 Intake (LAX)

Pin

Wire

Circuit

Function

1

0.5 BK

--

Cam Phaser Control

2

0.5 VT

--

Low Reference

Camshaft Position (CMP) Sensor (LAX)


Object Number: 339853  Size: CH

Connector Part Information

  • OEM: 90980-10947
  • Service: N/A
  • Description: 2-Way F (BK)

Camshaft Position (CMP) Sensor (LAX)

Pin

Wire

Circuit

Function

1

0.5 RD

--

CMP Sensor High Signal

2

0.5 WH

--

CMP Sensor Low Signal

Camshaft Position (CMP) Sensor - Bank 2 Exhaust (LAY)


Object Number: 2035439  Size: CH

Connector Part Information

  • OEM: 90980-12353
  • Service: N/A
  • Description: BK

Camshaft Position (CMP) Sensor - Bank 2 Exhaust (LAY)

Pin

Wire

Circuit

Function

1

0.5 RD

--

5-Volt Reference

2

0.5 WH

--

Low Reference

3

0.5 BN/RD

--

Camshaft Sensor Signal

Camshaft Position (CMP) Sensor - Bank 2 Intake (LAY)


Object Number: 2035439  Size: CH

Connector Part Information

  • OEM: 90980-12353
  • Service: N/A
  • Description: GY

Camshaft Position (CMP) Sensor - Bank 2 Intake (LAY)

Pin

Wire

Circuit

Function

1

0.5 RD

--

5-Volt Reference

2

0.5 WH

--

Low Reference

3

0.5 BN/RD

--

Camshaft Sensor Signal

Center High Mounted Stop Lamp (CHMSL)


Object Number: 334916  Size: CH

Connector Part Information

  • OEM: 90980-10860
  • Service: N/A
  • Description: 2-Way F (GY)

Center High Mounted Stop Lamp (CHMSL)

Pin

Wire

Circuit

Function

1

0.5 BU

--

Stop Lamp Supply Voltage

2

0.5 WH/BK

--

Ground

Cigar Lighter


Object Number: 2037159  Size: CH

Connector Part Information

  • OEM: 90980-12498
  • Service: N/A
  • Description: N/A

Cigar Lighter

Pin

Wire

Circuit

Function

1

0.75 GY

--

Ignition Voltage

2

0.75 WH/BK

--

Ground

Cigar Lighter Illumination Lamp


Object Number: 334414  Size: CH

Connector Part Information

  • OEM: 90980-11148
  • Service: N/A
  • Description: 2-Way F (GY)

Cigar Lighter Illumination Lamp

Pin

Wire

Circuit

Function

1

0.35 WH

--

Instrument Panel Lamps Dimming Low Control

2

0.35 D-GN

--

Instrument Panel Lamps Dimming Voltage

Clutch Start Switch


Object Number: 335004  Size: CH

Connector Part Information

  • OEM: 90980-10825
  • Service: N/A
  • Description: 2-Way F (WH)

Clutch Start Switch

Pin

Wire

Circuit

Function

1

0.5 L-GN

--

Ignition 1 Voltage

2

0.5 WH

--

Ignition Voltage

Courtesy/Reading Lamps - 2nd Row


Object Number: 2037208  Size: CH

Connector Part Information

  • OEM: 81366-02010
  • Service: N/A
  • Description: 3-Way F

Courtesy/Reading Lamps - 2nd Row

Pin

Wire

Circuit

Function

1

0.35 PK

--

Battery positive Voltage

2

0.35 GY

--

Courtesy Lamp Control

3

0.35 WH/BK

--

Ground

Courtesy/Reading Lamps - 3rd Row


Object Number: 2037208  Size: CH

Connector Part Information

  • OEM: 81366-02010
  • Service: N/A
  • Description: 3-Way F

Courtesy/Reading Lamps - 3rd Row

Pin

Wire

Circuit

Function

1

0.35 PK

--

Battery positive Voltage

2

0.35 GY

--

Courtesy Lamp Control

3

0.35 WH/BK

--

Ground

Crankshaft Position (CKP) Sensor (LAX)


Object Number: 339853  Size: CH

Connector Part Information

  • OEM: 90980-10947
  • Service: N/A
  • Description: 3-Way F (BK)

Crankshaft Position (CKP) Sensor (LAX)

Pin

Wire

Circuit

Function

1

0.3 RD

--

CKP Sensor High

2

0.3 D-GN

--

CKP Sensor Low

Crankshaft Position (CKP) Sensor (LAY)


Object Number: 2035438  Size: CH

Connector Part Information

  • OEM: 90980-12611
  • Service: N/A
  • Description: 2-Way F (BK)

Crankshaft Position (CKP) Sensor (LAY)

Pin

Wire

Circuit

Function

1

0.3 RD

--

CKP Sensor High

2

0.3 D-GN

--

CKP Sensor Low

Cruise Control Switch


Object Number: 2037225  Size: CH

Connector Part Information

  • OEM: 90980-12360
  • Service: N/A
  • Description: 4-Way F (WH)

Cruise Control Switch

Pin

Wire

Circuit

Function

1-2

--

--

Not Used

3

RD

--

Cruise Control Switch Signal

4

BK

--

Ground

Daytime Running Lights (DRL) Module


Object Number: 820223  Size: CH

Connector Part Information

  • OEM: 90980-12034
  • Service: N/A
  • Description: 20-Way F (WH)

Daytime Running Lights (DRL) Module

Pin

Wire

Circuit

Function

A

3.0 BN

--

High Beam Headlamps Ground

B

3.0 WH/BK

--

Ground

1

0.35 RD

--

Battery Positive Voltage

2

0.35 WH

--

Fog Lamp Switch Signal

3

0.35 GY

--

DRL Indication Control

4

0.35 VT

--

Headlamp Relay Control

5

0.35 D-GN

--

Park Lamp Switch Signal

6

0.35 YE

--

Low Battery Indication Signal

7

0.35 WH/BK

--

Ground

8

0.35 BK

--

Parklamp/Headlamp Signal

9

0.35 BG

--

Park Brake Switch Signal

10

0.35 D-BU

--

Ignition 1 Voltage

11

0.22 PK

--

Dimmer Relay Control

12

0.35 L-BU

--

Park Lamp Relay - Ground

13

0.35 BN

--

Park Lamp Relay Control

14

0.35 L-GN

--

High Beam Signal

15

0.35 D-BU

--

Headlamp Indicator Control

16

0.35 D-GN

--

Ground

17

0.35 L-BU

--

Ambient Light Sensor Signal

18

0.35 GY

--

Ambient Light Sensor Power

Data Link Connector (DLC)


Object Number: 334463  Size: CH

Connector Part Information

  • OEM: 90980-11665
  • Service: N/A
  • Description: 16-Way F (WH)

Data Link Connector (DLC)

Pin

Wire

Circuit

Function

1

0.35 YE

--

Low Speed GMLAN Serial Data

2-3

--

--

Not Used

4

0.35 WH/BK

--

Ground

5

0.35 BN

--

Ground

6

0.35 L-GN

--

High Speed GMLAN Serial Data Bus+

7

0.35 WH

--

Low Speed Serial Data

8

--

--

Not Used

9

0.35 GY

--

Low Speed Serial Data

10-11

--

--

Not Used

12

0.35 RD

--

Brake Pressure Modulator Valve Signal

13

0.35 D-GN

--

Low Speed Serial Data

14

0.35 WH

--

High Speed GMLAN Serial Data Bus+

15

--

--

Not Used

16

0.35 L-GN

--

Battery Positive Voltage

Digital Radio Receiver


Object Number: 2047120  Size: CH

Connector Part Information

  • OEM: 90980-AA001
  • Service: N/A
  • Description: 16-Way F (BK)

Digital Radio Receiver

Pin

Wire

Circuit

Function

1-3

--

--

Not Used

4

0.35 BG

--

TMX +

5

0.35 WH

--

Audio Signal Right (-)

6

0.35 BK

--

Audio Signal Right (+)

7

0.35 RD

--

Audio Signal Left (+)

8

0.35 D-GN

--

Audio Signal Left (-)

9

0.35 L-BU

--

Battery Positive Voltage

10-13

--

--

Not Used

14

0.01 BARE

--

Drain Wire

15

--

--

Not Used

16

0.5 BN

--

Ground

Dome/Courtesy Reading Lamps (CF5)


Object Number: 2037210  Size: CH

Connector Part Information

  • OEM: 90980-12559
  • Service: N/A
  • Description: 12-Way F (BK)

Dome/ Courtesy Reading Lamps (CF5)

Pin

Wire

Circuit

Function

1

0.35 GY

--

Courtesy Lamp Control

2

0.35 D-BU

--

Sunroof Switch Close Signal

3

0.35 RD

--

Sunroof Switch Vent Signal

4

0.35 D-GN

--

Sunroof Switch Open Signal

5

--

--

Not Used

6

0.35 PK

--

Battery Positive Voltage

7

0.35 WH/BK

--

Ground

8-12

--

--

Not Used

Dome/Courtesy Reading Lamps (without CF5)


Object Number: 2037211  Size: CH

Connector Part Information

  • OEM: 90980-11212
  • Service: N/A
  • Description: 2-Way F (GY)

Dome/Courtesy Reading Lamps (without CF5)

Pin

Wire

Circuit

Function

1

0.35 PK

--

Battery Positive Voltage

2

0.35 WH/BK

--

Ground

Door Jamb Switch - Driver


Object Number: 2001960  Size: CH

Connector Part Information

  • OEM: 90980-10871
  • Service: N/A
  • Description: 1-Way F (GY)

Door Jamb Switch - Driver

Pin

Wire

Circuit

Function

1

0.5 VT

--

Driver Door Ajar Switch Signal

Door Jamb Switch - Left Rear


Object Number: 2001960  Size: CH

Connector Part Information

  • OEM: 90980-10871
  • Service: N/A
  • Description: 1-Way F (GY)

Door Jamb Switch - Left Rear

Pin

Wire

Circuit

Function

1

0.5 GY

--

Left Rear Door Ajar Switch Signal

Door Jamb Switch - Passenger


Object Number: 2001960  Size: CH

Connector Part Information

  • OEM: 90980-10871
  • Service: N/A
  • Description: 1-Way F (GY)

Door Jamb Switch - Passenger

Pin

Wire

Circuit

Function

1

0.5 BG

--

Front Passenger Door Ajar Switch Signal

Door Jamb Switch - Right Rear


Object Number: 2001960  Size: CH

Connector Part Information

  • OEM: 90980-10871
  • Service: N/A
  • Description: 1-Way F (GY)

Door Jamb Switch - Right Rear

Pin

Wire

Circuit

Function

1

0.5 YE

--

Right Rear Door Ajar Switch Signal

Door Lock Actuator - Driver


Object Number: 820251  Size: CH

Connector Part Information

  • OEM: 90980-12226
  • Service: N/A
  • Description: 10-Way F (WH)

Door Lock Actuator - Driver

Pin

Wire

Circuit

Function

1

1.25 D-GN

--

Driver Door Lock Motor Unlock Control

2-3

--

--

Not Used

4

1.25 BG

--

Driver Door Lock Motor Lock Control

5-6

--

--

Not Used

7

0.35 WH/BK

--

Ground

8

0.35 YE

--

Driver Door Lock Position Switch Input

9

0.35 BK

--

Driver Door Key Switch Lock Signal

10

0.35 PK

--

Driver Door Key Switch Unlock Signal

Door Lock Actuator - Left Rear


Object Number: 820251  Size: CH

Connector Part Information

  • OEM: 90980-12226
  • Service: N/A
  • Description: 10-Way F (WH)

Door Lock Actuator - Left Rear

Pin

Wire

Circuit

Function

1

1.25 D-GN

--

Left Rear Door Lock Motor Unlock Control

2-3

--

--

Not Used

4

1.25 BG

--

Left Rear Door Lock Motor Lock Control

5

--

--

Not Used

6

0.35 D-GN

--

Right Rear Door Lock Position Switch Input

7-8

--

--

Not Used

9

0.35 WH/BK

--

Ground

10

--

--

Not Used

Door Lock Actuator - Passenger


Object Number: 820251  Size: CH

Connector Part Information

  • OEM: 90980-12226
  • Service: N/A
  • Description: 10-Way F (WH)

Door Lock Actuator - Passenger

Pin

Wire

Circuit

Function

1

1.25 D-GN

--

Passenger Door Lock Motor Unlock Control

2-3

--

--

Not Used

4

1.25 BG

--

Passenger Door Lock Motor Lock Control

5

0.35 D-BU

--

Passenger Door Key Switch Unlock Signal

6

0.35 BK

--

Passenger Door Key Switch lock Signal

7

0.35 RD

--

Passenger Door Lock Position Switch Input

8

0.5 WH/BK

--

Ground

9-10

--

--

Not Used

Door Lock Actuator - Right Rear


Object Number: 820251  Size: CH

Connector Part Information

  • OEM: 90980-12226
  • Service: N/A
  • Description: 10-Way F (WH)

Door Lock Actuator - Right Rear

Pin

Wire

Circuit

Function

1

1.25 D-GN

--

Right Rear Door Lock Motor Unlock Control

2-3

--

--

Not Used

4

1.25 OG

--

Right Rear Door Lock Motor Lock Control

5

--

--

Not Used

6

0.35 D-GN

--

Rear Door Lock Position Switch Input

7-8

--

--

Not Used

9

0.35 WH/BK

--

Ground

10

--

--

Not Used

Door Lock Switch - Driver (without A31)


Object Number: 820206  Size: CH

Connector Part Information

  • OEM: 90980-11950
  • Service: N/A
  • Description: 4-Way F (WH)

Door Lock Switch - Driver (without A31)

Pin

Wire

Circuit

Function

A

--

--

Not Used

B

0.35 BG

--

Unlock Door Signal

C

0.5 WH/BK

--

Ground

D

0.35 VT

--

Lock Door Signal

Door Lock Switch - Passenger


Object Number: 820206  Size: CH

Connector Part Information

  • OEM: 90980-11950
  • Service: N/A
  • Description: 4-Way F (WH)

Door Lock Switch - Passenger

Pin

Wire

Circuit

Function

A

--

--

Not Used

B

0.35 BG

--

Unlock Door Signal

C

0.5 WH/BK

--

Ground

D

0.35 VT

--

Lock Door Signal

Door Lock/Window Switch - Driver (A31)


Object Number: 820230  Size: CH

Connector Part Information

  • OEM: 90980-12122
  • Service: N/A
  • Description: WH

Door Lock/Window Switch - Driver (A31)

Pin

Wire

Circuit

Function

1

2.0 WH/BK

--

Ground

2

0.35 VT

--

Lock Switch Signal

3

2.0 D-GN

--

Left Front Window Motor (+)

4

2.0 YE

--

Left Front Window Motor (-)

5

--

--

Not Used

6

2.0 WH

--

PWR Relay Power Feed

7-8

--

--

Not Used

9

0.35 BG

--

Unlock Switch Signal

10

2.0 BK

--

Right Rear Window Motor (+)

11

--

--

Not Used

12

2.0 RD

--

Left Rear Window Motor (+)

13

2.0 D-BU

--

Left Rear Window Motor (-)

14

--

--

Not Used

15

2.0 BN

--

Right Front Window Motor (-)

16

2.0 D-GN

--

Right Front Window Motor (+)

17

--

--

Not Used

18

2.0 YE

--

Right Rear Window Motor (-)

Electronic Brake Control Module (EBCM)


Object Number: 2020595  Size: CH

Connector Part Information

  • OEM: 90980-12686
  • Service: N/A
  • Description: 34-Way F (BK)

Electronic Brake Control Module (EBCM)

Pin

Wire

Circuit

Function

1

3.0 WH/BK

--

Ground

2

0.5 D-BU/WH

--

Stop Lamp Switch Signal (Battery)

3

--

--

Not Used

4

0.3 WH

--

Left Rear Wheel Speed Sensor Signal

5

0.3 BK

--

Left Rear Wheel Speed Sensor Control

6

0.3 L-GN

--

Right Front Wheel Speed Sensor Signal

7

0.3 BN

--

Right Front Wheel Speed Sensor Control

8-10

--

--

Not Used

11

0.3 VT

--

Vehicle Speed Sensor Signal

12

2.0 WH

--

Battery Positive Voltage

13

3.0 WH/BK

--

Ground

14

0.3 WH

--

High Speed GMLAN Serial Data Bus-

15

--

--

Not Used

16

0.3 D-GN

--

Right Rear Wheel Speed Sensor Signal

17

0.3 RD

--

Right Rear Wheel Speed Sensor Control

18

0.3 VT

--

Left Front Wheel Speed Sensor Signal

19

0.3 L-GN

--

Left Front Wheel Speed Sensor Control

20-23

--

--

Not Used

24

3.0 D-BU

--

Battery Positive Voltage

25

0.3 RD

--

High Speed GMLAN Serial Data Bus+

26-29

--

--

Not Used

30

0.3 PK

--

Vehicle Stability Control Switch Input

31-32

--

--

Not Used

33

0.3 RD/BK

--

Sensor Check Input

34

0.3 D-BU/BK

--

Ignition Voltage

Electric Power Steering (EPS) Module X1


Object Number: 2035420  Size: CH

Connector Part Information

  • OEM: 90980-12653
  • Service: N/A
  • Description: 2-Way F (GY)

Electric Power Steering (EPS) Module X1

Pin

Wire

Circuit

Function

1

8.0 D-BU

--

Battery Positive Voltage

2

8.0 WH/BK

--

Ground

Electric Power Steering (EPS) Module X2


Object Number: 2037164  Size: CH

Connector Part Information

  • OEM: 90980-12614
  • Service: N/A
  • Description: 12-Way F

Electric Power Steering (EPS) Module X2

Pin

Wire

Circuit

Function

1

0.35 L-BU

--

High Speed GMLAN Serial Data Bus+

2-5

--

--

Not Used

6

0.35 D-BU

--

Ignition Voltage

7

0.35 WH

--

High Speed GMLAN Serial Data Bus-

8-12

--

--

Not Used

Electric Power Steering (EPS) Module X3


Object Number: 2037222  Size: CH

Connector Part Information

  • OEM: 82824-42160
  • Service: N/A
  • Description: 6-Way F

Electric Power Steering (EPS) Module X3

Pin

Wire

Circuit

Function

1

--

--

Motor Resolver SIN

2

--

--

Motor Resolver COS

3

--

--

Not Used

4

--

--

Low Reference

5

--

--

Not Used

6

--

--

5-Volt Reference

Electric Power Steering (EPS) Module X4


Object Number: 2037223  Size: CH

Connector Part Information

  • OEM: 90980-12664
  • Service: N/A
  • Description: 3-Way F

Electric Power Steering (EPS) Module X4

Pin

Wire

Circuit

Function

1

WH

--

Power Steering Motor Phase W

2

BK

--

Power Steering Motor Phase U

3

RD

--

Power Steering Motor Phase V

Engine Coolant Temperature (ECT) Sensor


Object Number: 2035430  Size: CH

Connector Part Information

  • OEM: 90980-10735
  • Service: N/A
  • Description: 2-Way F (GY)

Engine Coolant Temperature (ECT) Sensor

Pin

Wire

Circuit

Function

1

0.5 BN

--

Engine Coolant Temperature (ECT) Sensor Signal

2

0.5 BK

--

Low Reference

Engine Cooling Fan - Right


Object Number: 334401  Size: CH

Connector Part Information

  • OEM: 90980-10928
  • Service: N/A
  • Description: 2-Way F (GY)

Engine Cooling Fan - Right

Pin

Wire

Circuit

Function

1

3.0 BK

--

Auxiliary Cooling Fan Motor Supply Voltage

2

3.0 RD

--

Cooling Fan Motor Supply Voltage

Engine Cooling Fan - Left


Object Number: 334401  Size: CH

Connector Part Information

  • OEM: 90980-10928
  • Service: N/A
  • Description: 2-Way F (GY)

Engine Cooling Fan - Left

Pin

Wire

Circuit

Function

1

3.0 WH/BK

--

Ground

2

3.0 BK

--

Cooling Fan Motor Supply Voltage

Engine Oil Pressure (EOP) Switch


Object Number: 2035431  Size: CH

Connector Part Information

  • OEM: 90980-11363
  • Service: N/A
  • Description: 1-Way (GY)

Engine Oil Pressure (EOP) Switch

Pin

Wire

Circuit

Function

1

0.5 YE/BK

--

Oil Pressure Switch Signal

Evaporative Emissions (EVAP) Canister Purge Solenoid Valve


Object Number: 339854  Size: CH

Connector Part Information

  • OEM: 90980-11156
  • Service: N/A
  • Description: 2-Way F (BU)

Evaporative Emissions (EVAP) Canister Purge Solenoid Valve

Pin

Wire

Circuit

Function

1

0.5 D-BU/BK

--

EVAP Canister Purge Solenoid Control

2

0.5 BK

--

Ignition Voltage

Evaporator Temperature Sensor


Object Number: 2037163  Size: CH

Connector Part Information

  • OEM: 90980-11918
  • Service: N/A
  • Description: 2-Way F

Evaporator Temperature Sensor

Pin

Wire

Circuit

Function

1

0.35 L-GN

--

Low Reference

2

0.35 L-BU

--

Evaporator Temperature Sensor Signal

Evaporative Emission (EVAP) Canister Vent Solenoid Valve


Object Number: 1489449  Size: CH

Connector Part Information

  • OEM: 90980-12380
  • Service: N/A
  • Description: 10-Way F (BK)

Evaporative Emission (EVAP) Canister Vent Solenoid Valve

Pin

Wire

Circuit

Function

1

0.35 D-BU

--

EVAP Pump Control

2

0.35 BN

--

Low Reference

3

0.35 VT

--

EVAP Canister Pressure Sensor Signal

4

0.35 YE

--

5-Volt Reference

5

--

--

Not Used

6

0.35 WH/BK

--

Ground

7

--

--

Not Used

8

0.35 WH

--

EVAP Vent Solenoid Control

9

0.35 BK

--

Ignition Voltage

10

--

--

Not Used

Fan Control Module


Object Number: 2035424  Size: CH

Connector Part Information

  • OEM: 90980-10841
  • Service: N/A
  • Description: 3-Way F (BK)

Fan Control Module

Pin

Wire

Circuit

Function

1

3.0 BK

--

Battery positive Voltage

2

0.3 RD/D-GN

--

Cooling Fan Relay Control

3

3.0 WH/BK

--

Ground

Fog Lamp - Left Front


Object Number: 2035416  Size: CH

Connector Part Information

  • OEM: 82824-60460
  • Service: N/A
  • Description: 2-Way F (BK)

Fog Lamp - Left Front

Pin

Wire

Circuit

Function

1

0.85 WH/BK

--

Ground

2

0.85 D-GN

--

Front Fog Lamp Control

Fog Lamp - Right Front


Object Number: 2035416  Size: CH

Connector Part Information

  • OEM: 82824-60460
  • Service: N/A
  • Description: 2-Way F (BK)

Fog Lamp - Right Front

Pin

Wire

Circuit

Function

1

0.85 WH/BK

--

Ground

2

0.85 D-GN

--

Front Fog Lamp Control

Fuel Injector 1 (LAY)


Object Number: 334996  Size: CH

Connector Part Information

  • OEM: 90980-11875
  • Service: N/A
  • Description: 2-Way F (BK)

Fuel Injector 1 (LAY)

Pin

Wire

Circuit

Function

1

0.85 RD

--

Ignition Voltage

2

0.5 VT

--

Fuel Injector 1 Control

Fuel Injector 1 (LAX)


Object Number: 334996  Size: CH

Connector Part Information

  • OEM: 90980-11875
  • Service: N/A
  • Description: 2-Way F (BK)

Fuel Injector 1 (LAX)

Pin

Wire

Circuit

Function

1

0.75 RD

--

Ignition Voltage

2

0.5 VT

--

Fuel Injector 1 Control

Fuel Injector 2 (LAY)


Object Number: 334996  Size: CH

Connector Part Information

  • OEM: 90980-11875
  • Service: N/A
  • Description: 2-Way F (BK)

Fuel Injector 2 (LAY)

Pin

Wire

Circuit

Function

1

0.85 RD

--

Ignition Voltage

2

0.5 YE

--

Fuel Injector 2 Control

Fuel Injector 2 (LAX)


Object Number: 334996  Size: CH

Connector Part Information

  • OEM: 90980-11875
  • Service: N/A
  • Description: 2-Way F (BK)

Fuel Injector 2 (LAX)

Pin

Wire

Circuit

Function

1

0.75 RD

--

Ignition Voltage

2

0.5 RD

--

Fuel Injector 2 Control

Fuel Injector 3 (LAY)


Object Number: 334996  Size: CH

Connector Part Information

  • OEM: 90980-11875
  • Service: N/A
  • Description: 2-Way F (BK)

Fuel Injector 3 (LAY)

Pin

Wire

Circuit

Function

1

0.85 RD

--

Ignition Voltage

2

0.5 D-GN

--

Fuel Injector 3 Control

Fuel Injector 3 (LAX)


Object Number: 334996  Size: CH

Connector Part Information

  • OEM: 90980-11875
  • Service: N/A
  • Description: 2-Way F (BK)

Fuel Injector 3 (LAX)

Pin

Wire

Circuit

Function

1

0.75 RD

--

Ignition Voltage

2

0.5 D-GN

--

Fuel Injector 3 Control

Fuel Injector 4 (LAY)


Object Number: 334996  Size: CH

Connector Part Information

  • OEM: 90980-11875
  • Service: N/A
  • Description: 2-Way F (BK)

Fuel Injector 4 (LAY)

Pin

Wire

Circuit

Function

1

0.85 RD

--

Ignition Voltage

2

0.5 L-GN

--

Fuel Injector 4 Control

Fuel Injector 4 (LAX)


Object Number: 334996  Size: CH

Connector Part Information

  • OEM: 90980-11875
  • Service: N/A
  • Description: 2-Way F (BK)

Fuel Injector 4 (LAX)

Pin

Wire

Circuit

Function

1

0.75 RD

--

Ignition Voltage

2

0.5 L-GN

--

Fuel Injector 4 Control

Fuel Pump and Sender Assembly


Object Number: 334997  Size: CH

Connector Part Information

  • OEM: 90980-11077
  • Service: N/A
  • Description: 5-Way F (GY)

Fuel Pump and Sender Assembly

Pin

Wire

Circuit

Function

1

--

--

Not Used

2

0.35 PK

--

Fuel Level Sensor Signal

3

0.35 BN

--

Low Reference (FWD)

0.35 D-BU

--

Fuel Level Sensor Signal (AWD)

4

1.0 BK

--

Ignition Voltage

5

1.0 WH/BK

--

Ground

Fuel Pump and Sender Assembly - Secondary (F46)


Object Number: 2037206  Size: CH

Connector Part Information

  • OEM: 90980-11140
  • Service: N/A
  • Description: 2-Way F

Fuel Pump and Sender Assembly - Secondary (F46)

Pin

Wire

Circuit

Function

1

0.35 D-BU

--

Fuel Level Sensor Signal

2

0.35 BN

--

Low Reference

Generator


Object Number: 2035434  Size: CH

Connector Part Information

  • OEM: 90980-11964
  • Service: N/A
  • Description: 4-Way F (BK)

Generator

Pin

Wire

Circuit

Function

1

0.5 WH

--

Battery Positive Voltage

2

0.5 D-GN

--

Ignition Voltage

3

0.5 D-BU

--

Generator Field Duty Cycle Signal Out

4

0.5 YE

--

Charge Indicator Control

Hazard Warning Switch


Object Number: 2037165  Size: CH

Connector Part Information

  • OEM: 82824-21030
  • Service: N/A
  • Description: 4-Way F (GY)

Hazard Warning Switch

Pin

Wire

Circuit

Function

1

0.35 WH/BK

--

Ground

2

0.35 WH

--

Instrument Panel Dimming Low Control

3

0.35 D-GN

--

Instrument Panel Dimming Voltage

4

0.35 BG

--

Hazard Switch Signal

Headlamp - Left High Beam


Object Number: 2035422  Size: CH

Connector Part Information

  • OEM: 90980-11659
  • Service: N/A
  • Description: 2-Way F (BK)

Headlamp - Left High Beam

Pin

Wire

Circuit

Function

1

2.0 RD/BK

--

Left Headlamp High Beam Control

2

2.0 RD

--

Left Headlamp High Beam/DRL Low Control

Headlamp - Left Low Beam


Object Number: 2035423  Size: CH

Connector Part Information

  • OEM: 90980-11660
  • Service: N/A
  • Description: 2-Way F (BN)

Headlamp - Left Low Beam

Pin

Wire

Circuit

Function

1

0.85 RD

--

Left Headlamp Low Beam Control

2

0.85 WH/BK

--

Ground

Headlamp - Right High Beam


Object Number: 2035422  Size: CH

Connector Part Information

  • OEM: 90980-11659
  • Service: N/A
  • Description: 2-Way F (BK)

Headlamp - Right High Beam

Pin

Wire

Circuit

Function

1

2.0 RD/BK

--

Right Headlamp High Beam Control

2

2.0 RD

--

Right Headlamp High Beam/DRL Low Control

Headlamp - Right Low Beam


Object Number: 2035423  Size: CH

Connector Part Information

  • OEM: 90980-11660
  • Service: N/A
  • Description: BN

Headlamp - Right Low Beam

Pin

Wire

Circuit

Function

1

1.25 RD

--

Right Headlamp Low Beam Control

2

1.25 WH/BK

--

Ground

Heated Oxygen Sensor (HO2S) Bank 1 Sensor 2 (LAX without F46))


Object Number: 335001  Size: CH

Connector Part Information

  • OEM: 90980-11028
  • Service: N/A
  • Description: 4-Way F (GY)

Heated Oxygen Sensor (HO2S) Bank 1 Sensor 2 (LAX without F46)

Pin

Wire

Circuit

Function

1

0.5 PK

--

HO2S Heater Low Control (B1S2)

2

0.5 BK

--

Ignition Voltage

3

0.5 BK

--

HO2S High Signal (B1S2)

4

0.5 L-GN/BK

--

HO2S Low Signal (B1S2)

Heated Oxygen Sensor (HO2S) Bank 1 Sensor 1 (LAX)


Object Number: 2035435  Size: CH

Connector Part Information

  • OEM: 90980-11178
  • Service: N/A
  • Description: 4-Way F (GY)

Heated Oxygen Sensor (HO2S) Bank 1 Sensor 1 (LAX)

Pin

Wire

Circuit

Function

1

1.25 RD

--

HO2S Heater Low Control (B1S1)

2

1.25 BK

--

Ignition Voltage

3

0.5 YE

--

HO2S High Signal (B1S1)

4

0.5 D-BU

--

HO2S Low Signal (B1S1)

Heated Oxygen Sensor (HO2S) Bank 1 Sensor 1 (LAY)


Object Number: 820054  Size: CH

Connector Part Information

  • OEM: 90980-10869
  • Service: N/A
  • Description: 4-Way F (GY)

Heated Oxygen Sensor (HO2S) Bank 1 Sensor 1 (LAY)

Pin

Wire

Circuit

Function

1

0.5 RD

--

HO2S Heater Low Control (B1S1)

2

0.75 BK

--

Ignition Voltage

3

0.5 YE

--

HO2S High Signal (B1S1)

4

0.5 D-BU

--

HO2S Low Signal (B1S1)

Heated Oxygen Sensor (HO2S) Bank 1 Sensor 2 (LAX with F46)


Object Number: 820019  Size: CH

Connector Part Information

  • OEM: 90980-10794
  • Service: N/A
  • Description: 4-Way M (WH)

Heated Oxygen Sensor (HO2S) Bank 1 Sensor 2 (LAX with F46)

Pin

Wire

Circuit

Function

1

0.5 RD

--

HO2S Heater Low Control (B1S2)

2

0.5 BK

--

Ignition Voltage

3

0.5 YE

--

HO2S High Signal (B1S2)

4

0.5 BN

--

HO2S Low Signal (B1S2)

Horn


Object Number: 2035418  Size: CH

Connector Part Information

  • OEM: 90980-10619
  • Service: N/A
  • Description: 1-Way (BK)

Horn

Pin

Wire

Circuit

Function

1

0.5 BK

--

Horn Control

Horn Switch


Object Number: 2037225  Size: CH

Connector Part Information

  • OEM: 90980-12360
  • Service: N/A
  • Description: 4-Way F

Horn Switch

Pin

Wire

Circuit

Function

1

YE

--

Horn Relay Control

2

BN

--

Ground

3

YE

--

Horn Relay Control

4

BN

--

Ground

HVAC Control Module X1


Object Number: 2035444  Size: CH

Connector Part Information

  • OEM: 90980-12553
  • Service: N/A
  • Description: 16-Way F

HVAC Control Module X1

Pin

Wire

Circuit

Function

1

0.35 BK

--

5-Volt Reference

2

0.35 VT

--

High Speed GMLAN Serial Data Bus+

3

0.35 WH

--

High Speed GMLAN Serial Data Bus-

4

0.35 D-GN

--

Low Reference

5

--

--

Not Used

6

0.35 D-BU

--

A/C Refrigerant Pressure Sensor Signal

7

0.35 VT

--

A/C Compressor Clutch Control

8

0.35 RD

--

Ignition Voltage

9

0.35 GY

--

Heater Relay Control

10

0.35 L-GN

--

Low Reference

11

0.35 L-BU

--

Evaporator Temperature Sensor Signal

12

0.35 WH/BK

--

Ground

13

--

--

Not Used

14

--

--

Not Used

15

0.35 YE

--

A/C Request Signal

16

0.35 BG

--

Dimming Signal

HVAC Control Module X2


Object Number: 2035445  Size: CH

Connector Part Information

  • OEM: 90980-12554
  • Service: N/A
  • Description: 24-Way F

HVAC Control Module X2

Pin

Wire

Circuit

Function

1

0.35 BN

--

Battery Positive Voltage

2-8

--

--

Not Used

9

0.35 PK

--

Heater Sub #1 Relay Control

10

0.35 BK

--

Heater Sub #3 Relay Control

11-13

--

--

Not Used

14

0.35 GY

--

Heater Request Signal

15-22

--

--

Not Used

23

0.35 VT

--

Headlamp Relay Control

24

0.35 D-BU

--

Generator Turn On Signal

HVAC Heater Element X1


Object Number: 2035414  Size: CH

Connector Part Information

  • OEM: 90980-10956
  • Service: N/A
  • Description: 3-Way F

HVAC Heater Element X1

Pin

Wire

Circuit

Function

1

2.0 WH

--

HTR Sub #1 Relay Power Feed

2

--

--

Not Used

3

2.0 WH/D-BU

--

HTR Sub #3 Relay Power Feed

HVAC Heater Element X2


Object Number: 2035415  Size: CH

Connector Part Information

  • OEM: 90980-10909
  • Service: N/A
  • Description: 3-Way F (WH)

HVAC Heater Element X2

Pin

Wire

Circuit

Function

1

2.0 WH/BK

--

Ground

2

2.0 WH/BK

--

Ground

HVAC Mode Switch


Object Number: 2037167  Size: CH

Connector Part Information

  • OEM: 90980-12550
  • Service: N/A
  • Description: 8-Way F (GY)

HVAC Mode Switch

Pin

Wire

Circuit

Function

1

0.35 YE

--

Mode Switch Signal

2

0.35 RD

--

A/C Mode Indicator

3

0.35 BK

--

Air Mix Servo - Panel Vents

4

0.35 WH/BK

--

Ground

5

0.35 PK

--

Air Mix Servo - Recirculation Indicator

6

0.35 WH

--

Illumination (+)

7

0.35 D-GN

--

Illumination (-)

8

0.35 RD

--

Ignition 1 Voltage

HVAC Temperature Switch


Object Number: 2037158  Size: CH

Connector Part Information

  • OEM: 90980-12558
  • Service: N/A
  • Description: 8-Way F (BK)

HVAC Temperature Switch

Pin

Wire

Circuit

Function

1

--

--

Not Used

2

0.35 RD

--

Ignition 1 Voltage

3

0.35 YE

--

A/C Switch - Signal

4

0.35 BG

--

A/C Switch Indicator - Low Reference

5

0.35 D-GN

--

Instrument Panel Lamps Dimmer Low Control

6

0.35 WH

--

Instrument Panel lamp Dimmer Switch - Output

7

0.35 RD

--

Ignition 1 Voltage

8

0.35 GY

--

Max Hot Switch - Signal

Ignition Coil 1


Object Number: 820192  Size: CH

Connector Part Information

  • OEM: 90980-11885
  • Service: N/A
  • Description: 4-Way F (BN)

Ignition Coil 1

Pin

Wire

Circuit

Function

1

0.85 RD

--

Ignition Voltage

2

0.5 YE

--

Low Reference

3

0.5 WH/D-BU

--

IC 1 Control

4

0.5 WH/BK

--

Ground

Ignition Coil 2


Object Number: 820192  Size: CH

Connector Part Information

  • OEM: 90980-11885
  • Service: N/A
  • Description: 4-Way F (BN)

Ignition Coil 2

Pin

Wire

Circuit

Function

1

0.85 RD

--

Ignition Voltage

2

0.5 YE

--

Low Reference

3

0.5 BK

--

IC 2 Control

4

0.5 WH/BK

--

Ground

Ignition Coil 3


Object Number: 820192  Size: CH

Connector Part Information

  • OEM: 90980-11885
  • Service: N/A
  • Description: 4-Way F (BN)

Ignition Coil 3

Pin

Wire

Circuit

Function

1

0.85 RD

--

Ignition Voltage

2

0.5 YE

--

Low Reference

3

0.5 D-BU/BK

--

IC 3 Control

4

0.5 WH/BK

--

Ground

Ignition Coil 4


Object Number: 820192  Size: CH

Connector Part Information

  • OEM: 90980-11885
  • Service: N/A
  • Description: 4-Way F (BN)

Ignition Coil 4

Pin

Wire

Circuit

Function

1

0.85 RD

--

Ignition Voltage

2

0.5 YE

--

Low Reference

3

0.5 BK

--

IC 4 Control

4

0.5 WH/BK

--

Ground

Ignition Key Alarm Switch


Object Number: 2035443  Size: CH

Connector Part Information

  • OEM: 90980-12063
  • Service: N/A
  • Description: 2-Way F

Ignition Key Alarm Switch

Pin

Wire

Circuit

Function

1

0.35 D-BU

--

Ignition Key Alarm Switch Signal

2

0.35 WH/BK

--

Ground

Ignition Lock Cylinder Control Solenoid


Object Number: 335004  Size: CH

Connector Part Information

  • OEM: 90980-10825
  • Service: N/A
  • Description: 2-Way F (WH)

Ignition Lock Cylinder Control Solenoid

Pin

Wire

Circuit

Function

1

0.35 WH/BK

--

Ground

2

0.35 YE

--

--

Ignition Switch


Object Number: 334474  Size: CH

Connector Part Information

  • OEM: 90980-11615
  • Service: N/A
  • Description: 8-Way F (WH)

Ignition Switch

Pin

Wire

Circuit

Function

1

0.35 WH

--

Ignition Voltage

2

0.35 RD

--

Ignition Relay Feed

3

0.35 GY

--

Ignition Accessory Feed (LAY)

0.5 GY

--

Ignition Accessory Feed (LAX)

4

0.35 D-GN

--

Ignition Run

5

--

--

Not Used

6

0.35 BN

--

Ignition Accessory Feed (LAY)

2 BN

--

Ignition Accessory Feed (LAX)

7

0.35 D-BU

--

Battery Positive Voltage (LAY)

3 D-BU

--

Battery Positive Voltage (LAX)

8

0.35 BK

--

Ignition Voltage (LAY)

0.35 BK

--

Ignition Voltage (LAY)

8

3 BK

--

Ignition Voltage(LAX)

Inflatable Restraint Front End Sensor - Left


Object Number: 2035413  Size: CH

Connector Part Information

  • OEM: 90980-12490
  • Service: N/A
  • Description: 2-Way F (YE)

Inflatable Restraint Front End Sensor - Left

Pin

Wire

Circuit

Function

1

0.5 BK

--

Discriminating Sensor - Low Reference

2

0.5 WH

--

Discriminating Sensor - Signal

Inflatable Restraint Front End Sensor - Right


Object Number: 2035413  Size: CH

Connector Part Information

  • OEM: 90980-12490
  • Service: N/A
  • Description: 2-Way F (YE)

Inflatable Restraint Front End Sensor - Right

Pin

Wire

Circuit

Function

1

0.5 BK

--

Discriminating Sensor - Low Reference

2

0.5 WH

--

Discriminating Sensor - Signal

Inflatable Restraint Front Passenger Presence System (PPS) Module


Object Number: 2037213  Size: CH

Connector Part Information

  • OEM: 90980-AA010
  • Service: N/A
  • Description: 18-Way F (BK)

Inflatable Restraint Front Passenger Presence System (PPS) Module

Pin

Wire

Circuit

Function

1-2

--

--

Not Used

3

OG

--

Seat Position Sensor - Low Reference

4

VT

--

Seat Position Sensor - Right - Signal

5

WH/BK

--

Ground

6

WH

--

PPS - Signal

7

L-GN

--

PPS - Voltage

8

YE

--

Seat Belt Tension Sensor - Passenger - Ground

9

BK

--

Battery Positive Voltage

10

WH

--

Low Speed Serial Data

11

WH

--

Occupant Sensor - Serial Data +

12

BK

--

Occupant Sensor - Serial Data -

13

D-GN

--

Seat Belt Switch - Right - Signal

14

PK

--

Seat Belt Switch - Right - Low Reference

15

GY

--

PPS - Ground

16

RD

--

Seat Belt Tension Sensor - Passenger - Signal

17

D-GN

--

Seat Belt Tension Sensor - Passenger - Voltage

18

--

--

Not Used

Inflatable Restraint Front Passenger Presence System (PPS) Sensor


Object Number: 2037214  Size: CH

Connector Part Information

  • OEM: 90980-AA011
  • Service: N/A
  • Description: 3-Way F (GY)

Inflatable Restraint Front Passenger Presence System (PPS) Sensor

Pin

Wire

Circuit

Function

1

GY

--

PPS - Ground

2

WH

--

PPS - Signal

3

L-GN

--

PPS - Voltage

Inflatable Restraint I/P Module X1


Object Number: 2037215  Size: CH

Connector Part Information

  • OEM: 90980-12576
  • Service: N/A
  • Description: 2-Way F (OG)

Inflatable Restraint I/P Module X1

Pin

Wire

Circuit

Function

1

YE/D-GN

--

I/P Module - Stage 2 - High Control

2

YE/RD

--

I/P Module - Stage 2 - Low Control

Inflatable Restraint I/P Module X2


Object Number: 2037204  Size: CH

Connector Part Information

  • OEM: 90980-12575
  • Service: N/A
  • Description: 2-Way F (BK)

Inflatable Restraint I/P Module X2

Pin

Wire

Circuit

Function

1

YE

--

I/P Module - Stage 1 - Low Control

2

YE/BK

--

I/P Module - Stage 1 - High Control

Inflatable Restraint Roof Rail Module - Left


Object Number: 2037204  Size: CH

Connector Part Information

  • OEM: 90980-12575
  • Service: N/A
  • Description: 2-Way F (BK)

Inflatable Restraint Roof Rail Module - Left

Pin

Wire

Circuit

Function

1

0.5 YE

--

Side Impact Module - Left Front - High Control

2

0.5 YE/BK

--

Side Impact Module - Left Front - Low Control

Inflatable Restraint Roof Rail Module - Right


Object Number: 2037204  Size: CH

Connector Part Information

  • OEM: 90980-12575
  • Service: N/A
  • Description: 2-Way F (BK)

Inflatable Restraint Roof Rail Module - Right

Pin

Wire

Circuit

Function

1

0.5 YE

--

Side Impact Module - Right Front - High Control

2

0.5 YE/BK

--

Side Impact Module - Right Front - Low Control

Inflatable Restraint Seat Belt Tension Sensor -- Passenger


Object Number: 820083  Size: CH

Connector Part Information

  • OEM: 90980-10909
  • Service: N/A
  • Description: 3-Way F (WH)

Inflatable Restraint Seat Belt Tension Sensor -- Passenger

Pin

Wire

Circuit

Function

1

0.35 YE

--

Low Reference

2

0.35 D-GN

--

Passenger Seat Belt Tension Sensor Voltage Reference

3

0.35 RD

--

Passenger Seat Belt Tension Sensor Voltage Signal

Inflatable Restraint Seat Position Sensor - Passenger


Object Number: 2035419  Size: CH

Connector Part Information

  • OEM: 90980-12416
  • Service: N/A
  • Description: 2-Way F (BK)

Inflatable Restraint Seat Position Sensor - Passenger

Pin

Wire

Circuit

Function

1

OG

--

Low Reference

2

VT

--

Seat Position Sensor Right - Signal

Inflatable Restraint Side Impact Module - Left


Object Number: 2037205  Size: CH

Connector Part Information

  • OEM: 90980-12698
  • Service: N/A
  • Description: 2-Way F (YE)

Inflatable Restraint Side Impact Module - Left

Pin

Wire

Circuit

Function

1

0.5 YE/BK

--

Side Impact Module - Left - High Control

2

0.5 YE

--

Side Impact Module - Left - Low Control

Inflatable Restraint Side Impact Module - Right


Object Number: 2037205  Size: CH

Connector Part Information

  • OEM: 90980-12698
  • Service: N/A
  • Description: 2-Way F (YE)

Inflatable Restraint Side Impact Module - Right

Pin

Wire

Circuit

Function

1

0.5 YE/BK

--

Side Impact Module - Right - High Control

2

0.5 YE

--

Side Impact Module - Right - Low Control

Inflatable Restraint Side Impact Sensor (SIS) - Left


Object Number: 2037202  Size: CH

Connector Part Information

  • OEM: 90980-12699
  • Service: N/A
  • Description: 4-Way F (YE)

Inflatable Restraint Side Impact Sensor (SIS) - Left

Pin

Wire

Circuit

Function

1

0.5 WH

--

Side Impact Module - Left Rear - High Control

2

0.5 BK

--

Side Impact Module - Left Rear - Low Control

3

0.5 RD

--

Side Impact Module - Left Rear - Low Control

4

0.5 D-GN

--

Side Impact Module - Left Rear - High Control

Inflatable Restraint Side Impact Sensor (SIS) - Left Rear


Object Number: 2037203  Size: CH

Connector Part Information

  • OEM: 90980-12717
  • Service: N/A
  • Description: 2-Way F (YE)

Inflatable Restraint Side Impact Sensor (SIS) - Left Rear

Pin

Wire

Circuit

Function

1-2

--

--

Not Used

3

0.5 BK

--

Inflatable Restraint Side Impact Sensor - Left Rear - Low Control

4

0.5 WH

--

Inflatable Restraint Side Impact Sensor - Left Rear - High Control

Inflatable Restraint Side Impact Sensor (SIS) - Right


Object Number: 2037202  Size: CH

Connector Part Information

  • OEM: 90980-12699
  • Service: N/A
  • Description: 4-Way F (YE)

Inflatable Restraint Side Impact Sensor (SIS) - Right

Pin

Wire

Circuit

Function

1

0.5 WH

--

Inflatable Restraint Side Impact Sensor - Right Rear - High Control

2

0.5 BK

--

Inflatable Restraint Side Impact Sensor - Right Rear - Low Control

3

0.5 RD

--

Inflatable Restraint Side Impact Sensor - Right Rear - Low Control

4

0.5 D-GN

--

Inflatable Restraint Side Impact Sensor - Right Rear - High Control

Inflatable Restraint Side Impact Sensor (SIS) - Right Rear


Object Number: 2037203  Size: CH

Connector Part Information

  • OEM: 90980-12717
  • Service: N/A
  • Description: 2-Way F (YE)

Inflatable Restraint Side Impact Sensor (SIS) - Right Rear

Pin

Wire

Circuit

Function

1-2

--

--

Not Used

3

0.5 BK

--

Inflatable Restraint Side Impact Sensor - Right Rear - Low Control

4

0.5 WH

--

Inflatable Restraint Side Impact Sensor - Right Rear - High Control

Inflatable Restraint Sensing and Diagnostic Module (SDM) X1


Object Number: 1619220  Size: CH

Connector Part Information

  • OEM: 90980-12391
  • Service: N/A
  • Description: 30-Way F (YE)

Inflatable Restraint Sensing and Diagnostic Module (SDM) X1

Pin

Wire

Circuit

Function

1

0.5 YE/RD

--

I/P Module - Stage 1 - High Control

2

0.5 YE/D-GN

--

I/P Module - Stage 1 - Low Control

3

0.5 YE

--

I/P Module - Stage 2 - High Control

4

0.5 YE/BK

--

I/P Module - Stage 2 - Low Control

5

0.5 YE/BK

--

Steering Wheel Module - Stage 1 - High Control

6

0.5 YE

--

Steering Wheel Module - Stage1 - Low Control

7

0.5 YE/D-GN

--

Steering Wheel Module - Stage2 - Low Control

8

0.5 YE/RD

--

Steering Wheel Module - Stage2 - High Control

9-12

--

--

Not Used

13

0.35 YE

--

High Speed GMLAN Serial Data Bus+

14-15

--

--

Not Used

16

0.35 WH

--

Low Speed Serial Data

17

0.35 BK

--

SIR Defeat Indicator Lamp - Passenger - Output

18-20

--

--

Not Used

21

0.5 BK

--

Ignition 1 Voltage

22

0.35 WH

--

High Speed GMLAN Serial Data Bus-

23

0.35 RD

--

SRS ON Indicator Lamp - Passenger Output

24

0.5 L-BU

--

Onstar

25

0.5 WH/BK

--

Ground

26

0.5WH/BK

--

Ground

27

0.5 BK

--

Discriminating Sensor - Low Reference

28

0.5 BK

--

Discriminating Sensor - Low Reference

29

0.5 WH

--

Discriminating Sensor - Signal

30

0.5 WH

--

Discriminating Sensor - Signal

Inflatable Restraint Sensing and Diagnostic Module (SDM) X2


Object Number: 1619221  Size: CH

Connector Part Information

  • OEM: 90980-12449
  • Service: N/A
  • Description: 15-Way F (YE)

Inflatable Restraint Sensing and Diagnostic Module (SDM) X2

Pin

Wire

Circuit

Function

1

0.5 YE

--

Seat Belt Pretensioner - Driver - Low Control

2

0.5 YE/BK

--

Seat Belt Pretensioner - Driver - High Control

3-5

--

--

Not Used

6

0.5 YE/BK

--

Side Impact Module - LF - Low Control

7

0.5 YE

--

Side Impact Module - LF - High Control

8

0.5 D-GN

--

Inflatable Restraint Side Impact Sensor - Left Rear - High Control

9

0.5 YE/BK

--

Inflatable Restraint Side Impact Module - Left - High Control

10

0.5 YE

--

Inflatable Restraint Side Impact Module - Left - Low Control

11

0.5 D-GN

--

Seat Belt Switch - Left - Signal

12

0.5 YE

--

Seat Belt Switch - Left - Low Reference

13

0.5 BK

--

Seat Position Sensor - Low Reference

14

0.5 WH

--

Seat Position Sensor - Left - Signal

15

0.5 RD

--

Inflatable Restraint Side Impact Sensor - Left Rear - Low Control

Inflatable Restraint Sensing and Diagnostic Module (SDM) X3


Object Number: 1619223  Size: CH

Connector Part Information

  • OEM: 90980-12450
  • Service: N/A
  • Description: 15-Way F (YE)

Inflatable Restraint Sensing and Diagnostic Module (SDM) X3

Pin

Wire

Circuit

Function

1-3

--

--

Not Used

4

0.5 YE/BK

--

Seat Belt Pretensioner - Passenger - High Control

5

0.5 YE

--

Seat Belt Pretensioner - Passenger - Low Control

6

0.5 YE

--

Side Impact Module - Right - Low Control

7

0.5 YE/BK

--

Side Impact Module - Right - High Control

8

0.5 D-GN

--

Side Impact Module - Right Rear - High Control

9

0.5 YE

--

Side Impact Module - LF - High Control

10

0.5 YE/BK

--

Side Impact Module - LF - Low Control

11

0.5 RD

--

Side Impact Module - Right Rear - Low Control

12

0.35 WH

--

Occupant Sensor - Serial Data (+)

13

0.35 BK

--

Occupant Sensor - Serial Data (-)

14- 15

--

--

Not Used

Inflatable Restraint Steering Wheel Module X1


Object Number: 2037226  Size: CH

Connector Part Information

  • OEM: 90980-12224
  • Service: N/A
  • Description: 2-Way F (OG)

Inflatable Restraint Steering Wheel Module X1

Pin

Wire

Circuit

Function

1

D-BU

--

Steering Wheel Module - Stage1 - High Control

2

YE

--

Steering Wheel Module - Stage1 - Low Control

Inflatable Restraint Steering Wheel Module X2


Object Number: 2037226  Size: CH

Connector Part Information

  • OEM: 90980-12219
  • Service: N/A
  • Description: 2-Way F (BK)

Inflatable Restraint Steering Wheel Module X2

Pin

Wire

Circuit

Function

1

BK

--

Steering Wheel Module - Stage2 - High Control

2

RD

--

Steering Wheel Module - Stage2 - Low Control

Inflatable Restraint Steering Wheel Module Coil X1


Object Number: 2035446  Size: CH

Connector Part Information

  • OEM: 90980-12552
  • Service: N/A
  • Description: 12-Way F (BK)

Inflatable Restraint Steering Wheel Module Coil X1

Pin

Wire

Circuit

Function

1

0.35 YE

--

Steering Wheel Controls - Cruise Control - Signal

2

0.35 BN

--

Steering Wheel Controls - Cruise Control - Ground

3

--

--

Not Used

4

0.35 L-BU

--

Steering Wheel Controls - Radio - Power

5

0.35 PK

--

Steering Wheel Controls - Radio - Source Signal

6

0.35 BG

--

Steering Wheel Controls - Radio - Signal

7

--

--

Not Used

8

0.35 L-GN

--

Horn Relay Control

9-11

--

--

Not Used

12

0.35 D-GN

--

Steering Wheel Controls - Radio - Dimming Signal

Inflatable Restraint Steering Wheel Module Coil X2


Object Number: 820245  Size: CH

Connector Part Information

  • OEM: 90980-12160
  • Service: N/A
  • Description: 4-Way F (YE)

Inflatable Restraint Steering Wheel Module Coil X2

Pin

Wire

Circuit

Function

1

0.5 YE/BK

--

Steering Wheel Module - Stage1 - High Control

2

0.5 YE

--

Steering Wheel Module - Stage1 - Low Control

3

0.5 YE/D-GN

--

Steering Wheel Module - Stage2 - Low Control

4

0.5 YE/RD

--

Steering Wheel Module - Stage2 - High Control

Inflatable Restraint Steering Wheel Module Coil X3


Object Number: 820245  Size: CH

Connector Part Information

  • OEM: 90980-12160
  • Service: N/A
  • Description: 4-Way F (YE)

Inflatable Restraint Steering Wheel Module Coil X3

Pin

Wire

Circuit

Function

1

0.5 D-BU

--

Steering Wheel Module - Stage1 - High Control

2

0.5 YE

--

Steering Wheel Module - Stage1 - Low Control

3

0.5 RD

--

Steering Wheel Module - Stage2 - Low Control

4

0.5 BK

--

Steering Wheel Module - Stage2 - High Control

Inflatable Restraint Steering Wheel Module Coil X4


Object Number: 2037217  Size: CH

Connector Part Information

  • OEM: 90980-12361
  • Service: N/A
  • Description: 10-Way F (WH)

Inflatable Restraint Steering Wheel Module Coil X4

Pin

Wire

Circuit

Function

1

0.35 D-BU

--

Ground

2-4

--

--

Not Used

5

0.35 WH/RD

--

Instrument Panel Dimming Voltage

6-7

--

--

Not Used

8

0.35 WH

--

Steering Wheel Controls - Radio - Power

9

0.35 GY

--

Steering Wheel Controls - Radio - Source Signal

10

0.35 BN

--

Steering Wheel Controls - Radio - Signal

Inflatable Restraint Steering Wheel Module Coil X5


Object Number: 2037225  Size: CH

Connector Part Information

  • OEM: 90980-12360
  • Service: N/A
  • Description: 4-Way F (WH)

Inflatable Restraint Steering Wheel Module Coil X5

Pin

Wire

Circuit

Function

1-2

--

--

Not Used

3

RD

--

--

4

BK

--

--

Inside Rearview Mirror (ISRVM) (UE1)


Object Number: 339889  Size: CH

Connector Part Information

  • OEM: 90980-11391
  • Service: See Catalog
  • Description: 16-Way F (BK)

Inside Rearview Mirror (ISRVM) (UE1)

Pin

Wire

Circuit

Function

1

--

--

Not Used

2

0.35 D-GN

--

Microphone (-)

3-7

--

--

Not Used

8

0.5 BN

--

Ground

9

--

--

Not Used

10

0.35 RD

--

Microphone (+)

11

0.35 L-BU

--

Key Pad Signal

12

0.35 YE

--

Accessory Power

13

--

--

Not Used

14

0.35 BG

--

Indicator Control

15

0.35 L-GN

--

Illumination Control

16

--

--

Not Used

Instrument Panel Cluster (IPC)


Object Number: 2037166  Size: CH

Connector Part Information

  • OEM: 90980-12557
  • Service: N/A
  • Description: 40-Way F

Instrument Panel Cluster (IPC)

Pin

Wire

Circuit

Function

1

0.35 WH

--

SRS Indicator Control

2

0.35 BG

--

Washer Fluid Level Switch Indicator Control

3

0.35 D-BU

--

Headlamp Indicator Low Reference

4

0.35 RD

--

Dimmer Relay Supply Voltage - High Beam

5

0.35 D-BU

--

Flasher Relay Signal - Right Turn

6

0.35 YE

--

Flasher Relay Signal - Left Turn

7

0.35 PK

--

Tire Pressure Monitoring System Signal

8

--

--

Not Used

9

0.35 L-GN

--

Low Reference

10

0.35 BN

--

Fuel Level Signal

11

0.35 WH/BK

--

Ground

12-15

--

--

Not Used

16

0.5 PK

--

Fog Lights Indicator Control

17

0.35 GY

--

DRL Indicator Control

18-19

--

--

Not Used

20

0.35 RD

--

MIL Control

21-22

--

--

Not Used

23

0.35 GY

--

Ambient Air Temperature Sensor Signal

24

0.35 D-GN

--

Tail Lamp Relay Signal Control

25

0.35 PK

--

Fuel Level Signal (+)

26

0.35 WH

--

Instrument Panel Lamps Dimmer Switch - Output

27

0.35 D-GN

--

High Speed GMLAN Serial Data Bus+

28

0.35 WH

--

High Speed GMLAN Serial Data Bus-

29

0.35 WH

--

Instrument Panel Lamps Dimmer Switch - Output

30

0.35 BN

--

Ground

31

--

--

Not Used

32

0.35 RD

--

Battery Positive Voltage

33

0.35 BK

--

Ignition Voltage

34

--

--

Not Used

35

0.35 L-GN

--

Brake Indication Control

36

0.35 VT

--

Vehicle Speed Sensor Signal

37

--

--

Not Used

38

0.35 D-GN

--

Engine Oil Pressure Signal

39

0.35 YE

--

Generator Turn On Signal

40

0.35 BG

--

Brake Fluid level Sensor Signal

Knock Sensor (KS)


Object Number: 334996  Size: CH

Connector Part Information

  • OEM: 90980-11875
  • Service: N/A
  • Description: 2-Way F (BK)

Knock Sensor (KS)

Pin

Wire

Circuit

Function

1

0.5 WH

--

Knock Sensor 1 Signal (LAY)

0.3 WH

--

Knock Sensor 1 Signal (LAX)

2

0.5 BK

--

Knock Sensor 1 Signal (LAY)

0.3 BK

--

Knock Sensor 1 Signal (LAX)

License Lamp


Object Number: 820095  Size: CH

Connector Part Information

  • OEM: 90980-11162
  • Service: N/A
  • Description: 2-Way F (GY)

License Lamp

Pin

Wire

Circuit

Function

1

0.5 D-GN

--

Ground

2

0.5 WH/BK

--

Tail Lamp Relay Supply Voltage

Liftgate Latch Assembly


Object Number: 820192  Size: CH

Connector Part Information

  • OEM: 90980-11885
  • Service: N/A
  • Description: BK

Liftgate Latch Assembly

Pin

Wire

Circuit

Function

1

2.0 GN

--

Rear Motor Unlatch Control

2

2.0 BG

--

Rear Motor Latch Control

3

0.35 WH/BK

--

Ground

4

0.35 L-GN

--

Liftgate Ajar Switch Signal

Mass Air Flow (MAF) Sensor


Object Number: 2035429  Size: CH

Connector Part Information

  • OEM: 90980-12292
  • Service: N/A
  • Description: 5-Way F (BK)

Mass Air Flow (MAF) Sensor

Pin

Wire

Circuit

Function

1

0.5 PK

--

Battery Positive Voltage

2

0.5 BN/WH

--

Low Reference

3

0.5 BK

--

IAT Sensor Signal

4

0.5 BK

--

MAF Sensor Signal

5

0.5 VT

--

Low Reference

Outside Rearview Mirror (OSRVM) - Driver


Object Number: 2037173  Size: CH

Connector Part Information

  • OEM: 90980-12189
  • Service: N/A
  • Description: 5-Way M

Outside Rearview Mirror (OSRVM) - Driver

Pin

Wire

Circuit

Function

1-2

--

--

Not Used

3

0.35 BK

--

Power Window Switch Left/Right Control

4

0.35 YE

--

Mirror Motor Power

5

0.35 D-BU

--

Power Window Switch Up/Down Control

Outside Rearview Mirror (OSRVM) - Passenger


Object Number: 2037173  Size: CH

Connector Part Information

  • OEM: 90980-12189
  • Service: N/A
  • Description: 5-Way M

Outside Rearview Mirror (OSRVM) - Passenger

Pin

Wire

Circuit

Function

1-2

--

--

Not Used

3

0.35 L-GN

--

Power Window Switch Left/Right Control - Passenger

4

0.35 YE

--

Mirror Motor Power

5

0.35 D-GN

--

Power Window Switch Up/Down Control - Passenger

Outside Rearview Mirror (OSRVM) Switch


Object Number: 820664  Size: CH

Connector Part Information

  • OEM: 90980-11657
  • Service: N/A
  • Description: N/A

Outside Rearview Mirror (OSRVM) Switch

Pin

Wire

Circuit

Function

1

--

--

Not Used

2

0.35 L-GN

--

Power Window Switch Left/Right Control - Passenger

3

0.35 D-GN

--

Power Window Switch Up/Down Control - Passenger

4

0.35 D-BU

--

Power Window Switch Up/Down Control - Driver

5

0.35 BK

--

Power Window Switch Left/Right Control - Driver

6

0.35 YE

--

Mirror Motor Power

7

0.35 WH/BK

--

Ground

8

0.35 GY

--

Ignition 1 Voltage

9-10

--

--

Not Used

Parking Brake Switch


Object Number: 2001960  Size: CH

Connector Part Information

  • OEM: 90980-10871
  • Service: N/A
  • Description: 1-Way F

Parking Brake Switch

Pin

Wire

Circuit

Function

1

0.5 BG

--

Park Brake Switch Signal

Park/Neutral Position (PNP) Switch


Object Number: 2035433  Size: CH

Connector Part Information

  • OEM: 90980-12362
  • Service: N/A
  • Description: 9-Way F (GY)

Park/Neutral Position (PNP) Switch

Pin

Wire

Circuit

Function

1

0.5 RD

--

Backup Lamp Feed

2

0.5 D-GN

--

Ignition 1 Voltage

3

0.5 BN

--

PNP Switch Second Signal (without MVD)

4

0.5 WH

--

Ignition 1 Voltage

5

0.5 L-GN

--

Park/Neutral Switch Signal

6

0.5 VT

--

PNP Switch Park Signal

7

0.5 PK

--

PNP Switch Driver Signal (without MVD)

0.5 PK/D-GN

--

PNP Switch Driver Signal (MVD)

8

0.5 GY

--

PNP Switch Low Signal (without MVD)

--

--

PNP Switch Low Signal (MVD)

9

0.5 BK

--

PNP Switch Neutral Signal

Park/Turn Signal Lamp - Left


Object Number: 2035359  Size: CH

Connector Part Information

  • OEM: 90980-11020
  • Service: N/A
  • Description: 3-Way F (GY)

Park/Turn Signal Lamp - Left

Pin

Wire

Circuit

Function

1

0.5 YE

--

Flasher Relay Power Feed

2

0.5 D-GN

--

Turn Lamp Relay Power Feed

3

0.5 WH/BK

--

Ground

Park/Turn Signal Lamp - Right


Object Number: 2035359  Size: CH

Connector Part Information

  • OEM: 90980-11020
  • Service: N/A
  • Description: 3-Way F (GY)

Park/Turn Signal Lamp - Right

Pin

Wire

Circuit

Function

1

0.5 D-BU/RD

--

Flasher Relay Power Feed

2

0.5 D-GN

--

Turn Lamp Relay Power Feed

3

0.5 WH/BK

--

Ground

Powertrain Control Module (PCM) X1 (LAY)


Object Number: 2020594  Size: CH

Connector Part Information

  • OEM: 90980-12461
  • Service: N/A
  • Description: 60-Way F (BK)

Powertrain Control Module (PCM) X1 (LAY)

Pin

Wire

Circuit

Function

1

1.25 BK

--

Ignition Voltage

2

1.25 BK

--

Ignition Voltage

3

0.3 BK

--

Battery Positive Voltage

4-6

--

--

Not Used

7

0.3 OG

--

Fuel Pump Relay Control

8

0.3 VT

--

Vehicle Speed Sensor Signal

9

0.3 WH/BK

--

Ground

10

0.3 L-GN/BK

--

Immobilizer Signal Out

11

0.3 PK

--

Immobilizer Signal In

12

--

--

Not Used

13

0.3 D-BU/YE

--

Accessory Relay Control

14

0.3 WH/D-GN

--

Ignition Voltage

15

0.3 GY

--

Engine Speed Signal

16-19

--

--

Not Used

20

1.25 PK

--

Battery Positive Voltage

21-23

--

--

Not Used

24

0.3 RD

--

MIL Control

25

--

--

Not Used

26

0.5 OD

--

Shift Lock Relay Control

27

0.5 PK

--

Low Speed Serial Data

28

0.3 BK

--

Ignition Voltage

29-30

--

--

Not Used

31

0.5 BK

--

Park Lamp Switch Signal

32

0.3 WH/BK

--

Ground

33

0.5 D-GN

--

Rear Defog Supply Voltage

34

0.3 RD

--

EVAP Pump Control

35

0.3 RD

--

Stop Lamp Switch Signal (Ignition)

36

0.5 D-BU

--

Stop Lamp Switch Signal (Battery)

37-39

--

--

Not Used

40

0.3 D-BU/BK

--

Cruise Control Switch Signal

41

0.3 YE

--

High Speed GMLAN Serial Data Bus+

42

0.3 WH

--

EVAP Vent Solenoid Control

43

0.3 RD/D-GN

--

Cooling Fan Relay Control

44

0.3 D-BU

--

Main Relay Control

45-47

--

--

Not Used

48

0.5 L-GN

--

Park/Neutral Switch Signal

49

0.3 WH

--

High Speed GMLAN Serial Data Bus-

50-54

--

--

Not Used

55

0.3 D-BU

--

5-Volt Reference

56

0.3 YE

--

5-Volt Reference

57

0.3 PK

--

APP Sensor 1 Signal

58

0.3 BK

--

APP Sensor 2 Signal

59

0.3 RD

--

Low Reference

60

0.3 OG

--

Low Reference

Powertrain Control Module (PCM) X1 (LAX)


Object Number: 2020594  Size: CH

Connector Part Information

  • OEM: 90980-12461
  • Service: N/A
  • Description: 60-Way F (BK)

Powertrain Control Module (PCM) X1 (LAX)

Pin

Wire

Circuit

Function

1

1.25 BK

--

Ignition Voltage

2

1.25 BK

--

Ignition Voltage

3

0.3 BK

--

Battery Positive Voltage

4-6

--

--

Not Used

7

0.3 OG

--

Fuel Pump Relay Control

8

0.3 VT

--

Vehicle Speed Sensor Signal

9

0.3 WH/BK

--

Ground

10

0.3 L-GN/BK

--

Immobilizer Signal Out

11

0.3 PK

--

Immobilizer Signal In

12-14

--

--

Not Used

15

0.3 GY

--

Engine Speed Signal

16

0.3 WH

--

Shift Switch Tap Up Signal

17-19

--

--

Not Used

20

1.25 PK

--

Battery Positive Voltage

21

0.3 RD

--

Low Speed Cooling Fan Relay Control

22

0.3 WH

--

High Speed Cooling Fan Relay Control

23

--

--

Not Used

24

0.3 RD

--

MIL Control

25-26

--

--

Not Used

27

0.5 PK

--

Low Speed Serial Data

28

0.3 BK

--

Ignition Voltage

29-30

--

--

Not Used

31

0.5 BK

--

Rear Defog Supply Voltage

32

0.3 WH/BK

--

Ground

33

0.5 D-GN

--

Park Lamp Switch Signal

34

0.3 RD

--

EVAP Pump Control

35

0.3 RD

--

Stop Lamp Switch Signal (Ignition)

36

0.5 D-BU

--

Stop Lamp Switch Signal (Battery)

37-39

--

--

Not Used

40

0.3 D-BU/BK

--

Cruise Control Switch Signal

41

0.3 YE

--

High Speed GMLAN Serial Data Bus+

42

0.3 WH

--

EVAP Vent Solenoid Control

43

--

--

Not Used

44

0.3 D-BU

--

Main Relay Control

45-47

--

--

Not Used

48

0.5 L-GN

--

Park/Neutral Switch Signal

49

0.3 WH

--

High Speed GMLAN Serial Data Bus-

50

--

--

Not Used

51

0.3 RD

--

Shift Switch Tap Down Signal

52-54

--

--

Not Used

55

0.3 D-BU

--

5-Volt Reference

56

0.3 YE

--

5-Volt Reference

57

0.3 PK

--

APP Sensor 1 Signal

58

0.3 BK

--

APP Sensor 2 Signal

59

0.3 RD

--

Low Reference

60

0.3 OG

--

Low Reference

Powertrain Control Module (PCM) X2 (LAY)


Object Number: 2020596  Size: CH

Connector Part Information

  • OEM: 90980-12398
  • Service: N/A
  • Description: 126-Way F (BK)

Powertrain Control Module (PCM) X2 (LAY)

Pin

Wire

Circuit

Function

1-38

--

--

Not Used

39

0.5 VT

--

Shift Solenoid Valve SLT Low Control

40

0.5 L-GN

--

Shift Solenoid Valve SLT High Control

41

0.5 D-BU

--

TAC Motor Control - 2

42

0.5 PK

--

TAC Motor Control - 1

43

1.25 WH/BK

--

Ground

44

2.0 WH/BK

--

Ground

45

2.0 WH/BK

--

Ground

46

2.0 WH/BK

--

Ground

47

0.5 PK

--

HO2S Heater Low Control (B1S2)

48

--

--

Not Used

49

0.5 D-BU/BK

--

EVAP Purge Solenoid Control

50-51

--

--

Not Used

52

0.5 WH

--

Ignition Voltage

53

0.5 RD

--

Backup Lamp Switch Signal

54

0.5 BK

--

PNP Switch Neutral Signal

55

0.5 BN

--

PNP Switch Second Signal

56

0.5 L-GN

--

PNP Switch Drive Signal

0.5 PK

--

PNP Switch Drive Signal

57

0.5 WH

--

Shift Solenoid Valve SLU High Control

58-59

--

--

Not Used

60

0.5 BN/BK

--

Cam Phaser Control - B1 Exhaust

61

0.5 PK

--

Low Reference

62

--

--

Not Used

63

0.5 BN

--

Drain Wire

64

0.5 BK

--

HO2S High Signal (B1S2)

65

0.5 PK

--

IAT Sensor Signal

66

--

--

Not Used

67

0.5 YE

--

5-Volt Reference

68

0.5 YE

--

EVAP Canister Pressure Sensor Signal

69

0.5 VT

--

5-Volt Reference

70

0.5 BN/RD

--

Camshaft Cam Signal

71

--

--

Not Used

72

0.5 YE

--

TFT Sensor Signal

73

0.5 VT

--

PNP Switch Park Signal

74

0.5 GY

--

PNP Switch Low Signal

75

0.5 WH

--

Low Reference

76

0.5 RD

--

5-Volt Reference

77

0.5 D-BU

--

Shift Solenoid Valve SLU Low Control

78

0.5 PK/D-GN

--

Shift Solenoid Valve S2 Control

79

0.5 D-GN

--

Shift Solenoid Valve S1 Control

80

0.5 GY

--

Shift Solenoid Valve ST Control

81

0.5 YE

--

Ignition Coil Voltage

82

0.5 BK

--

IC 4 Control

83

0.5 D-BU/BK

--

IC 3 Control

84

0.5 BK

--

IC 2 Control

85

0.5 WH/D-BU

--

IC 1 Control

86

1.25 WH/BK

--

Ground

87

0.5 L-GN/BK

--

HO2S Low Signal (B1S2)

88

0.5 BN/WH

--

Low Reference

89-90

--

--

Not Used

91

0.5 BN

--

Low Reference

92

0.5 D-GN

--

Low Reference

93-94

--

--

Not Used

95

0.5 PK

--

Low Reference

96

0.5 BN

--

Low Reference

97

0.5 BK

--

ECT Sensor Signal

98

0.5 WH

--

Low Reference

99

0.5 RD

--

5-Volt Reference

100

0.5 BK

--

Camshaft Phaser Control B1 Intake

101-103

--

--

Not Used

104

2.0 BN

--

Ground

105

0.5 L-GN

--

Fuel Injector 4 Control

106

0.5 D-GN

--

Fuel Injector 3 Control

107

0.5 YE

--

Fuel Injector 2 Control

108

0.5 VT

--

Fuel Injector 1 Control

109

0.5 RD

--

HO2S Heater Low Control (B1S1)

110

0.3 BK

--

Knock Sensor (KS) 1 Signal

111

0.3 WH

--

Knock Sensor (KS) 1 Signal

112

0.5 YE

--

HO2S High Signal (B1S1)

113

0.5 D-BU

--

HO2S Low Signal (B1S1)

114

0.5 RD/D-GN

--

TP Sensor 2 Signal

115

0.5 L-GN

--

TP Sensor 1 Signal

116

0.5 BK

--

MAF Sensor Signal

117

0.5 BN/RD

--

Camshaft CAM X Signal

118

0.5 VT

--

Low Reference

119-120

--

--

Not Used

121

0.3 D-GN

--

CKP Sensor Low Signal

122

0.3 RD

--

CKP Sensor High Signal

123

0.5 VT/YE

--

Low Reference

124

0.5 YE

--

Vehicle Speed Sensor Low Signal

125

0.5 BK

--

Vehicle Speed Sensor High Signal

126

--

--

Not Used

Powertrain Control Module (PCM) X2 (LAX)


Object Number: 2020596  Size: CH

Connector Part Information

  • OEM: 90980-12398
  • Service: N/A
  • Description: 126-Way F (BK)

Powertrain Control Module (PCM) X2 (LAX)

Pin

Wire

Circuit

Function

1-40

--

--

Not Used

41

0.5 D-BU

--

TAC Motor Control - 2

42

0.5 PK

--

TAC Motor Control - 1

43

1.25 WH/BK

--

Ground

44

2.0 WH/BK

--

Ground

45

2.0 WH/BK

--

Ground

46

2.0 WH/BK

--

Ground

47

0.5 PK

--

HO2S Heater Low Control (B1S2)

48

--

--

Not Used

49

0.5 D-BU/BK

--

EVAP Purge Solenoid Control

50

0.5 D-BU

--

Generator Turn On Control

51

--

--

Not Used

52

0.5 WH

--

Ignition Voltage

53

0.5 RD

--

Backup Lamp Switch Signal

54

0.5 BK

--

PNP Switch Neutral Signal

55

0.5 BN

--

PNP Switch Second Signal

56

0.5 PK

--

PNP Switch Drive Signal

57

0.5 D-GN

--

Shift Solenoid Valve SL1 High Control

58

0.5 GY

--

Shift Solenoid Valve SL2 High Control

59

0.5 D-BU

--

Shift Solenoid Valve SL2 Low Control

60

0.5 VT

--

Shift Solenoid Valve SL3 High Control (MVD)

61

0.5 BK

--

Shift Solenoid Valve SL3 Low Control (MVD)

62

--

--

Not Used

63

0.5 BN

--

Drain Wire

64

0.5 BK

--

HO2S High Signal (B1S2)

65

0.5 PK

--

IAT Sensor Signal

66

--

--

Not Used

67

0.5 YE

--

5-Volt Reference

68-69

--

--

Not Used

70

0.5 VT

--

5-Volt Reference

71

0.5 YE

--

EVAP Canister Pressure Sensor Signal

72

0.5 YE

--

TFT Sensor Signal

73

0.5 VT

--

PNP Switch Park Signal

74

0.5 GY

--

PNP Switch Low Signal

75

0.5 VT

--

Shift Solenoid Valve SLT Low Control

76

0.5 L-GN

--

Shift Solenoid Valve SLT High Control

77

0.5 PK/D-GN

--

Shift Solenoid Valve SL1 Low Control

78

0.5 WH

--

Shift Solenoid Valve S4 Control

79

0.5 RD

--

Shift Solenoid Valve DSL Control

80

0.5 YE

--

Shift Solenoid Valve SR Control (MVD)

81

0.5 YE

--

Ignition Coil Voltage

82

0.5 BK

--

IC 4 Control

83

0.5 D-BU/BK

--

IC 3 Control

84

0.5 BK

--

IC 2 Control

85

0.5 WH/D-BU

--

IC 1 Control

86

1.25 WH/BK

--

Ground

87

0.5 L-GN/BK

--

HO2S Low Signal (B1S2)

88

0.5 BN/WH

--

Low Reference

89-90

--

--

Not Used

91

0.5 BN

--

Low Reference

92-93

--

--

Not Used

94

0.5 D-GN

--

Low Reference

95

0.5 PK

--

Low Reference

96

0.5 BN

--

Low Reference

97

0.5 BK

--

ECT Sensor Signal

98

0.5 WH

--

CMP Sensor Low Signal

99

0.5 RD

--

CMP Sensor High Signal

100

0.5 BK

--

Camshaft Phaser Control

101

0.5 RD

--

Intermediate Shaft Speed Sensor High Signal

102

0.5 WH

--

Intermediate Shaft Speed Sensor Low Signal

103

--

--

Not Used

104

1.25 BN

--

Ground

105

0.5 L-GN

--

Fuel Injector 4 Control

106

0.5 D-GN

--

Fuel Injector 3 Control

107

0.5 RD

--

Fuel Injector 2 Control

108

0.5 VT

--

Fuel Injector 1 Control

109

1.25 RD

--

HO2S Heater Low Control (B1S1)

110

0.3 BK

--

Knock Sensor (KS) 1 Signal

111

0.3 WH

--

Knock Sensor (KS) 1 Signal

112

0.5 YE

--

HO2S High Signal (B1S1)

113

0.5 D-BU

--

HO2S Low Signal (B1S1)

114

0.5 RD

--

TP Sensor 2 Signal

115

0.5 L-GN

--

TP Sensor 1Signal

116

0.5 BK

--

MAF Sensor Signal

117

--

--

Not Used

118

0.5 VT

--

Low Reference

119-120

--

--

Not Used

121

0.3 D-GN

--

CKP Sensor Low Signal

122

0.3 RD

--

CKP Sensor High Signal

123

0.5 VT

--

Low Reference

124

0.5 YE

--

Input Shaft Speed Sensor Low Signal

125

0.5 BK

--

Input Shaft Speed Sensor High Signal

126

--

--

Not Used

Radio X1


Object Number: 2047120  Size: CH

Connector Part Information

  • OEM: PED 90980-AA001
  • Service: N/A
  • Description: 16-Way F (BK)

Radio X1

Pin

Wire

Circuit

Function

1

0.35 L-GN (U65)

--

Mute

2

0.35 BK

--

OnStar

--

--

Not Used

3

0.75 RD (UW4)

--

Right Rear Speaker (+)

0.35 RD (U65)

--

Right Rear Speaker (+)

4

0.75 BK (UW4)

--

Left Rear Speaker (+)

0.35 BK (U65)

--

Left Rear Speaker (+)

5

0.35 D-GN

--

Instrument Panel Dimming Voltage

6

Bare

--

Drain Wire

7

0.35 BK

--

Audio Signal Right (+)

8

0.35 RD

--

Audio Signal Left (+)

9

0.35 YE

--

Amplifier Signal

10

0.35 WH

--

VCIM Signal

--

--

Not Used

11

0.75 WH (UW4)

--

Right Rear Speaker (-)

0.35 WH (U65)

--

Right Rear Speaker (-)

12

0.75 YE (UW4)

--

Left Rear Speaker (-)

0.35 D-GN (U65)

--

Left Rear Speaker (-)

13

0.35 GY

--

Ignition Voltage

14

--

--

Not Used

15

0.35 WH

--

Audio Signal Right (-)

16

0.35 D-GN

--

Audio Signal Left (-)

Radio X2


Object Number: 2047121  Size: CH

Connector Part Information

  • OEM: PED 90980-AA015
  • Service: N/A
  • Description: 14-Way F (BK)

Radio X2

Pin

Wire

Circuit

Function

1

0.35 WH

--

Instrument Panel Lamps Dimming Low Control

2

0.50 BG (UW4)

--

Antenna Signal

0.35 BG (U65)

--

Antenna Signal

3

0.35 PK

--

Steering Wheel Controls - Radio - Source Signal

4

0.35 BG

--

Steering Wheel Controls - Radio - Signal

5

0.75 L-GN (UW4)

--

Right Front Speaker(+)

0.35 RD (U65)

--

Right Front Tweeter (+)

6

0.75 PK (UW4)

--

Left Front Speaker (+)

0.35 BK (U65)

--

Left Front Tweeter (+)

7

0.75 L-BU

--

Battery Positive Voltage

8

0.35 BG

--

TMX +

9

0.35 YE

--

UTX +

--

--

Not Used

10

0.35 L-BU

--

Steering Wheel Controls - Radio - Power

11

Bare

--

Drain Wire

12

0.75 D-BU (UW4)

--

Right Front Speaker (-)

0.35 WH (U65)

--

Right Front Tweeter (-)

13

0.75 VT (UW4)

--

Left Front Speaker (-)

0.35 D-GN (U65)

--

Left Front Tweeter (-)

14

0.75 BN

--

Ground

Radio Antenna


Object Number: 2001960  Size: CH

Connector Part Information

  • OEM: 90980-10871
  • Service: N/A
  • Description: 1-Way F

Radio Antenna

Pin

Wire

Circuit

Function

1

0.5 OG

--

Antenna Signal

Radio Noise Suppression Capacitor


Object Number: 820022  Size: CH

Connector Part Information

  • OEM: 90980-10843
  • Service: N/A
  • Description: 2-Way F (GY)

Radio Noise Suppression Capacitor

Pin

Wire

Circuit

Function

1

2 BK

--

Ground

2

0.5 D-BU

--

Stop Lamp Supply Voltage

0.5 D-BU

--

Stop Lamp Supply Voltage

Radio Rear Window Defogger Capacitor


Object Number: 334902  Size: CH

Connector Part Information

  • OEM: 90980-10916
  • Service: N/A
  • Description: 2-Way F (WH)

Radio Rear Window Defogger Capacitor

Pin

Wire

Circuit

Function

1

2.0 BK

--

Rear Defog Element Supply Voltage

2

0.5 D-BU

--

Ground

Rear Window Washer Fluid Pump


Object Number: 2035426  Size: CH

Connector Part Information

  • OEM: 90980-11051
  • Service: N/A
  • Description: 2-Way F (BK/GY)

Rear Window Washer Fluid Pump

Pin

Wire

Circuit

Function

1

0.85 D-BU

--

Ignition 1 Voltage

2

0.85 PK

--

Washer Switch Control

Rear Window Wiper Motor


Object Number: 334475  Size: CH

Connector Part Information

  • OEM: 90980-10789
  • Service: N/A
  • Description: 5-Way F (WH)

Rear Window Wiper Motor

Pin

Wire

Circuit

Function

1

0.5 L-GN

--

Rear Wiper Switch Signal

2

0.35 BN

--

Rear Wiper Common

3

0.35 PK

--

Rear Wiper Voltage

4

0.5 VT

--

Ignition 1 Voltage

5

0.5 WH/BK

--

Ground

Recirculation Actuator


Object Number: 741009  Size: CH

Connector Part Information

  • OEM: 90980-11909
  • Service: N/A
  • Description: 5-Way F (BK)

Recirculation Actuator

Pin

Wire

Circuit

Function

1

0.35 PK

--

Air Mix Servo - Recirculation

2

0.35 BK

--

Air Mix Servo - Panel Vents

3 - 4

--

--

Not Used

5

0.35 RD

--

Ignition 1 Voltage

Remote Control Door Lock Receiver (RCDLR)


Object Number: 2037169  Size: CH

Connector Part Information

  • OEM: 90980-12366
  • Service: N/A
  • Description: 5-Way F (BK)

Remote Control Door Lock Receiver (RCDLR)

Pin

Wire

Circuit

Function

1

0.35 WH/BK

--

Ground

2

0.35 VT

--

Serial Data

3

0.35 L-BU

--

Keyless Entry Program Enable Signal

4

--

--

Not Used

5

0.35 PK

--

Battery Positive Voltage

Seat Belt Buckle - Driver


Object Number: 2037207  Size: CH

Connector Part Information

  • OEM: 90980-10942
  • Service: N/A
  • Description: 4-Way F (BK)

Seat Belt Buckle - Driver

Pin

Wire

Circuit

Function

1

0.5 WH

--

Driver Seat Position Sensor - High

2

0.5 D-GN

--

Driver Seat Belt Switch Signal - High

3

0.5 BK

--

Driver Seat Position Sensor - Low

4

0.5 YE

--

Driver Seat Belt Switch Signal - Low

Seat Belt Buckle - Passenger


Object Number: 339854  Size: CH

Connector Part Information

  • OEM: 90980-11156
  • Service: N/A
  • Description: 2-Way F (BK)

Seat Belt Buckle - Passenger

Pin

Wire

Circuit

Function

1

PK

--

Passenger Seat Belt Switch Signal - High

2

D-GN

--

Passenger Seat Belt Switch Signal - Low

Seat Belt Pretensioner - Driver


Object Number: 2037201  Size: CH

Connector Part Information

  • OEM: 90980-12452
  • Service: N/A
  • Description: 2-Way F (BK)

Seat Belt Pretensioner - Driver

Pin

Wire

Circuit

Function

1

0.5 YE/BK

--

Seat Belt Pretensioner - Left - Low Control

2

0.5 YE

--

Seat Belt Pretensioner - Left - High Control

Seat Belt Pretensioner - Passenger


Object Number: 2037201  Size: CH

Connector Part Information

  • OEM: 90980-12452
  • Service: N/A
  • Description: 2-Way F (BK)

Seat Belt Pretensioner - Passenger

Pin

Wire

Circuit

Function

1

0.5 YE/BK

--

Seat Belt Pretensioner - Right - Low Control

2

0.5 YE

--

Seat Belt Pretensioner - Right - High Control

Security Indicator Lamp


Object Number: 2001962  Size: CH

Connector Part Information

  • OEM: 90980-12092
  • Service: N/A
  • Description: 7-Way F (BK)

Security Indicator Lamp

Pin

Wire

Circuit

Function

1

0.35 YE

--

Security Indicator Lamp Supply Voltage

2

0.35 WH/BK

--

Ground

3-7

--

--

Not Used

Serial Data Gateway (SDG) Module


Object Number: 2001961  Size: CH

Connector Part Information

  • OEM: PED 90980-12423
  • Service: N/A
  • Description: 16-Way F (N/A)

Serial Data Gateway (SDG) Module

Pin

Wire

Circuit

Function

1-3

--

--

Not Used

4

0.35 WH/BK

--

Ground

5-8

--

--

Not Used

9

0.35 BK

--

IGNITION

10

0.35 D-BU

--

IGNITION

11

--

--

Not Used

12

0.35 WH

--

High Speed GMLAN Serial Data Bus-

13

0.35 BK

--

High Speed GMLAN Serial Data Bus+

14

--

--

Not Used

15

0.35 WH

--

High Speed GMLAN Serial Data Bus+

16

0.35 PK

--

High Speed GMLAN Serial Data Bus-

Speaker - Left Front


Object Number: 334415  Size: CH

Connector Part Information

  • OEM: 90980-10935
  • Service: N/A
  • Description: 2-Way F (WH)

Speaker - Left Front

Pin

Wire

Circuit

Function

1

1.0 PK

--

Left Front Speaker Output (+) (UW4)

1.25 PK

--

Left Front Speaker Output (+) (U65)

2

1.0 VT

--

Left Front Speaker Output (-) (UW4)

1.25 VT

--

Left Front Speaker Output (-) (U65)

Speaker - Left Front Tweeter (U65)


Object Number: 2037174  Size: CH

Connector Part Information

  • OEM: 90980-12304
  • Service: N/A
  • Description: 4-Way F

Speaker - Left Front Tweeter (U65)

Pin

Wire

Circuit

Function

1

--

--

Not Used

2

1.25 RD

--

Left Front Speaker Output (-)

3

1.25 WH

--

Left Front Speaker Output (+)

4

--

--

Not Used

Speaker - Left Rear


Object Number: 334415  Size: CH

Connector Part Information

  • OEM: 90980-10935
  • Service: N/A
  • Description: 2-Way F (WH)

Speaker - Left Rear

Pin

Wire

Circuit

Function

1

1.25 BK

--

Left Rear Speaker Output (+)

2

1.25 YE

--

Left Rear Speaker Output (-)

Speaker - Right Front


Object Number: 334415  Size: CH

Connector Part Information

  • OEM: 90980-10935
  • Service: N/A
  • Description: 2-Way F (WH)

Speaker - Right Front

Pin

Wire

Circuit

Function

1

1.0 L-GN

--

Right Front Speaker Output (+) (UW4)

1.25 L-GN

--

Right Front Speaker Output (+) (U65)

2

1.0 BU

--

Right Front Speaker Output (-) (UW4)

1.25 BU

--

Right Front Speaker Output (-) (U65)

Speaker - Right Front Tweeter (U65)


Object Number: 2037174  Size: CH

Connector Part Information

  • OEM: 90980-12304
  • Service: N/A
  • Description: 4-Way F

Speaker - Right Front Tweeter (U65)

Pin

Wire

Circuit

Function

1

--

--

Not Used

2

1.25 PK

--

Right Front Speaker Output (-)

3

1.25 BN

--

Right Front Speaker Output (+)

4

--

--

Not Used

Speaker - Right Rear


Object Number: 334415  Size: CH

Connector Part Information

  • OEM: 90980-10935
  • Service: N/A
  • Description: 2-Way F (WH)

Speaker - Right Rear

Pin

Wire

Circuit

Function

1

1.25 RD

--

Right Rear Speaker Output (+)

2

1.25 WH

--

Right Rear Speaker Output (-)

Speaker - Subwoofer (U65)


Object Number: 334472  Size: CH

Connector Part Information

  • OEM: 90980-11013
  • Service: N/A
  • Description: 4-Way F (WH)

Speaker - Subwoofer (U65)

Pin

Wire

Circuit

Function

1

1.25 YE

--

Rear Subwoofer Speaker Output (+)

2

1.25 BK

--

Rear Subwoofer Speaker Output (-)

3

1.25 D-BU

--

Rear Subwoofer Speaker Output (-)

4

1.25 L-GN

--

Rear Subwoofer Speaker Output (+)

Starter X2


Object Number: 2035432  Size: CH

Connector Part Information

  • OEM: 90980-11400
  • Service: N/A
  • Description: 1-Way F (BK)

Starter X2

Pin

Wire

Circuit

Function

1

3.0 D-BU

--

Starter Solenoid Crank Voltage

Starter Diode (LAY)


Object Number: 820084  Size: CH

Connector Part Information

  • OEM: 90980-10962
  • Service: N/A
  • Description: (BK)

Starter Diode (LAY)

Pin

Wire

Circuit

Function

1

0.35 BK

--

Ignition Voltage

2

0.35 WH

--

Ignition Voltage

Steering Angle Sensor


Object Number: 2037169  Size: CH

Connector Part Information

  • OEM: 90980-12366
  • Service: N/A
  • Description: 5-Way F (BK)

Steering Angle Sensor

Pin

Wire

Circuit

Function

1

0.35 WH/BK

--

Ground

2

0.35 WH

--

High Speed GMLAN Serial Data Bus+

3

0.35 BN

--

High Speed GMLAN Serial Data Bus-

4

0.35 D-BU

--

Ignition 1 Voltage

5

0.35 RD

--

Battery Positive Voltage

Stop Lamp Switch


Object Number: 334422  Size: CH

Connector Part Information

  • OEM: 90980-11118
  • Service: N/A
  • Description: 4-Way F (BU)

Stop Lamp Switch

Pin

Wire

Circuit

Function

1

0.85 L-BU

--

Stop Lamp Switch Signal (Battery)

2

0.85 WH

--

Battery Positive Voltage

3

0.3 BK

--

Ignition 1 Voltage

4

0.3 RD

--

Stop Lamp Switch Signal (Ignition)

Sunroof Control Module


Object Number: 2037209  Size: CH

Connector Part Information

  • OEM: 82824-05030
  • Service: N/A
  • Description: GY

Sunroof Control Module

Pin

Wire

Circuit

Function

1

0.35 D-GN

--

Sunroof Switch Open Signal

2

0.35 L-BU

--

Sunroof Switch Close Signal

3

1.0 YE

--

Ignition 1 Voltage

4

--

--

Not Used

5

1.0 WH/BK

--

Ground

6

0.35 RD

--

Sunroof Switch Vent Signal

7

--

--

Not Used

8

0.35 VT

--

Vehicle Speed Signal

9

--

--

Not Used

10

1.0 BG

--

Battery Positive Voltage

Tail Lamp - Left


Object Number: 335024  Size: CH

Connector Part Information

  • OEM: 90980-10797
  • Service: N/A
  • Description: 6-Way F (BK)

Tail Lamp - Left

Pin

Wire

Circuit

Function

1

0.35 D-GN

--

Park Lamp Supply Voltage

2

0.5 D-BU

--

Stop Lamp Supply Voltage

3

--

--

Not Used

4

0.5 RD

--

Backup Lamp Supply Voltage

5

0.5 WH/BK

--

Ground

6

0.5 YE

--

Flasher Relay Signal

Tail Lamp - Right


Object Number: 335024  Size: CH

Connector Part Information

  • OEM: 90980-10797
  • Service: N/A
  • Description: 6-Way F (BK)

Tail Lamp - Right

Pin

Wire

Circuit

Function

1

0.35 D-GN

--

Park Lamp Supply Voltage

2

0.5 D-BU

--

Stop Lamp Supply Voltage

3

--

--

Not Used

4

0.5 RD

--

Backup Lamp Supply Voltage

5

0.5 WH/BK

--

Ground

6

0.5 L-BU

--

Flasher Relay Signal

Theft Deterrent Alarm Siren


Object Number: 2001962  Size: CH

Connector Part Information

  • OEM: 90980-12092
  • Service: N/A
  • Description: 7-Way F (BK)

Theft Deterrent Alarm Siren

Pin

Wire

Circuit

Function

1

0.35 D-GN

--

Power Feed

2-3

--

--

Not Used

4

0.35 L-BU

--

Key Code Feed

5

0.35 OG

--

Data Transmit Feed

6

--

--

Not Used

7

0.35 VT

--

Ground

Theft Deterrent Module (TDM) X1


Object Number: 651636  Size: CH

Connector Part Information

  • OEM: 90980-12564
  • Service: N/A
  • Description: 36-Way F (WH)

Theft Deterrent Module (TDM) X1

Pin

Wire

Circuit

Function

1-2

--

--

Not Used

3

0.35 BG

--

Glass Break ASW Sensor Signal

4-6

--

--

Not Used

7

0.35 D-BU

--

Key Switch Signal

8

--

--

Not Used

9

0.35 D-BU

--

Ignition 1 Voltage

10

--

--

Not Used

11

0.35 RD

--

Battery Positive Voltage

12-15

--

--

Not Used

16

0.35 WH/BK

--

Ground

17-23

--

--

Not Used

24

0.35 L-GN

--

Data Communication (-)

25

0.35 WH

--

Data Communication (+)

26-28

--

--

Not Used

29

0.35 YE

--

Security Indicator Lamp Supply Voltage

30-36

--

--

Not Used

Theft Deterrent Module (TDM) X2


Object Number: 2001961  Size: CH

Connector Part Information

  • OEM: 90980-12423
  • Service: N/A
  • Description: 16-Way F

Theft Deterrent Module (TDM) X2

Pin

Wire

Circuit

Function

1

0.35 BN

--

Battery Positive Voltage

2

0.35 BK

--

Ignition 1 Voltage

3

0.35 D-BU

--

Ignition Key Switch Signal

4

0.35 BG

--

Data Transmit Feed

5

0.35 VT

--

Ground

6

--

--

Not Used

7

0.35 RD

--

Driver Door Jamb Switch Signal

8

0.35 YE

--

Security Indicator Lamp Control

9

0.35 WH

--

Data Link

10

--

--

Not Used

11

0.35 WH/BK

--

Ground

12

0.35 L-GN

--

Immobilizer Signal Out

13

0.35 PK

--

Immobilizer Signal in

14

0.35 OG

--

Power Feed

15

0.35 L-BU

--

Key Code Feed

16

0.35 BN

--

Ground

Theft Deterrent Shock Sensor


Object Number: 2037158  Size: CH

Connector Part Information

  • OEM: 90980-12558
  • Service: N/A
  • Description: 8-Way F (BK)

Theft Deterrent Shock Sensor

Pin

Wire

Circuit

Function

1

0.35 RD

--

Battery Positive Voltage

2

--

--

Not Used

3

0.35 D-BU

--

Ignition Voltage

4

--

--

Not Used

5

0.35 BG

--

Shock Sensor Signal

6

0.35 WH/BK

--

Ground

7

0.35 YE

--

Microphone Signal (-)

8

0.35 BK

--

Microphone Signal (+)

Theft Deterrent Shock Sensor Microphone


Object Number: 820206  Size: CH

Connector Part Information

  • OEM: 90980-11950
  • Service: N/A
  • Description: 4-Way F (WH)

Theft Deterrent Shock Sensor Microphone

Pin

Wire

Circuit

Function

A-B

--

--

Not Used

C

0.35 BK

--

Microphone Signal (+)

D

0.35 YE

--

Microphone Signal (-)

Throttle Body


Object Number: 334913  Size: CH

Connector Part Information

  • OEM: 90980-11858
  • Service: N/A
  • Description: 6-Way F (BK)

Throttle Body

Pin

Wire

Circuit

Function

1

0.5 BU

--

TAC Motor Control - 2

2

0.5 PK

--

TAC Motor Control - 1

3

0.5 BN

--

Low Reference

4

0.5 RD/D-GN

--

TP Sensor 2 Signal (LAY)

0.5 RD

--

TP Sensor 2 Signal (LAX)

5

0.5 YE

--

5-Volt Reference

6

0.5 L-GN

--

TP Sensor 1 Signal

Tire Pressure Indicator Reset Switch


Object Number: 820060  Size: CH

Connector Part Information

  • OEM: 90980-10906
  • Service: N/A
  • Description: 2-Way F (BK)

Tire Pressure Indicator Reset Switch

Pin

Wire

Circuit

Function

1

0.35 L-BU

--

Tire Pressure Reset Switch Signal

2

0.35 WH/BK

--

Ground

Tire Pressure Module


Object Number: 2035446  Size: CH

Connector Part Information

  • OEM: 90980-12552
  • Service: N/A
  • Description: 12-Way F (BK)

Tire Pressure Module

Pin

Wire

Circuit

Function

1

0.35 L-BU

--

Tire Pressure Reset Switch Signal

2

0.35 VT

--

Vehicle Speed Sensor

3

0.35 D-GN

--

Low Speed Serial Data

4

0.35 GY

--

Engine Speed Signal

5

0.35 PK

--

Tire Pressure Indicator Control

6

0.35 BK

--

5-Volt Reference

7

0.35 D-BU

--

Ignition 1 Voltage

8

--

--

Not Used

9

0.35 BN

--

Ground

10

0.35 WH

--

Low Speed Serial Data

11

0.35 L-GN

--

Ground

12

0.35 RD

--

Tire Pressure Receiver Signal

Tire Pressure Receiver - Left Rear


Object Number: 2037169  Size: CH

Connector Part Information

  • OEM: 90980-12366
  • Service: N/A
  • Description: 5-Way F (BK)

Tire Pressure Receiver - Left Rear

Pin

Wire

Circuit

Function

1

0.35 RD

--

Tire Pressure Receiver Signal

2-3

--

--

Not Used

4

0.35 L-GN

--

Ground

5

0.35 BK

--

5-Volt Reference

Transfer Case Clutch Coil (F46)


Object Number: 2037204  Size: CH

Connector Part Information

  • OEM: 90980-11051
  • Service: N/A
  • Description: 2-Way F (GY)

Transfer Case Clutch Coil (F46)

Pin

Wire

Circuit

Function

1

0.5 WH

--

Transfer Case Clutch Control - High

2

0.5 BK

--

Transfer Case Clutch Control - Low

Transfer Case Shift Control Module (F46)


Object Number: 2037156  Size: CH

Connector Part Information

  • OEM: 90980-12422
  • Service: N/A
  • Description: 32-Way F

Transfer Case Shift Control Module (F46)

Pin

Wire

Circuit

Function

1-8

--

--

Not Used

9

0.35 RD

--

Battery Positive Voltage

10

--

--

Not Used

11

0.35 D-BU

--

Ignition 1 Voltage

12

--

--

Not Used

13

0.35 WH

--

Transfer Case Clutch Control - High

14

0.35 D-BU

--

High Speed GMLAN Serial Data Bus-

15

--

--

Not Used

16

0.35 WH

--

High Speed GMLAN Serial Data Bus+

17-22

--

--

Not Used

23

0.5 WH/BK

--

Ground

24-30

--

--

Not Used

31

0.01 BARE

--

Drain Wire

32

0.35 BK

--

Transfer Case Clutch Control - Low

Transmission Connector (MVA/MVB)


Object Number: 820120  Size: CH

Connector Part Information

  • OEM: 90980-11658
  • Service: N/A
  • Description: 10-Way F (GY)

Transmission Connector (MVA/MVB)

Pin

Wire

Circuit

Function

1

0.5 YE

--

TFT Sensor Signal (+)

2

0.5 GY

--

5-Volt Reference (without MVA)

0.5 L-GN

--

5-Volt Reference (MVA)

3

0.5 L-GN

--

Shift Solenoid Valve S1 Control (without MVA)

0.5 RD

--

Shift Solenoid Valve S1 Control (MVA)

4

0.5 WH

--

Shift Solenoid Valve SL2 High Control (without MVA)

0.5 GY

--

Shift Solenoid Valve SL2 High Control (MVA)

5

0.5 D-GN

--

Shift Solenoid Valve SL1 High Control

6

0.5 PK

--

Low Reference

7

0.5 VT

--

Low Reference (MVA)

8

0.5 VT

--

Shift Solenoid Valve S2 Control (without MVA)

0.5 WH

--

Shift Solenoid Valve S2 Control (MVA)

9

0.5 BU

--

Shift Solenoid Valve SL2 Control

10

0.5 PK/D-GN

--

Shift Solenoid Valve SLU Low Control

Transmission Connector (MVD)


Object Number: 2035437  Size: CH

Connector Part Information

  • OEM: 90980-12326
  • Service: N/A
  • Description: 13-Way F (GY)

Transmission Connector (MVD)

Pin

Wire

Circuit

Function

1

0.5 YE

--

TFT Sensor Signal

2

0.5 L-GN

--

Shift Solenoid Valve SLT High Control

3

0.5 WH

--

Shift Solenoid Valve SL1 Control

4

0.5 VT

--

Shift Solenoid Valve SL3 Control

5

0.5 GY

--

Shift Solenoid Valve ST

6

0.5 D-GN

--

Shift Solenoid Valve SLU High Control

7

0.5 PK

--

Low Reference

8

0.5 VT

--

Shift Solenoid Valve SLT Low Control

9

0.5 YE

--

Shift Solenoid Valve SL2 High Control

10

0.5 RD

--

Shift Solenoid Valve DSL Control

11

0.5 BK

--

Low Reference

12

0.5 D-BU

--

Shift Solenoid Valve SL2 Low Control

13

0.5 PK/D-GN

--

Shift Solenoid Valve SLU Low Control

Turn Signal/Multifunction Switch


Object Number: 2035447  Size: CH

Connector Part Information

  • OEM: 90980-12460
  • Service: N/A
  • Description: 20-Way F

Turn Signal/Multifunction Switch

Pin

Wire

Circuit

Function

1-2

--

--

Not Used

3

0.35 WH

--

DRL Module - Low

4

0.35 RD

--

Fog Lamp Relay Control

5-10

--

--

Not Used

11

0.35 L-GN

--

High Beam Signal

12

0.35 WH/BK

--

Ground

13

0.35 YE

--

Right Turn Signal

14

--

--

Not Used

15

0.35 PK

--

Left Turn Signal

16

--

--

Not Used

17

0.35 BK

--

Headlamps Signal

18

0.35 BN

--

Parklamp/Headlamp Signal

19

--

--

Not Used

20

0.35 D-GN

--

Park Lamp Signal

Vehicle Communication Interface Module (VCIM) X1


Object Number: 339889  Size: CH

Connector Part Information

  • OEM: 90980-11391
  • Service: N/A
  • Description: 16-Way F (GY)

Vehicle Communication Interface Module (VCIM) X1

Pin

Wire

Function

1

0.35 YE

Low Speed Serial Data

2

0.35 L-GN

Rearview Mirror Indicator

3

0.35 BG

Rearview Mirror Illumination

4

--

Not Used

5

0.5 BN

Ground

6

0.35 RD

Accessory

7

0.35 WH/BK

Ground

8-10

--

Not Used

11

0.35 L-BU

Signal

12-14

--

Not Used

15

0.35 PU

Battery Positive Voltage

Vehicle Communication Interface Module (VCIM) X2


Object Number: 697023  Size: CH

Connector Part Information

  • OEM: 90980-11408
  • Service: N/A
  • Description: 12-Way F (GY)

Vehicle Communication Interface Module (VCIM) X2

Pin

Wire

Function

1

0.35 BK

Speaker Output Positive

2

0.35 WH

Speaker Output Negative

3-7

--

Not Used

8

BARE

Drain Wire

9

0.35 RD

Microphone Positive

10

0.35 D-GN

Microphone Negative

11-12

--

Not Used

Vehicle Communication Interface Module -- Auxiliary


Object Number: 339889  Size: CH

Connector Part Information

  • OEM: 90980-AC001
  • Service: N/A
  • Description: 16-Way F (BK)

Vehicle Communication Interface Module -- Auxiliary

Pin

Wire

Function

1

0.35 YE

Antenna Signal

2

--

Not Used

3

0.35 D-BU

Right Front Door Lock Actuator Signal

4

0.35 L-GN

Horn

5

0.35 BG

Hazard Switch Signal

6-8

--

Not Used

9

0.5 L-BU

SIR Voltage

10-11

--

Not Used

12

0.35 GY

Battery Positive Voltage

13

0.35 BK

Ignition Switch - Start Voltage

14

0.35 PK

Battery Positive Voltage

15

0.35 WH/BK

Ground

16

--

Not Used

Vehicle Stability Control (VSC) Module


Object Number: 2037167  Size: CH

Connector Part Information

  • OEM: 90980-12550
  • Service: N/A
  • Description: 8-Way F (GY)

Vehicle Stability Control (VSC) Module

Pin

Wire

Circuit

Function

1-2

--

--

Not Used

3

0.35 WH/BK

--

Ground

4

0.35 WH

--

Illumination (-)

5

0.35 D-GN

--

Illumination (+)

6

0.35 GY

--

Vehicle Stability Control Switch Input

7-8

--

--

Not Used

Wheel Speed Sensor (WSS) - Left Front


Object Number: 2035419  Size: CH

Connector Part Information

  • OEM: 90980-12416
  • Service: N/A
  • Description: 2-Way F (BK)

Wheel Speed Sensor (WSS) - Left Front

Pin

Wire

Circuit

Function

1

0.3 VT

--

Left Front Wheel Speed Sensor Signal

2

0.3 L-GN

--

Left Front Wheel Speed Sensor Control

Wheel Speed Sensor (WSS) - Left Rear


Object Number: 334946  Size: CH

Connector Part Information

  • OEM: 90980-11060
  • Service: N/A
  • Description: 2-Way F (BK)

Wheel Speed Sensor (WSS) - Left Rear

Pin

Wire

Circuit

Function

1

0.35 BK

--

Left Rear Wheel Speed Sensor Signal

2

0.35 WH

--

Left Rear Wheel Speed Sensor Control

Wheel Speed Sensor (WSS) - Right Front


Object Number: 2035419  Size: CH

Connector Part Information

  • OEM: 90980-12416
  • Service: N/A
  • Description: 2-Way F (BK)

Wheel Speed Sensor (WSS) - Right Front

Pin

Wire

Circuit

Function

1

0.3 L-GN

--

Right Front Wheel Speed Sensor Signal

2

0.3 BN

--

Right Front Wheel Speed Sensor Control

Wheel Speed Sensor (WSS) - Right Rear


Object Number: 334946  Size: CH

Connector Part Information

  • OEM: 90980-11060
  • Service: N/A
  • Description: 2-Way F (BK)

Wheel Speed Sensor (WSS) - Right Rear

Pin

Wire

Circuit

Function

1

0.35 BK

--

Right Rear Wheel Speed Sensor Signal

2

0.35 WH

--

Right Rear Wheel Speed Sensor Control

Window Motor - Driver


Object Number: 335024  Size: CH

Connector Part Information

  • OEM: 90980-10797
  • Service: N/A
  • Description: 6-Way F (BK)

Window Motor - Driver

Pin

Wire

Circuit

Function

1

2.0 YE

--

Window Motor - Up

2

2.0 D-GN

--

Window Motor - Down

3-6

--

--

Not Used

Window Motor - Left Rear


Object Number: 335024  Size: CH

Connector Part Information

  • OEM: 90980-10797
  • Service: N/A
  • Description: 6-Way F (BK)

Window Motor - Left Rear

Pin

Wire

Circuit

Function

1

2.0 D-GN

--

Window Motor - Up

2

2.0 YE

--

Window Motor - Down

3-6

--

--

Not Used

Window Motor - Passenger


Object Number: 335024  Size: CH

Connector Part Information

  • OEM: 90980-10797
  • Service: N/A
  • Description: 6-Way F (BK)

Window Motor - Passenger

Pin

Wire

Circuit

Function

1

2.0 BK

--

Window Motor - Down

2

2.0 D-BU

--

Window Motor - Up

3-6

--

--

Not Used

Window Motor - Right Rear


Object Number: 335024  Size: CH

Connector Part Information

  • OEM: 90980-10797
  • Service: N/A
  • Description: 6-Way F (BK)

Window Motor - Right Rear

Pin

Wire

Circuit

Function

1

2.0 RD

--

Window Motor - Up

2

2.0 D-GN

--

Window Motor - Down

3-6

--

--

Not Used

Window Switch - Left Rear


Object Number: 334475  Size: CH

Connector Part Information

  • OEM: 90980-10789
  • Service: N/A
  • Description: 5-Way F (WH)

Window Switch - Left Rear

Pin

Wire

Circuit

Function

1

2.0 YE

--

Window Motor - Down

2

2.0 D-BU

--

Left Rear Window Motor (-)

3

1.0 PK

--

Window Motor - Power

4

2.0 D-GN

--

Window Motor - Up

5

2.0 RD

--

Left Rear Window Motor (+)

Window Switch - Passenger


Object Number: 334475  Size: CH

Connector Part Information

  • OEM: 90980-10789
  • Service: N/A
  • Description: 5-Way F (WH)

Window Switch - Passenger

Pin

Wire

Circuit

Function

1

2.0 BK

--

Window Motor - Down

2

2.0 BN

--

Right Front Window Motor (-)

3

1.0 YE

--

Window Motor - Power

4

2.0 D-BU

--

Window Motor - Up

5

2.0 D-GN

--

Right Front Window Motor (+)

Window Switch - Right Rear


Object Number: 334475  Size: CH

Connector Part Information

  • OEM: 90980-10789
  • Service: N/A
  • Description: 5-Way F (WH)

Window Switch - Right Rear

Pin

Wire

Circuit

Function

1

2.0 D-GN

--

Window Motor - Down

2

2.0 YE

--

Right Rear Window Motor (-)

3

1 BG

--

Window Motor - Power

4

2.0 RD

--

Window Motor - Up

5

2.0 BK

--

Right Rear Window Motor (+)

Windshield Washer Fluid Pump -- Front


Object Number: 334924  Size: CH

Connector Part Information

  • OEM: 90980-11019
  • Service: N/A
  • Description: 2-Way F (BK)

Windshield Washer Fluid Pump -- Front

Pin

Wire

Circuit

Function

1

0.85 BU

--

Ignition 1 Voltage

2

0.85 WH

--

Washer Pump Control

Windshield Washer Fluid Level Switch


Object Number: 2035421  Size: CH

Connector Part Information

  • OEM: 90980-11068
  • Service: N/A
  • Description: 2-Way F (BK)

Windshield Washer Fluid Level Switch

Pin

Wire

Circuit

Function

1

0.3 OG

--

Low Washer Fluid Indicator Control

2

0.3 WH/BK

--

Ground

Windshield Wiper Motor


Object Number: 820115  Size: CH

Connector Part Information

  • OEM: 90980-11599
  • Service: N/A
  • Description: 5-Way F (BK)

Windshield Wiper Motor

Pin

Wire

Circuit

Function

1

2.0 D-GN

--

Intermediate Speed Wiper Signal

2

2.0 D-BU

--

Battery Positive Voltage

3

2.0 RD

--

High Speed Wiper Signal

4

2.0 WH/BK

--

Ground

5

2.0 BK

--

Low Speed Wiper Signal

Windshield Wiper/Washer Switch - Front X1


Object Number: 2037154  Size: CH

Connector Part Information

  • OEM: 90980-12358
  • Service: N/A
  • Description: 7-Way F

Windshield Wiper/Washer Switch - Front X1

Pin

Wire

Circuit

Function

1

--

--

Not Used

2

2.0 WH/BK

--

Ground

3

0.75 WH

--

Washer Pump Control

4

--

--

Not Used

5

--

--

Not Used

6

0.35 BN

--

Rear Wiper - Common

7

0.35 PK

--

Rear Wiper - Voltage

Windshield Wiper/Washer Switch - Front X2


Object Number: 2037154  Size: CH

Connector Part Information

  • OEM: 90980-12358
  • Service: N/A
  • Description: 7-Way F

Windshield Wiper/Washer Switch - Front X2

Pin

Wire

Circuit

Function

1

1.25 D-GN

--

Intermediate Speed Wiper Signal

2

1.25 D-BU

--

Ignition 1 Voltage

3

1.25 BK

--

Low Speed Wiper Signal

4

1.25 RD

--

High Speed Wiper Signal

5

0.5 L-GN

--

Ground

6-10

--

--

Not Used

Yaw Rate and Lateral Accelerometer Sensor


Object Number: 2035357  Size: CH

Connector Part Information

  • OEM: 90980-12303
  • Service: N/A
  • Description: 6-Way F (BK)

Yaw Rate and Lateral Accelerometer Sensor

Pin

Wire

Circuit

Function

1

0.35 WH/BK

--

Ground

2

0.35 WH

--

High Speed GMLAN Serial Data Bus-

3

0.35 D-BU

--

High Speed GMLAN Serial Data Bus+

4

0.35 D-BU

--

Ignition 1 Voltage

5-6

--

--

Not Used