GM Service Manual Online
For 1990-2009 cars only
  1. Remove the engine splash shield. Refer to Engine Splash Shield Replacement - Left Side.
  2. Drain the automatic transaxle fluid.
  3. Remove the automatic transaxle oil pan assembly.
  4. Remove the bolts and oil strainer.

  5. Object Number: 2012979  Size: SH
  6. Remove the O-ring (1) from the oil strainer.

  7. Object Number: 2012982  Size: SH
  8. Disconnect the connectors.
  9. Remove the bolt and lock plate (1), and remove the ATF temperature sensor.

  10. Object Number: 2012983  Size: SH

    Note: Be careful not to drop the check valve body, spring and accumulator.

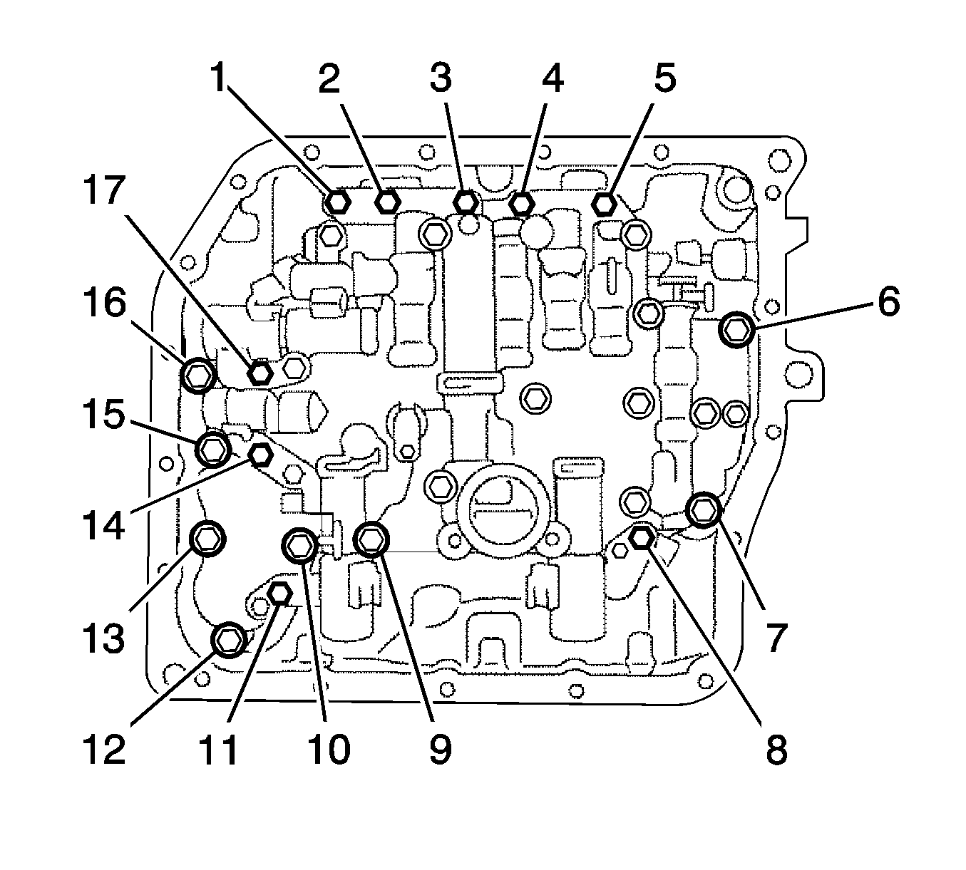
  11. Support the valve body and remove the bolts (1-17) and valve body.

  12. Object Number: 2012996  Size: SH
  13. Remove the check ball body and spring.
  14. Remove the manual valve from the valve body.

  15. Object Number: 2012991  Size: SH
  16. Remove the bolt (1), plate and shift solenoid valve SLT from the valve body.

  17. Object Number: 2012998  Size: SH
  18. Remove the bolt (1), plate and shift solenoid valve SL1 from the valve body.

  19. Object Number: 2013000  Size: SH
  20. Remove the bolt (1) and shift solenoid valve DSL from the valve body.

  21. Object Number: 2013002  Size: SH
  22. Remove the bolt (1), plate and shift solenoid valve SL2 from the valve body.

  23. Object Number: 2013021  Size: SH
  24. Remove the bolt (1) and shift solenoid valve S4 from the valve body.

Installation Procedure

    Caution: Refer to Fastener Caution in the Preface section.


    Object Number: 2013021  Size: SH
  1. Install the shift solenoid valve S4 to the valve body with the bolt (1) and tighten to 11 N·m (97 lb in).

  2. Object Number: 2013002  Size: SH
  3. Install the shift solenoid valve SL2 to the valve body with the bolt (1) and plate and tighten to 11 N·m (97 lb in).

  4. Object Number: 2013000  Size: SH
  5. Install the shift solenoid valve DSL to the valve body with the bolt (1) and tighten to 11 N·m (97 lb in).

  6. Object Number: 2012998  Size: SH
  7. Install the shift solenoid valve SL1 to the valve body with the bolt (1) and plate and tighten to 7 N·m (62 lb in).

  8. Object Number: 2012991  Size: SH
  9. Install the shift solenoid valve SLT to the valve body with the bolt (1) and plate and tighten to 7 N·m (62 lb in).
  10. Install the manual valve to the valve body.

  11. Object Number: 2012996  Size: SH
  12. Install the spring and check ball body.

  13. Object Number: 2013045  Size: SH
  14. Align the groove of the manual valve with the pin of lever.
  15. Note: Push the valve body against the accumulator piston spring and the check ball body to install it. Refer to Transmission General Specifications for bolt length A.

  16. Install the bolts (1, 2, 3) and tighten to 11 N·m (97 lb in).

  17. Object Number: 2012982  Size: SH
  18. Coat the O-ring of the temperature sensor with ATF WS.
  19. Install the ATF temperature sensor with the lock plate (1) and bolt and tighten to 7 N·m (62 lb in).
  20. Connect the 5 shift solenoid valve connectors.
  21. Coat a new O-ring with ATF WS.

  22. Object Number: 2012979  Size: SH
  23. Install the O-ring (1) to the oil strainer.
  24. Install the oil strainer with the bolts.
  25. Instal the automatic transaxle oil pan assembly.
  26. Install the engine splash shield- left side.
  27. Add automatic transaxle fluid ATF WS.