GM Service Manual Online
For 1990-2009 cars only

Special Tools

DT-49189 Counter Gear Nut Wrench

Disassembly


    Object Number: 2013254  Size: SH
  1. Remove the nut (1), washer and control shaft lever.

  2. Object Number: 2013256  Size: SH
  3. Using a screwdriver, pry off the lock plate.
  4. Remove the nut and lock plate.

  5. Object Number: 2013257  Size: SH
  6. Remove the bolts (1, 2) and pull out the PNP switch.
  7. Remove the breather plug hose.

  8. Object Number: 2013258  Size: SH
  9. Remove the oil cooler outlet tube union.
  10. Remove the O-ring from the union.

  11. Object Number: 2013259  Size: SH
  12. Remove the oil cooler inlet tube union.
  13. Remove the O-ring from the union.

  14. Object Number: 2013262  Size: SH
  15. Remove the bolts and speed sensors from the transaxle.
  16. Remove the O-rings from the sensors.

  17. Object Number: 2013264  Size: SH
  18. Remove the No. 1 transaxle case plugs.
  19. Remove the O-rings from the plugs.

  20. Object Number: 2013265  Size: SH
  21. Place transaxle on wooden blocks.

  22. Object Number: 2013266  Size: SH
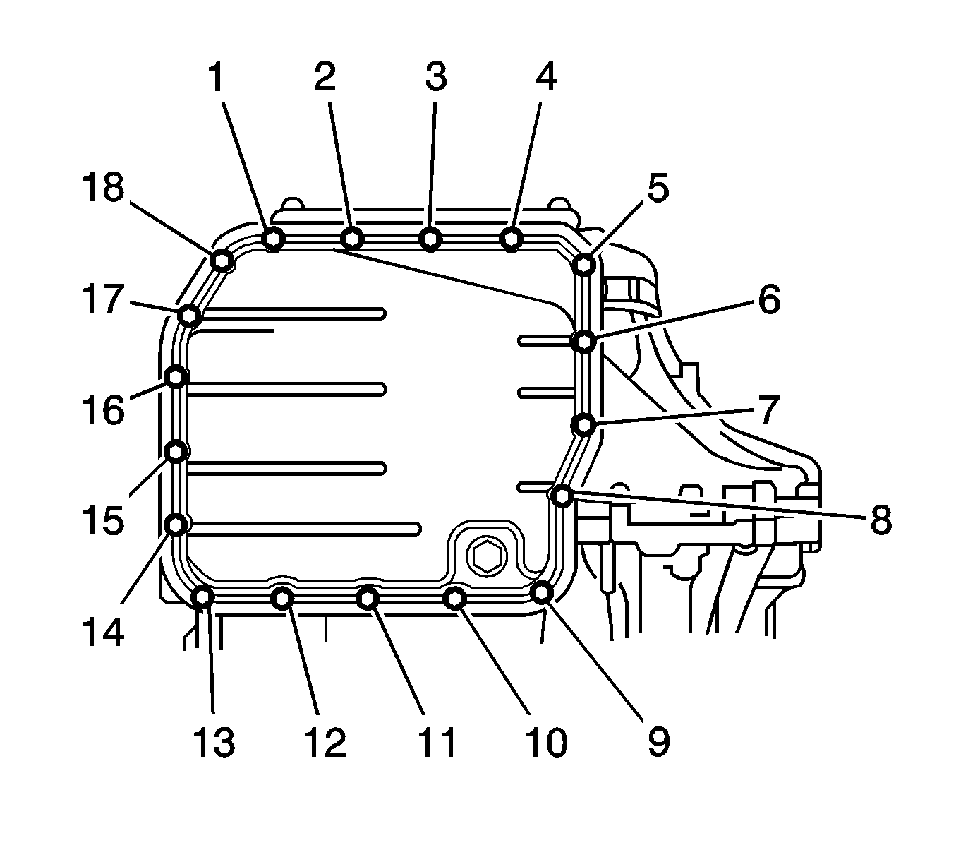
  23. Remove the bolts (1-18).
  24. Remove the oil pan and magnets.
  25. Remove the gasket from the oil pan.

  26. Object Number: 2013268  Size: SH
  27. Remove the bolts (1, 2, 3) and the oil strainer.

  28. Object Number: 2013270  Size: SH
  29. Remove the O-ring (1) from the oil strainer.

  30. Object Number: 2012982  Size: SH
  31. Disconnect the shift solenoid valve connectors.
  32. Remove the bolt, lock plate (1) and ATF temperature sensor.

  33. Object Number: 2013272  Size: SH
  34. Remove the bolt (1) and transaxle wire.

  35. Object Number: 2013274  Size: SH
  36. Remove the O-ring from the transaxle wire (1).

  37. Object Number: 2013275  Size: SH
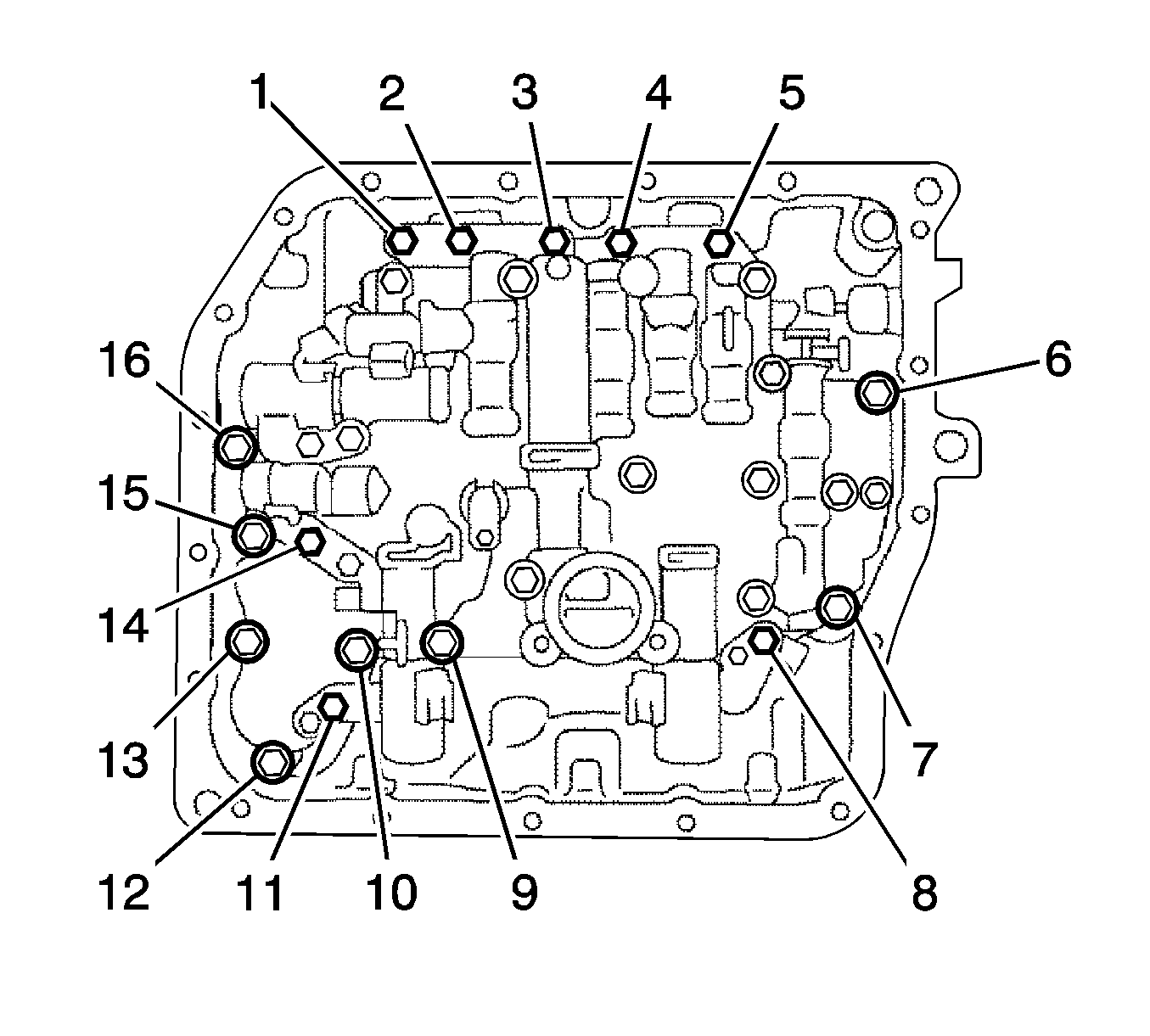
  38. Support the valve body and remove the bolts (1-16) and valve body.

  39. Object Number: 2013276  Size: SH
  40. Remove the No. 1 governor apply gasket (1) from the transaxle case.

  41. Object Number: 2013277  Size: SH
  42. Remove the 2nd brake gasket (1) from the transaxle.

  43. Object Number: 2013279  Size: SH
  44. Remove the brake drum gasket (1) from the transaxle.

  45. Object Number: 2013280  Size: SH
  46. Remove the check ball and spring from the transaxle.

  47. Object Number: 2013281  Size: SH
  48. Remove the spring from the C-3 accumulator piston.

  49. Object Number: 2013293  Size: SH

    Note: Applying compressed air may cause the piston to jump out. When removing the piston, hold it with your hand using a cloth.

  50. Apply compressed air to the oil hole and remove the C-3 accumulator piston.

  51. Object Number: 2013294  Size: SH
  52. Remove the O-ring (1) from the C-3 accumulator piston.

  53. Object Number: 2013295  Size: SH

    Note: Applying compressed air may cause the piston to jump out. When removing the piston, hold it with your hand using a cloth.

  54. Apply compressed air to the oil hole and remove the C-1 accumulator piston and spring.

  55. Object Number: 2013296  Size: SH
  56. Remove the O-rings (1, 2) from the C-1 accumulator piston.

  57. Object Number: 2013297  Size: SH

    Note: Applying compressed air may cause the piston to jump out. When removing the piston, hold it with your hand using a cloth.

  58. Apply compressed air to the oil hole and remove the B-3 accumulator piston and springs.

  59. Object Number: 2013300  Size: SH
  60. Remove the O-ring (1) from the B-3 accumulator piston.

  61. Object Number: 2013301  Size: SH
  62. Remove the bolts (1, 2), manual detent spring and cover.

  63. Object Number: 2013302  Size: SH
  64. Remove the bolts (1, 2) and parking lock pawl bracket.

  65. Object Number: 2013306  Size: SH
  66. Using needle-nose pliers, remove the retainer spring.

  67. Object Number: 2013329  Size: SH
  68. Using a chisel and hammer, unstake and remove the spacer.

  69. Object Number: 2013331  Size: SH
  70. Using a pin punch and hammer, tap out the pin.
  71. Slowly tap out the pin so that it will not fall into the transaxle.


    Object Number: 2013332  Size: SH
  72. Remove the manual valve lever shaft and manual valve lever.

  73. Object Number: 2013333  Size: SH
  74. Remove the parking lock rod from the manual valve lever.

  75. Object Number: 2013336  Size: SH
  76. Using a screwdriver, pry out the oil seal from the transaxle.
  77. Mount the transaxle case with the oil pump side facing up.

  78. Object Number: 2013337  Size: SH
  79. Remove the No. 1 plugs.
  80. Remove the O-rings from the plugs.

  81. Object Number: 2151685  Size: SH
  82. Remove the bolts (1-18).
  83. Note: The differential may be removed when the transaxle housing is removed.

  84. Tap on the circumference of the transaxle housing with a plastic-faced hammer to remove the transaxle housing from the transaxle case.

  85. Object Number: 2013339  Size: SH
  86. Remove the bolts (1-7) and oil pump from the transaxle.

  87. Object Number: 2013340  Size: SH
  88. Remove thrust needle roller bearing from the underdrive planetary gear.

  89. Object Number: 2013342  Size: SH
  90. Remove the No. 2 thrust bearing underdrive race from the underdrive planetary gear.

  91. Object Number: 2013346  Size: SH
  92. Remove the differential gear form the transaxle.

  93. Object Number: 2013348  Size: SH
  94. Remove the overdrive brake gaskets from the transaxle.

  95. Object Number: 2013350  Size: SH
  96. Remove the forward clutch from the transaxle.

  97. Object Number: 2013352  Size: SH
  98. Remove the thrust bearing from the forward clutch.

  99. Object Number: 2013353  Size: SH
  100. Using a screwdriver, remove the snap ring.

  101. Object Number: 2013358  Size: SH
  102. Remove the flange, discs, and plates from the input shaft.

  103. Object Number: 2013362  Size: SH
  104. Remove the forward clutch return spring sub-assembly.
  105. Using a press (1), compress the return spring.
  106. Using a snap ring expander, remove the snap ring.

  107. Object Number: 2013365  Size: SH
  108. Remove the piston return spring.

  109. Object Number: 2013367  Size: SH
  110. Place the forward clutch drum onto the oil pump.
  111. Note: When the piston is slanted and cannot be removed, remove it by pushing down the protruding side and applying compressed air again, or using needlenose pliers (with its tips wrapped in tape).

  112. Holding the forward clutch piston with your hand, apply compressed air to the oil pump to remove the forward clutch piston.

  113. Object Number: 2013376  Size: SH
  114. Remove the input shaft oil seal ring from the forward clutch drum.

  115. Object Number: 2013379  Size: SH
  116. Remove the thrust bearing, multiple clutch hub, needle roller bearing and bearing race from the transaxle.

  117. Object Number: 2013381  Size: SH
  118. Remove the bolt and parking pawl shaft clamp.

  119. Object Number: 2013383  Size: SH
  120. Remove the parking lock pawl shaft.

  121. Object Number: 2151692  Size: SH
  122. Push the parking lock pawl (1).

  123. Object Number: 2013444  Size: SH

    Note: Be careful so that the underdrive planetary gear assembly will not fall out.

  124. Remove the underdrive planetary gear from the transaxle.

  125. Object Number: 2013448  Size: SH
  126. Remove the spring, pawl pin and parking lock pawl.

  127. Object Number: 2013453  Size: SH
  128. Loosen the staked part of the nut.

  129. Object Number: 2013456  Size: SH
  130. Clamp the underdrive planetary gear (1) in soft jaw vise.

  131. Object Number: 2013463  Size: SH
  132. Remove the lock nut from the underdrive planetary gear (1).

  133. Object Number: 2013464  Size: SH
  134. Using a suitable puller (1) remove the cylindrical roller bearing inner race.

  135. Object Number: 2013465  Size: SH
  136. Remove the underdrive planetary gear assembly.
  137. Using a press and a suitable tool (1), remove the differential drive pinion, parking lock gear, counter driven gear with underdrive planetary ring gear, and angular ball bearing.
  138. Clamp the underdrive planetary gear in soft jaw vise.

  139. Object Number: 2013467  Size: SH
  140. Using a suitable puller (1) remove the rear angular ball bearing from the underdrive planetary gear.

  141. Object Number: 2013469  Size: SH
  142. Using snap ring pliers, remove the snap ring (1).

  143. Object Number: 2013471  Size: SH
  144. Remove the underdrive planetary ring gear (1) from the counter driven gear (2).

  145. Object Number: 2013473  Size: SH
  146. Remove the underdrive clutch, thrust bearing and bearing race from the transaxle.

  147. Object Number: 2013474  Size: SH
  148. Using a screwdriver, pry out the underdrive clutch flange snap ring.

  149. Object Number: 2013475  Size: SH
  150. Remove the flange, discs and plates from the underdrive clutch drum.

  151. Object Number: 2013481  Size: SH
  152. Remove the underdrive clutch drum O-ring from the clutch drum.

  153. Object Number: 2013482  Size: SH
  154. Remove the underdrive clutch piston set.
  155. Using a press (1), compress the clutch balancer spring.
  156. Using a snap ring expander, remove the snap ring.

  157. Object Number: 2013484  Size: SH
  158. Remove the clutch balancer from the underdrive clutch drum.

  159. Object Number: 2013486  Size: SH
  160. Remove the piston return spring from the underdrive clutch drum.

  161. Object Number: 2013491  Size: SH
  162. Install the underdrive clutch to the transaxle
  163. Holding the underdrive clutch piston with your hand, apply compressed air to the transaxle case to remove the underdrive clutch piston.

  164. Object Number: 2013492  Size: SH
  165. Using a screwdriver, pry out the snap ring from the transaxle.

  166. Object Number: 2013494  Size: SH
  167. Remove the 1-way clutch from the transaxle.

  168. Object Number: 2013495  Size: SH
  169. Remove the outer race retainer from the 1-way clutch.

  170. Object Number: 2013496  Size: SH
  171. Using a screwdriver, pry out the snap ring.

  172. Object Number: 2013498  Size: SH
  173. Remove the flange, discs and plates from the transaxle.

  174. Object Number: 2013499  Size: SH
  175. Using a snap ring expander and press (1), remove the snap ring and piston return spring.

  176. Object Number: 2013500  Size: SH
  177. Remove the No. 1 plugs from the transaxle rear cover.
  178. Remove the O-rings from the plugs.

  179. Object Number: 2013501  Size: SH
  180. Remove the bolts retaining the rear cover.

  181. Object Number: 2013502  Size: SH
  182. Tap in the circumference of the rear cover with a plastic-fased hammer to remove the transaxle rear cover from the transaxle.
  183. Remove the oil seal rings from the transaxle rear cover.

  184. Object Number: 2013503  Size: SH
  185. Remove the bolts and transaxle rear cover plate.

  186. Object Number: 2013504  Size: SH
  187. Using a suitable puller (1), remove the needle-roller bearing from the transaxle rear cover.

  188. Object Number: 2013506  Size: SH
  189. Remove the bolt, clamp and brake apply tubes.
  190. Remove the brake apply tube from the clamp.
  191. Remove the front clutch apply tube from the clamp.

  192. Object Number: 2013507  Size: SH
  193. Using a screwdriver, remove the governor apply gaskets (1, 2).

  194. Object Number: 2013508  Size: SH
  195. Remove the thrust bearing and direct clutch from the transaxle.

  196. Object Number: 2013522  Size: SH
  197. Remove the bearing race from the direct clutch.

  198. Object Number: 2013525  Size: SH
  199. Using a screwdriver, pry out the snap ring from the direct clutch drum.

  200. Object Number: 2013526  Size: SH
  201. Remove the flange, discs and plates from the direct clutch drum.

  202. Object Number: 2013528  Size: SH
  203. Compress the clutch return spring with a press (1).
  204. Using a snap ring expander, remove the snap ring from the direct clutch drum.

  205. Object Number: 2013532  Size: SH
  206. Remove the clutch balancer from the direct clutch drum.

  207. Object Number: 2013534  Size: SH
  208. Remove the piston return spring from the direct clutch drum.

  209. Object Number: 2013536  Size: SH
  210. Install the direct clutch drum on the transaxle rear cover.
  211. Holding the direct clutch piston with your hand, apply compressed air to the transaxle rear cover (1) to remove the direct clutch piston.

  212. Object Number: 2013538  Size: SH
  213. Remove the rear planetary sun gear from the transaxle.

  214. Object Number: 2013540  Size: SH
  215. Remove the thrust bearing from the rear planetary sun gear.

  216. Object Number: 2013549  Size: SH
  217. Remove the No. 1 thrust washer from the rear planetary sun gear.

  218. Object Number: 2013551  Size: SH
  219. Remove the 1-way clutch and thrust bearing from the transaxle.

  220. Object Number: 2013557  Size: SH
  221. Remove the inner race from the 1-way clutch.

  222. Object Number: 2013559  Size: SH
  223. Remove the 1-way clutch outer sleeve.

  224. Object Number: 2013561  Size: SH
  225. Remove the 2nd brake clutch disc.
  226. Using a screwdriver, remove the snap ring.
  227. Remove the flange, discs and plates from the transaxle.

  228. Object Number: 2013567  Size: SH
  229. Using a screwdriver, remove the snap ring.

  230. Object Number: 2013569  Size: SH
  231. Remove the 2nd brake piston from the transaxle.

  232. Object Number: 2012354  Size: SH
  233. Using a press (1), compress the 2nd brake return spring.
  234. Using a screwdriver, pry out the snap ring.

  235. Object Number: 2013570  Size: SH
  236. Remove the piston return spring.

  237. Object Number: 2013572  Size: SH
  238. Hold the 2nd brake piston and apply compressed air to the 2nd brake cylinder to remove the 2nd brake piston.

  239. Object Number: 2013667  Size: SH
  240. Remove the O-rings from the 2nd brake piston.

  241. Object Number: 2013668  Size: SH
  242. Using a screwdriver, pry out the snap ring.

  243. Object Number: 2013669  Size: SH
  244. Remove the rear planetary gear from the transaxle.

  245. Object Number: 2013670  Size: SH
  246. Remove the No. 1 planetary carrier thrust washer from the rear planetary gear.

  247. Object Number: 2013671  Size: SH
  248. Remove the bearing race from the rear planetary gear.

  249. Object Number: 2013672  Size: SH
  250. Remove the thrust bearings, bearing race and input sun gear from the transaxle.

  251. Object Number: 2013673  Size: SH

    Note: Push down all of the tabs on the washer.

  252. Using a chisel and hammer, unstake the lock washer.

  253. Object Number: 2013674  Size: SH
  254. Using DT-49189 wrench  (1), remove the nut.

  255. Object Number: 2013675  Size: SH
  256. Using a press (1), remove the front planetary gear from the counter drive gear.

  257. Object Number: 2013676  Size: SH
  258. Remove the front planetary gear from the brake hub.

  259. Object Number: 2013681  Size: SH
  260. Using a screwdriver, remove the snap ring and front planetary ring gear from the brake hub.

  261. Object Number: 2013682  Size: SH
  262. Remove the flange, discs and plates from the transaxle case.

  263. Object Number: 2013683  Size: SH
  264. Using a press (1) and snap ring expander, remove the snap ring and piston return spring.

  265. Object Number: 2013684  Size: SH
  266. Apply compressed air to the transaxle case to remove the 1st and reverse brake piston.

  267. Object Number: 2013686  Size: SH
  268. Remove the O-rings (1) from the 1st and reverse brake piston.

  269. Object Number: 2013687  Size: SH
  270. Using a press (1), remove the counter drive gear from the transaxle case.

  271. Object Number: 2013689  Size: SH
  272. Tighten the bolts evenly and make a clearance of approximately 20.0 mm (0.797 in) between the counter drive gear and the inner race.

  273. Object Number: 2013690  Size: SH
  274. Using a suitable puller (1), remove the tapered roller bearing.

  275. Object Number: 2013691  Size: SH
  276. Using a brass bar and hammer, tap out the bearing outer races.

  277. Object Number: 2013692  Size: SH
  278. Remove the counter drive gear hole snap ring.
  279. Using a screwdriver, pry out the snap ring from the transaxle.
  280. Remove the No. 2 breather plug.

  281. Object Number: 2013693  Size: SH
  282. Remove the underdrive brake piston.
  283. Apply compressed air to the transaxle case (1) to remove the underdrive brake piston.

  284. Object Number: 2013694  Size: SH
  285. Remove the O-rings (1) from the underdrive brake piston.

  286. Object Number: 2012929  Size: SH
  287. Using a suitable puller, remove the needle-roller bearing from the transaxle.

  288. Object Number: 2013700  Size: SH
  289. Remove the oil seal ring from the transaxle housing.

  290. Object Number: 2013702  Size: SH
  291. Remove the bolt, clamp and apply tube from the transaxle.

Inspection Procedure


    Object Number: 2013703  Size: SH
  1. Using a dial indicator, measure the input shaft end play.
  2. Specification
    Standard end play - 0.262 to 1.249 mm (0.0103 to 0.0492 in)


    Object Number: 2013705  Size: SH
  3. Inspect pack clearance of forward clutch.
  4. Install the forward clutch on the oil pump.
  5. Using a dial indicator, measure the forward clutch piston stroke while applying and releasing compressed air (1).
  6. Specification
    Standard position stroke - 1.74 to 2.08 mm (0.0685 to 0.0819 in)

  7. If the piston stroke is less than the minimum, the parts may have been assembled incorrectly. Check and reassemble again.
  8. Note: As the opening is big, cover it with a shop rag to prevent the compressed air from being discharged

  9. If the clearance is not as specified, select another flange.

  10. Object Number: 2013706  Size: SH
  11. Inspect the forward multiple disc clutch disc.
  12. Note: 

       • If the lining of the disc is peeling off or discolored, replace all discs.
       • Before assembling new discs, soak them in ATF WS for at least 15 minutes.

  13. Check to see if the sliding surface of the disc, plate and flange are worn or burnt. If necessary, replace them.

  14. Object Number: 2013708  Size: SH
  15. Inspect the forward clutch return spring sub-assembly.
  16. Using a vernier caliper, measure the free length of the spring together with the spring seat.
  17. Specification
    Standard free length - 28.23 mm (1.1102 in)


    Object Number: 2013709  Size: SH
  18. Inspect the forward clutch piston subassembly.
  19. Shake the piston to check that the check ball is not stuck.
  20. Check that air does not leak from the valve when applying low compressed air.

  21. Object Number: 2013712  Size: SH
  22. Inspect the multiple disc clutch hub.
  23. Note: 

       • When the diameter is over the maximum, replace the multiple disc clutch hub with a new one.
       • Check the contact surface of the bush in the direct clutch shaft. If any scratch or discolor is identified, replace the direct clutch subassembly with a new one.

  24. Using a caliper gage, measure the inside diameter of the forward clutch hub bushing.
  25. Specification

        • Standard inside diameter - 23.025 to 23.045 mm (0.9065 to 0.9073 in.)
        • Maximum inside diameter - 23.09 mm (0.9091 in.)
  26. If the inside diameter is greater then the maximum, replace the forward clutch hub.

  27. Object Number: 2013715  Size: SH
  28. Inspect the underdrive clutch pack clearance.
  29. Install the underdrive clutch to the transaxle.

  30. Object Number: 2013718  Size: SH
  31. Using a dial indicator, measure the underdrive clutch pack clearance while applying and releasing compressed air.
  32. Specification
    Standard pack clearance - 1.51 to 1.90 mm (0.0594 to 0.0748 in)

  33. If the pack clearance is not as specified, inspect the discs, plates and flange.

  34. Object Number: 2013719  Size: SH
  35. Inspect the No. 1 underdrive clutch disc.
  36. Note: 

       • If the lining of the discs is peeling off or discolored, or even if a part of the printed mark is defaced, replace all discs.
       • Before assembling new discs, soak them in ATF WS for at least 15 minutes.

  37. Check to see if the sliding surface of the disc, plate and flange are worn or burnt. If necessary, replace them.

  38. Object Number: 2013720  Size: SH
  39. Inspect the underdrive clutch drum subassembly.
  40. Specification

        • Standard drum bush - 37.06 to 37.08 mm (1.4591 to 1.4598 in.)
        • Maximum drum bush - 37.13 mm (1.4618 in.)
  41. If the inside diameter is greater then the maximum, replace the underdrive clutch drum sub-assembly.

  42. Object Number: 2013722  Size: SH
  43. Inspect underdrive clutch return spring sub-assembly.
  44. Using a vernier caliper, measure the free length of the spring together with the spring seat.
  45. Specification
    Standard free length - 17.14 mm (0.6752 in.)


    Object Number: 2013723  Size: SH
  46. Inspect the No. 2 underdrive clutch disc.
  47. Notice: 

       • If the lining of the disc is peeling off or discolored, or even if a part of the groove is defaced, replace all discs.
       • Before assembling new discs, soak them in ATF WS for at least 15 minutes.

  48. Check to see if the sliding surface of the disc, plate and flange are worn or burnt. If necessary, replace them.

  49. Object Number: 2013725  Size: SH
  50. Inspect the underdrive brake return spring sub-assembly.
  51. Using a vernier caliper, measure the free length of the spring together with the spring seat.
  52. Specification
    Standard free length - 14.04 mm (0.5528 in)


    Object Number: 2013726  Size: SH
  53. Inspect the pack clearance of direct clutch.
  54. Install the direct clutch and needle roller bearing on the transaxle rear cover.
  55. Using a dial indicator, measure the forward clutch pack clearance while applying and releasing compressed air.
  56. Specification
    Standard pack clearance - 0.515 to 0.825 mm (0.0203 to 0.0324 in.)

  57. If the pack clearance is not as specified, inspect the discs, plates and flange.

  58. Object Number: 2013727  Size: SH
  59. Inspect the direct multiple disc clutch disc.
  60. Note: 

       • If the lining of the disc is peeling off or discolored, or even if a part of the printed mark is defaced, replace all discs.
       • Before assembling new discs, soak them in ATF WS for at least 15 minutes.

  61. Check to see if the sliding surface of the disc, plate and flange are worn or burnt. If necessary, replace them.

  62. Object Number: 2013728  Size: SH
  63. Inspect the direct clutch return spring sub-assembly.
  64. Using a vernier caliper, measure the free length of the spring together with the spring seat.
  65. Specification
    Standard free length - 22.58 mm (0.8898 in)


    Object Number: 2013729  Size: SH
  66. Inspect the 2nd brake clutch disc.
  67. Note: 

       • If the lining of the disc is peeling off or discolored, or even if a part of the printed mark is defaced, replace all discs.
       • Before assembling new discs, soak them in ATF WS for at least 15 minutes.

  68. Check to see if the sliding surface of the disc, plate and flange are worn or burnt. If necessary, replace them.

  69. Object Number: 2013722  Size: SH
  70. Inspect the 2nd brake piston return spring sub-assembly.
  71. Using a vernier caliper, measure the free length of the spring together with the spring seat.
  72. Specification
    Standard free length - 16.61 mm (0.6539 in)


    Object Number: 2013730  Size: SH
  73. Inspect the 1st and reverse brake clutch disc.
  74. Note: 

       • If the lining of the disc is peeling off or discolored, or even if a part of the printed mark is defaced, replace all discs.
       • Before assembling new discs, soak them in ATF WS for at least 15 minutes.

  75. Check to see if the sliding surface of the disc, plate and flange are worn or burnt. If necessary, replace them.

  76. Object Number: 2013731  Size: SH
  77. Inspect the 1st and reverse brake return spring sub-assembly.
  78. Using a vernier caliper, measure the free length of the spring together with the spring seat.
  79. Specification
    Standard free length - 15.5 mm (0.6106 in)


    Object Number: 2013732  Size: SH
  80. Inspect the underdrive 1-way clutch assembly.
  81. Install the underdrive clutch assembly to the 1-way clutch. Rotate the underdrive clutch assembly to check the rotating direction for the lock or free operation.

Disassembly


    Object Number: 2013939  Size: SH
  1. Remove the clutch drum oil seal rings.

  2. Object Number: 2013941  Size: SH
  3. Remove the bolts (1-11) and stator shaft. Keep the gears in assembled order.

  4. Object Number: 2013943  Size: SH
  5. Remove the front oil pump drive gear (1).

  6. Object Number: 2013946  Size: SH
  7. Remove the front oil pump driven gear (1).

  8. Object Number: 2013952  Size: SH
  9. Using a screwdriver, pry out the O-ring.

  10. Object Number: 2013956  Size: SH
  11. Mount the oil pump in a soft jaw vise.
  12. Using a suitable puller (1), tap out the oil seal from the oil pump body.

  13. Object Number: 2013958  Size: SH
  14. Turn the drive gear with two screwdrivers and make sure it rotates smoothly.

  15. Object Number: 2013960  Size: SH
  16. Push the driven gear to one side of the body. Using a feeler gage, measure the clearance.
  17. Specification

        • Standard body clearance - 0.10 to 0.17 mm (0.0039 to 0.0067 in)
        • Maximum body clearance - 0.17 mm (0.0067 in)
  18. If the body clearance is greater than the maximum, replace the oil pump body sub-assembly.

  19. Object Number: 2013961  Size: SH
  20. Measure the tip clearance between the driven gear teeth and drive gear teeth.
  21. Specification

        • Standard tip clearance - 0.07 to 0.15 mm (0.0028 to 0.0059 in)
        • Maximum tip clearance - 0.15 mm (0.0059 in)
  22. Using a straightedge and feeler gauge, measure the side clearance of both gears.
  23. Specification

        • Maximum side clearance -0.05 mm (0.002 in.)
        • Standard side clearance - 0.02 to 0.05 mm (0.0008 to 0.002 in)

    Object Number: 2013970  Size: SH
  24. Inspect front oil pump and gear body subassembly.
  25. Using a caliper gauge, measure the inside diameter of the oil pump body bushing.
  26. Specification

        • Standard inside diameter - 38.113 to 38.138 mm (1.5005 to 1.5014 in)
        • Maximum inside diameter - 38.188 mm (1.5034 in)
  27. If the inside diameter is grater than maximum, replace the oil pump body sub-assembly.

  28. Object Number: 2013971  Size: SH
  29. Inspect the stator shaft assembly.
  30. Using a caliper gauge, measure the inside diameter of the stator shaft bushing.
  31. Specification

        • Standard inside diameter - 21.500 to 21.526 mm (0.8464 to 0.8474 in)
        • Maximum inside diameter - 21.57 mm (0.8492 in)
  32. If the indicator diameter is greater than the maximum, replace the stator shaft.

  33. Object Number: 2013997  Size: SH
  34. Place the matchmarks (1) on the ring gear and differential case.

  35. Object Number: 2013999  Size: SH
  36. Remove the bolts.

  37. Object Number: 2014001  Size: SH
  38. Using a plastic-faced hammer, tap on the ring gear to remove it from the case.

  39. Object Number: 2014002  Size: SH
  40. Using a suitable puller (3), tap out the front differential case front tapered roller bearing from the differential case.

  41. Object Number: 2014004  Size: SH
  42. Using a suitable puller (1), remove the front differential case front tapered roller bearing outer race.

  43. Object Number: 2014009  Size: SH
  44. Using a suitable puller (1), remove the front differential case rear tapered roller bearing from the differential case.

  45. Object Number: 2014011  Size: SH
  46. Using a suitable puller (1), tap out the front differential case front tapered roller bearing outer race.

  47. Object Number: 2014012  Size: SH

    Note: Before removing the straight pin, unstake it with a pin punch.

  48. Using a pin punch and hammer, tap in the straight pin.

  49. Object Number: 2014015  Size: SH
  50. Remove the front differential pinion shaft from the differential case.

  51. Object Number: 2014017  Size: SH
  52. Remove the front differential pinions, pinion thrust washers, front differential side gears and side gear thrust washers from the differential case.

  53. Object Number: 2014022  Size: SH
  54. Using a suitable driver (1) and hammer, tap out the oil seal.

  55. Object Number: 2014023  Size: SH
  56. Using a suitale tool (1, 2) and hammer, tap out the oil seal.