GM Service Manual Online
For 1990-2009 cars only

Removal Procedure


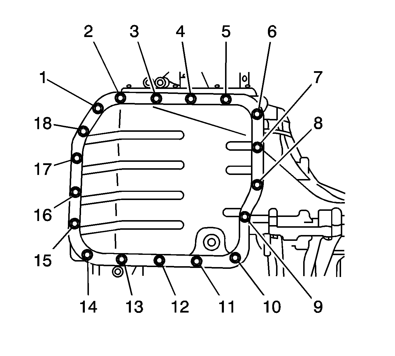
    Object Number: 2012948  Size: SH
  1. Remove engine splash shield. Refer to Engine Splash Shield Replacement - Left Side.
  2. Drain automatic transaxle fluid.
  3. Remove the drain plug and gasket, and drain ATF WS.
  4. Caution: Refer to Fastener Caution in the Preface section.

  5. Install a new gasket and the drain plug and tighten to 47 N·m (35 lb ft).
  6. Remove the battery. Refer to Battery Replacement.
  7. Remove the battery tray. Refer to Battery Tray Replacement.
  8. Remove the transmission oil filler tube assembly.
  9. Note:  Some fluid will remain in the oil pan. Carefully remove the oil pan.

  10. Remove the bolts (1-18), oil pan and gasket.

  11. Object Number: 2012950  Size: SH
  12. Disconnect the shift solenoid valve connectors.
  13. Remove the bolt, lock plate (1) and ATF WS temperature sensor.
  14. Disconnect the transmission wire connector.

  15. Object Number: 2012954  Size: SH
  16. Remove the bolt (1) and transmission wire.

  17. Object Number: 2012956  Size: SH
  18. Remove the O-ring (1) from the transmission wire.

Installation Procedure


    Object Number: 2012956  Size: SH
  1. Coat a new O-ring (1) of the transmission wire connector with ATF WS.

  2. Object Number: 2012954  Size: SH
  3. Install the transmission wire with the bolt (1) and tighten to 5 N·m (44 lb in).
  4. Connect the connector.

  5. Object Number: 2012950  Size: SH
  6. Coat the O-ring of the ATF temperature sensor with ATF WS.
  7. Install the ATF temperature sensor with the lock plate (1) and bolt and tighten to 7 N·m (62 lb in).
  8. Connect the shift solenoid valve connectors.

  9. Object Number: 2012957  Size: SH
  10. Install the magnets (1) in the oil pan.
  11. Apply Three Bond 1281 sealant, or equivalent, to the bolts.

  12. Object Number: 2012948  Size: SH
  13. Install a new gasket and the oil pan with the bolts (1-18) and tighten to 8 N·m (71 lb in).
  14. Install the transmission oil filler tube subassembly.
  15. Install the battery tray. Refer to Battery Tray Replacement.
  16. Install the battery. Refer to Battery Replacement.
  17. Add automatic transaxle fluid.
  18. Inspect the transaxle fluid level.
  19. Install the engine splash shield. Refer to Engine Splash Shield Replacement - Left Side.