GM Service Manual Online
For 1990-2009 cars only
Makes
🢒
Pontiac
🢒
2009
🢒
Vibe - FWD
🢒
Transmission
🢒
Transfer Case - Toyota MF1A
🢒 Front Output Shaft Seal Replacement
Removal Procedure
Remove the right front drive shaft assembly. Refer to
Front Wheel Drive Shaft Replacement - Right Side
.
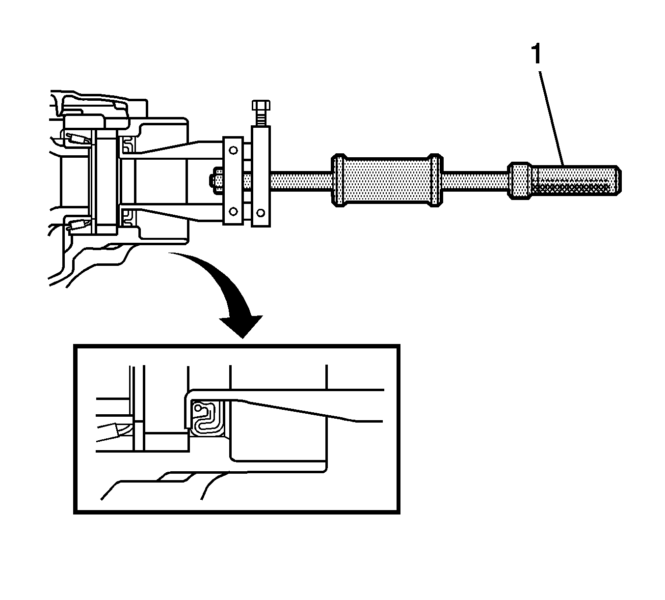
Using a suitable puller (1), remove the transfer case front oil seal from the transfer case.
Installation Procedure
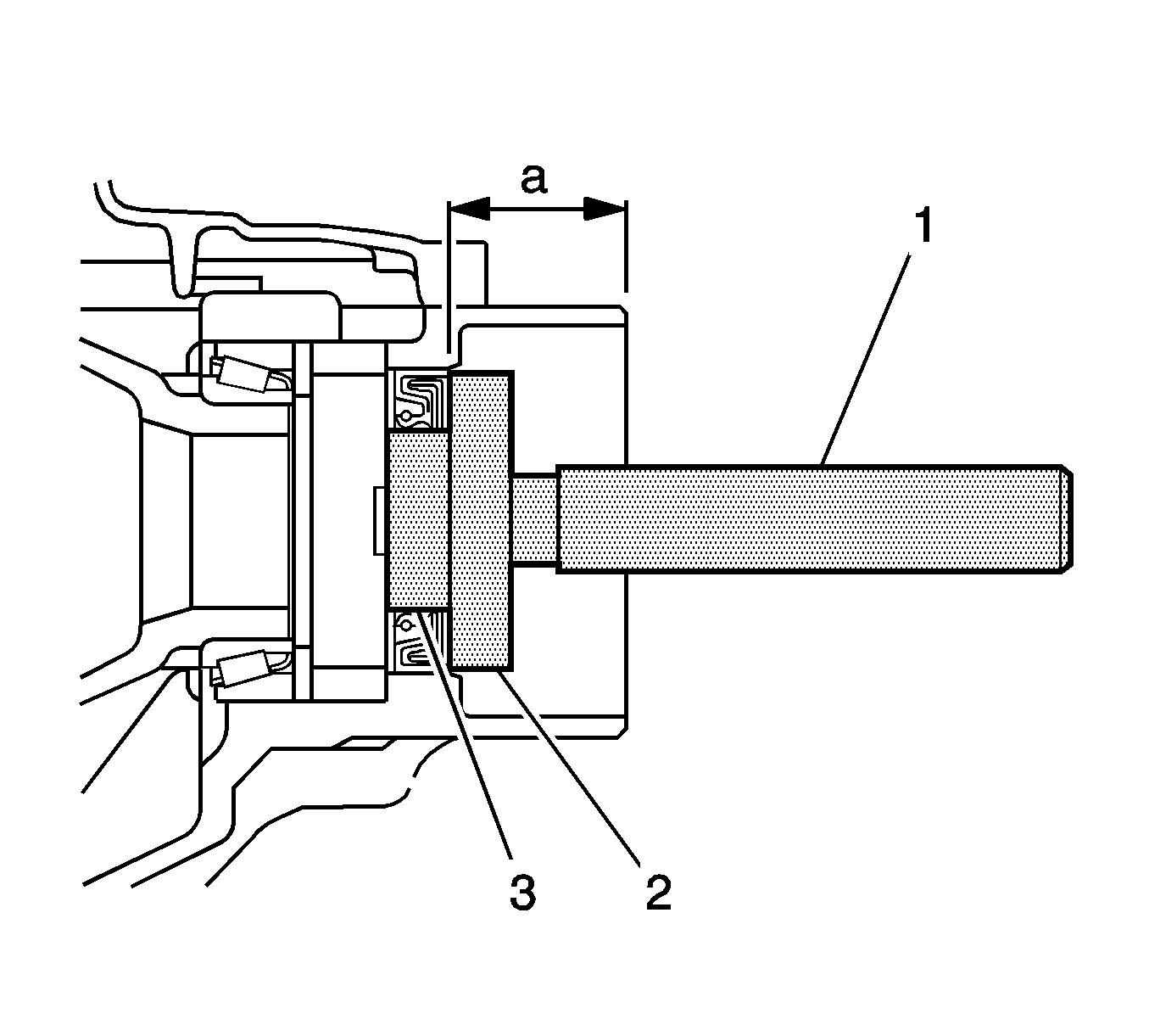
Using a suitable installer (1), install a new transfer case front oil seal into the transfer case to the position shown.
Specification
Drive in depth: 33.7-34.3 mm (1.3268-1.3504 in)
Apply a small amount of MP grease to the lip of the oil seal.
Install the front drive shaft assembly. Refer to
Front Wheel Drive Shaft Replacement - Right Side
.