GM Service Manual Online
For 1990-2009 cars only

Disassembly Procedure


    Object Number: 1241867  Size: SH

    Notice: Never operate the starter motor more than 15 seconds at a time without pausing in order to allow it to cool for at least 2 minutes. Overheating will damage the starter motor.

  1. Remove the starter. Refer to Starter Motor Replacement .
  2. Remove the starter through-bolts.

  3. Object Number: 1241868  Size: SH
  4. Remove the commutator end frame and brush holder assembly.
  5. Inspect the brushes, the pop-out springs, and the brush holders for wear and damage. Replace the assembly, if needed.
  6. Check the armature to see if it turns freely. If the armature does not turn freely, break down the assembly immediately, starting with Step 14. Otherwise, give the armature a no-load test.

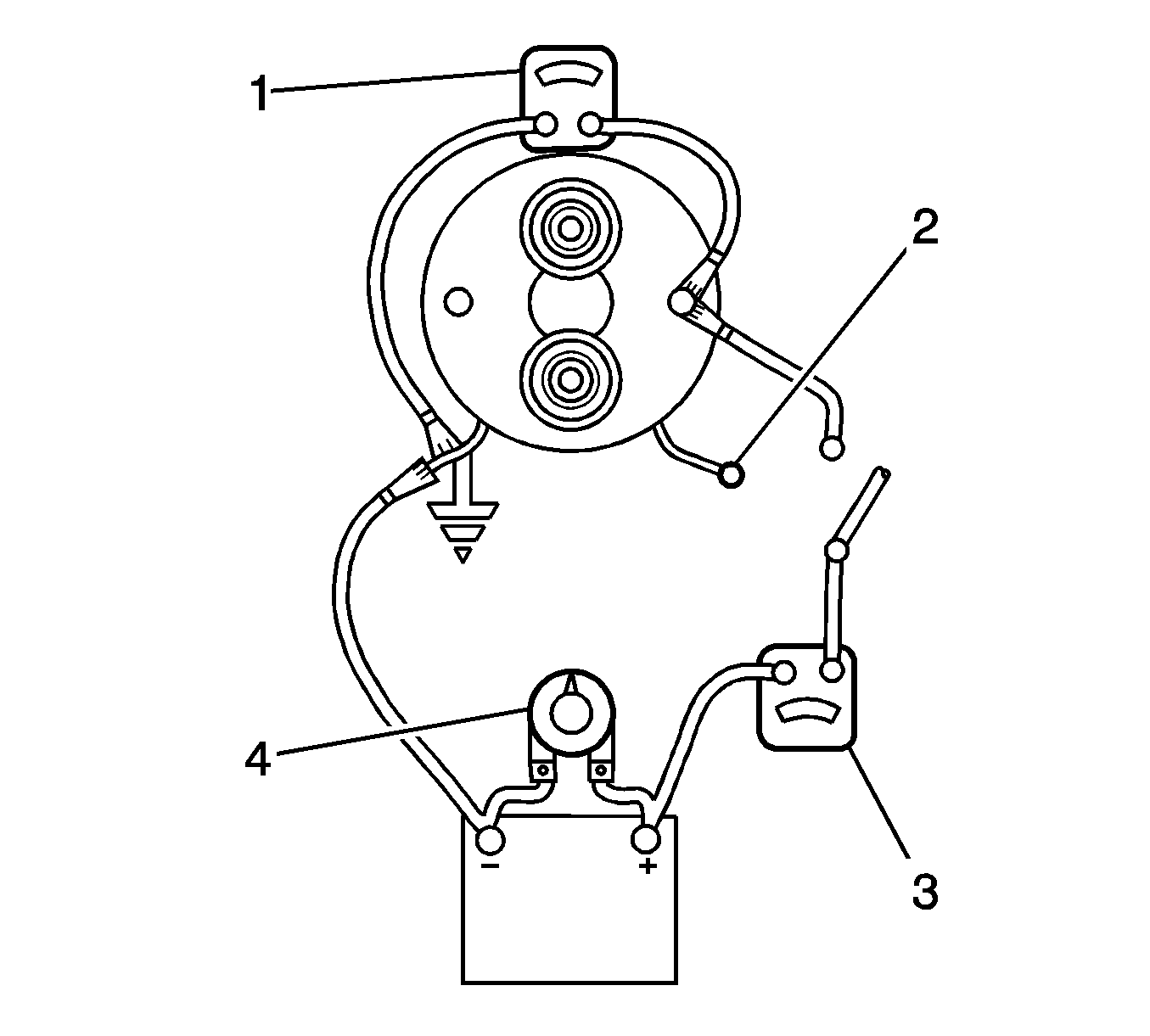
  7. Object Number: 1241869  Size: SH

    Notice: Complete the testing as quickly as possible in order to prevent overheating and damaging the solenoid.

    Important: If the specified current draw does not include the solenoid, deduct from the armature reading (1) the specified current draw of the solenoid hold-in winding.

  8. To begin the no-load test, close the switch (3) and compare the RPM (4), the current, and the voltage readings (2) with the specifications. Refer to Starter Motor Usage . Make disconnections only with the switch open. Use the test results as follows:
  9. 6.1. Rated current draw and no-load speed indicate a normal condition for the starter motor.
    6.2. Low RPM combined with high current draw is an indication of excessive friction caused by tight, dirty, or worn bearings; a bent armature shaft; a shorted armature; or shorted field coils.
    6.3. Failure to operate with high current draw indicates a direct ground in the terminal or fields, or frozen bearings.
    6.4. Failure to operate with no current draw indicates an open field circuit, open armature coils, broken brush springs, worn brushes, high insulation between the commutator bars, or other causes which would prevent good contact between the brushes and the commutator.
    6.5. Low, no-load speed and low current indicate high internal resistance and high current draw, which usually mean shorted fields.

    Object Number: 1241870  Size: SH
  10. Remove the solenoid assembly screws.

  11. Object Number: 1241871  Size: SH
  12. Remove the field connector nut. Disconnect the field connector.

  13. Object Number: 1241872  Size: SH
  14. Remove the plunger return spring.

  15. Object Number: 1241874  Size: SH

    Important: If the solenoids is not removed from the starting motor, the connector strap terminals must be removed from the terminal on the solenoid before making these tests.

  16. Test the solenoid windings by checking the current draw.
  17. 10.1. Check the hold-in windings by connecting an ammeter (3) in series with a 12-volt battery, the switch terminal (2), and to ground.
    10.2. Connect the carbon pile (4) across the battery.
    10.3. Adjust the voltage to 10 bolts. The ammeter reading should be 13 to 19 amperes. Current will decrease as the windings heat up. Current draw readings that are over specifications indicate shorted turns or a ground in the windings of the solenoid. Both conditions require replacement of the solenoid. Current draw readings that are under specifications indicate excessive resistance. No reading indicates an open circuit.

    Object Number: 1241875  Size: SH

    Important: Current will decrease as the windings heat up. Current draw readings that are over specifications indicate shorted turns or a ground in the windings of the solenoid. Both conditions require replacement of the solenoid. Current draw readings that are under specifications indicate excessive resistance. No reading indicates an open circuit.

  18. Check both windings, connecting them according to the preceding test.
  19. 11.1. Ground the solenoid motor terminal.
    11.2. Adjust the voltage to 10 volts. The ammeter reading should be 59-79 amperes.
    11.3. Check the connections and replace the solenoid, if necessary.
  20. Slide the field frame with enclosed armature assembly away from the starter assembly.
  21. Remove the shield.

  22. Object Number: 1241884  Size: SH
  23. Separate the field frame from the armature.

  24. Object Number: 1241885  Size: SH
  25. Inspect the shaft and the pinion for discoloration, damage, or wear. Replace, if necessary.
  26. Inspect the armature commutator. If the commutator is rough, it should be turned down. The outside diameter of the commutator must measure at least 26.9-27.1 mm (1.059-1.067 in) after it is undercut or turned. Do not turn out-of-round commutators.
  27. Inspect the points where the armature conductors join the commutator bars. Make sure they have a good connection. A burned commutator bar is usually evidence of a poor connection.
  28. If the test equipment is available, check the armature for short circuits by placing it on a growler, and holding back a saw blade over the armature core while the armature is rotated. If the saw blade vibrates, replace the armature.
  29. Recheck the armature after cleaning between the commutator bars. If the saw blade vibrates, replace the armature.

  30. Object Number: 1241886  Size: SH
  31. Remove the locking ring from the groove in the driveshaft.

  32. Object Number: 1241893  Size: SH
  33. Remove the pinion stop and the drive from the driveshaft.

  34. Object Number: 1241870  Size: SH
  35. If not done in the previous steps, remove the screws that hold the solenoid assembly into the housing, and remove the nut from the field coil connector.

  36. Object Number: 1241872  Size: SH
  37. Rotate the solenoid 90 degrees and remove it along with the return spring.

  38. Object Number: 1241894  Size: SH
  39. Remove the plunger with the boot and the shift lever assembly. Test the solenoid windings, if not done in Step 11.

  40. Object Number: 1241896  Size: SH

    Important: The pinion clearance must be correct to prevent the buttons on the shift lever yoke from rubbing on the clutch collar during the cranking.

  41. When the starter motor is disassembled and the solenoid is replaced, it is necessary to check the pinion clearance.

  42. Object Number: 1241898  Size: SH
  43. Disconnect the motor field coil connector from the solenoid motor terminal and carefully insulate the connector.
  44. Connect one 12-volt battery lead to the solenoid switch terminal and the other to the starter frame.
  45. Flash a jumper lead momentarily from the solenoid motor terminal to the starter frame, allowing shifting of the pinion in the cranking position, where it will remain until the battery is disconnected.
  46. Important: A means for adjusting the pinion clearance is not provided on the starter motor. If the clearance does not fall within the limits, check for improper installation and replace all worn parts.

  47. Push the pinion back as far as possible to take up any movement, and check the clearance with a feeler gage. The clearance should be 0.25 to 3.56 mm (0.01 to 0.14 in).

Assembly Procedure

    Caution: Refer to Safety Glasses Caution in the Preface section.


    Object Number: 1241893  Size: SH
  1. Install the drive and the pinion stop on the driveshaft.

  2. Object Number: 1241886  Size: SH
  3. Install the lock ring to the groove on the driveshaft and insert the collar.

  4. Object Number: 1241894  Size: SH
  5. Install the shift lever, washer and the cushion.

  6. Object Number: 1241885  Size: SH
  7. Lubricate the drive end of the armature shaft with lubricant.

  8. Object Number: 1241872  Size: SH
  9. Position the solenoid assembly.
  10. Notice: Refer to Fastener Notice in the Preface section.


    Object Number: 1241870  Size: SH
  11. Fasten the solenoid assembly with the screws.
  12. Tighten
    Tighten the starter solenoid assembly screws to 8 N·m (71 lb in).

  13. Install the field coil connection to the starter terminal. Install the nut.
  14. Tighten
    Tighten the starter field coil connector nut to 8 N·m (71 lb in).


    Object Number: 1241875  Size: SH
  15. Position the armature assembly into the field frame.
  16. Place the shield on the armature and field frame assembly.
  17. Install the armature and field frame assembly with the shield into the starter housing.

  18. Object Number: 1241894  Size: SH
  19. Position the commutator end frame/brush holder assembly, lining up the end frame holes with the through-bolt holes in the housing.

  20. Object Number: 1241867  Size: SH
  21. Install the starter through-bolts.
  22. Install the starter. Refer to Starter Motor Replacement .
  23. Tighten
    Tighten the starter through-bolts to 6 N·m (53 lb in).