GM Service Manual Online
For 1990-2009 cars only

Generator Overhaul 1.4L/1.5L SOHC and 1.4L/1.6L DOHC

Disassembly Procedure


    Object Number: 1241900  Size: SH
  1. Remove the generator. Refer to Generator Replacement .
  2. Mark a match line that cannot easily be removed on the end frame to make assembly easier.
  3. Pry off the plastic cover to expose the stator connections.

  4. Object Number: 1241901  Size: SH

    Notice: If the stator connections are welded in, use just enough heat to melt the lead. Avoid using to much heat as it can damage the diodes.

  5. Remove the stator connections from the rectifier bridge terminals by cutting the wires.

  6. Object Number: 1241902  Size: SH
  7. Pry off the baffle.
  8. Remove the rectifier/regulator/brush hold assembly screws.
  9. Important: If the brush can be reused, reassemble the brush to the holder with the retaining pin, after cleaning the brush with a soft, clean cloth.

  10. Remove the brush holder assembly and the regulator.

  11. Object Number: 1241903  Size: SH
  12. Test the rectifier bridge by connecting the ohmmeter terminals to the bridge and the heat sink.

  13. Object Number: 1241904  Size: SH
  14. Retest by connecting the ohmmeter terminals in reverse.

  15. Object Number: 1241903  Size: SH
  16. Replace the rectifier bridge, if each reading is the same.
  17. Test the remaining two diodes after the above procedure.
  18. Important: Some kinds of digital ohmmeters are not suited for the test of the bridge diode. In this case, consult the manufacturer regarding the test capacity.

  19. Test the diodes by connecting the ohmmeter terminals to the bridge terminal and the base plate. If the reading is the same, the rectifier bridge should be replaced.

  20. Object Number: 1241906  Size: SH
  21. Remove the generator through-bolts.

  22. Object Number: 1241907  Size: SH

    Important: The fastening torque of this nut is 81 N·m (60 lb ft) and may not normally be unfastened using hand strength.

  23. Move to the drive end of the generator and remove the drive end bearing nut.
  24. Remove the pulley and the collars.

  25. Object Number: 1241908  Size: SH
  26. Test the rotor for an open circuit using the ohmmeter with the drive end frame assembled. The reading should be sufficiently high, or the rotor must be replaced.

  27. Object Number: 1289364  Size: SH
  28. Test the rotor for open and short circuits. The reading should be 1.7 to 2.3 ohms, or the rotor should be replaced.

  29. Object Number: 1241909  Size: SH
  30. Remove the drive end frame from the shaft.
  31. For vehicles with an internal generator fan, remove the drive end frame and the fan.

  32. Object Number: 1241910  Size: SH
  33. Remove the rotor assembly.

  34. Object Number: 1241911  Size: SH
  35. Remove the stator.

  36. Object Number: 1241912  Size: SH
  37. Test the stator for an open circuit using the ohmmeter.

  38. Object Number: 1241913  Size: SH
  39. Remove the ring in the slip ring end frame.

Assembly Procedure

    Caution: Refer to Safety Glasses Caution in the Preface section.


    Object Number: 1241906  Size: SH
  1. Install the new ring in the slip ring end frame.
  2. Install the stator.
  3. Position the rotor assembly shaft with the drive end frame in the slip ring end assembly until the gap between the outer lace and the end frame casting is 1.9 mm (0.075 in).
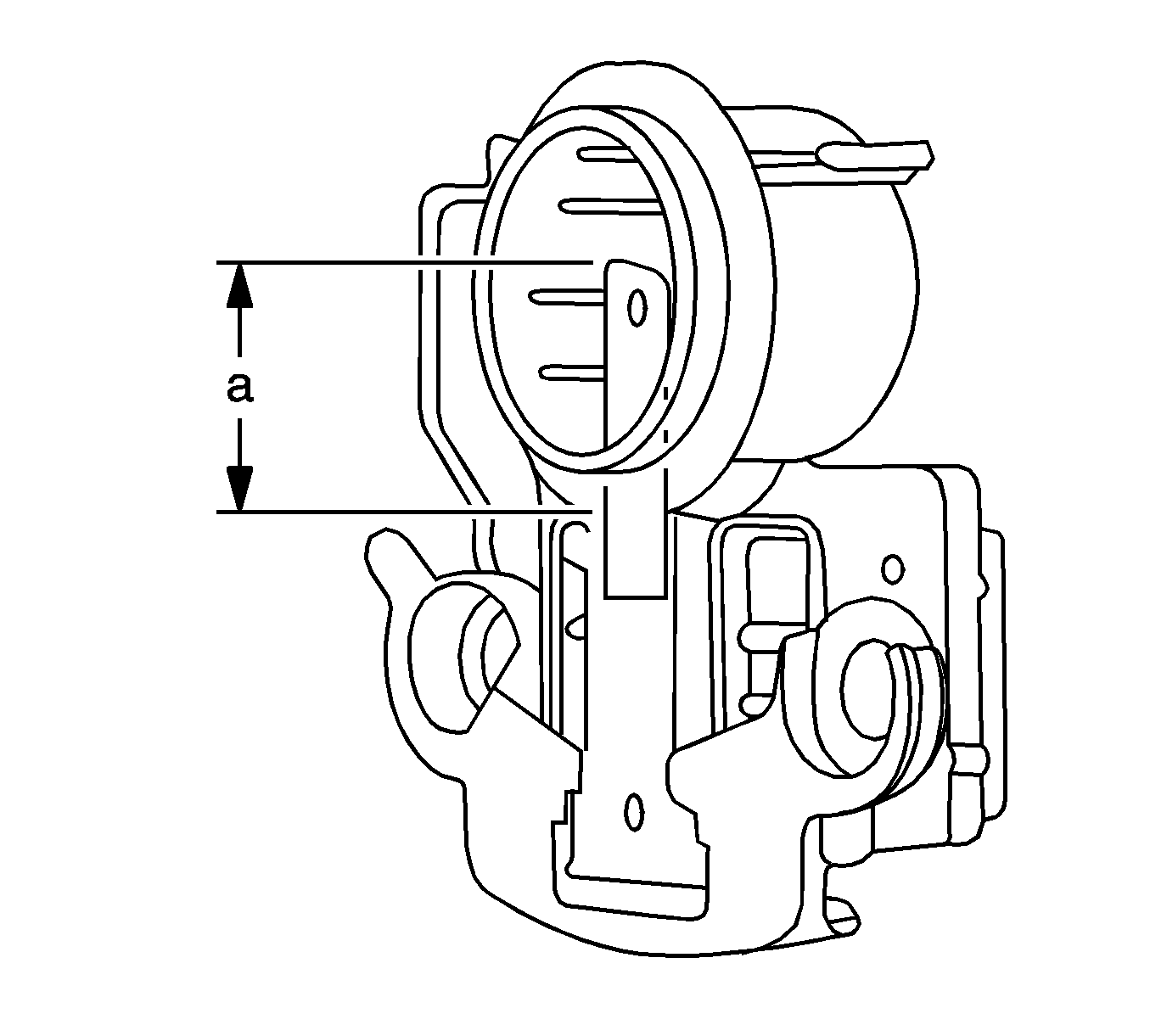
  4. Notice: Refer to Fastener Notice in the Preface section.

  5. Install the generator through-bolts.
  6. Tighten
    Tighten the generator through-bolts to 10 N·m (89 lb in).


    Object Number: 1241907  Size: SH
  7. Position the fan, the collars, and the pulley on the rotor shaft and secure with the nut.
  8. Tighten
    Tighten the generator drive and end bearing nut to 81 N·m (60 lb ft).

  9. Install the generator. Refer to Generator Replacement .

  10. Object Number: 1241902  Size: SH
  11. Wield the brush holder terminal to the regulator terminal, if removed.
  12. Fix the brush holder with the retainer pin, and weld the regulator/brush holder assembled terminal to the rectifier terminal.
  13. Apply silicone grease between the bridge and the end frame for radiation purposes.
  14. Fasten the screws holding the rectifier regulator/brush holder assembly to the end frame.
  15. Punch the new baffle with the pin into the brush.

  16. Object Number: 1241901  Size: SH

    Notice: Protect the diode in the rectifier bridge from excessive heat while welding. Overheating the diode will cause damage to the rectifier bridge.

  17. Weld the connectors of the rectifier bridge.

Generator Overhaul 1.2L SOHC

Removal Procedure


    Object Number: 1343768  Size: SH
  1. Remove the generator. Refer to Generator Replacement .
  2. Mark the generator housing for assembly.
  3. Remove the front bracket and rear bracket.
  4. Remove the generator through-bolts.

  5. Object Number: 1343769  Size: SH
  6. Pry the front housing downwards using a screwdriver.
  7. Separate the front housing and rear housing.

  8. Object Number: 1343770  Size: SH
  9. Cover the rotor with the cloth.
  10. Place the pulley upwards and carefully vise the rotor.
  11. Remove the pulley nut.
  12. Remove the pulley.

  13. Object Number: 1343771  Size: SH
  14. Remove the collar (large).
  15. Remove the rotor from the front housing.
  16. Remove the collar (small) from the rotor shaft.

  17. Object Number: 1343772  Size: SH
  18. Remove the support plate screws.
  19. Remove the support plate.
  20. Remove the front bearing using a press.

  21. Object Number: 1343773  Size: SH
  22. Remove the battery position terminal nut.
  23. Remove the battery positive terminal washer.

  24. Object Number: 1343774  Size: SH
  25. Remove the stator assembly from the rear housing.
  26. Remove the rectifier screws.
  27. Remove the brush holder and regulator assembly screws.
  28. Remove the stator assembly with the rectifier/brush holder/regulator.

  29. Object Number: 1343796  Size: SH
  30. Remove the rectifier/brush holder/regulator connections.
  31. Notice: If the stator connections are welded in, use just enough heat to melt the lead. Avoid using to much heat as it can damage the diodes.

  32. Remove the stator and rectifier connections.

  33. Object Number: 1343798  Size: SH
  34. Test the rotor for an open circuit by using the ohmmeter. Replace the rotor if necessary.

  35. Object Number: 1343799  Size: SH
  36. Test the rotor for a shorted circuit. The measured resistance should be around 2.9 ohms. Replace the rotor if not within the specification.

  37. Object Number: 1343800  Size: SH
  38. Test the stator for an open circuit by using the ohmmeter. Replace the stator if necessary.

  39. Object Number: 1343809  Size: SH
  40. Test the stator for a grounded circuit by using an ohmmeter. Replace the stator if necessary.

  41. Object Number: 1343810  Size: SH
  42. Inspect the rectifier, positive rectifier test.
  43. Inspect for an open circuit at the stator coil lead terminals using an ohmmeter.
  44. Replace the rectifier if necessary.

  45. Object Number: 1343811  Size: SH
  46. Inspect the rectifier, negative rectifier test.
  47. Inspect for an open circuit at the stator coil lead terminals using an ohmmeter.
  48. Replace the rectifier if necessary.

  49. Object Number: 1343812  Size: SH
  50. Inspect trio diodes for an open using an ohmmeter. Replace the trio diodes if necessary.

  51. Object Number: 1343814  Size: SH
  52. Inspect the brushes for wear.
  53. If the brush wear exceeds the specified value (A), replace the brush. Brush Wear: Standard 18.5 mm (0.73 in) Limit 13.5 mm (0.53 in).

Assembly Procedure


    Object Number: 1343824  Size: SH
  1. Install the stator/rectifier/brush housing assembly into the rear housing and inserting a small tool (2) into the housing to hold down the brushes (1).
  2. Notice: Refer to Fastener Notice in the Preface section.


    Object Number: 1343825  Size: SH
  3. Install the stator bolts and nut and screws.
  4. Tighten

        • Tighten the brush holder/regulator/rectifier screws to 12 N·m (106 lb in).
        • Tighten the battery positive terminal nut to 7 N·m (62 lb in).

    Object Number: 1343772  Size: SH
  5. Install the bearing to the housing and install the bearing plate screws.
  6. Tighten
    Tighten the front bearing plate screws to 8 N·m (71 lb in).


    Object Number: 1343771  Size: SH
  7. Install the front housing, and collars to the rotor.
  8. Install the rotor assemblies to the rear housing.

  9. Object Number: 1343770  Size: SH
  10. Place the pulley upwards and carefully vise the rotor using a soft cloth.
  11. Install the generator pulley and nut.
  12. Tighten
    Tighten the pulley nut to 110 N·m (81 lb ft).


    Object Number: 1343768  Size: SH
  13. Assemble the 2 halves of the generator and align to the marks, and install the generator housing through-bolts.
  14. Tighten
    Tighten the through-bolts to 10 N·m (89 lb in).

  15. Install the generator. Refer to Generator Replacement .