GM Service Manual Online
For 1990-2009 cars only

Connecting Rods Inspection


    Object Number: 1241455  Size: SH

    Important: Grease the connecting rod journals and lubricate the connecting rod bearings slightly so that the plastic gaging thread does not tear when the connecting rod bearing caps are removed.

  1. Coat the connecting rod bearings with engine oil.
  2. Install the upper connecting rod bearings into the connecting rod journals.
  3. Install the lower connecting rod bearings into the connecting rod bearing caps.
  4. Inspect all of the connecting rod bearing clearances using a commercially available plastic gaging (1), ductile plastic threads.

  5. Object Number: 1240799  Size: SH
  6. Cut the plastic gaging threads to the length of the bearing width. Lay them axially between the connecting rod journals and the connecting rod bearing.
  7. Notice: Avoid installing the bearing caps incorrectly. Cylinder head and camshaft damage may result.

  8. Install the connecting rod bearing caps (1).
  9. Notice: Refer to Fastener Notice in the Preface section.

  10. Install the connecting rod bearing cap nuts.
  11. Tighten
    Tighten the connecting rod bearing cap nuts to 33 N·m (24 lb ft).


    Object Number: 1241457  Size: SH
  12. Remove the connecting rod bearing caps.
  13. Using a ruler, measure the width of the flattened plastic thread of the plastic gaging (1). Plastic gaging is available for different tolerance ranges.
  14. Inspect the bearing clearance for permissible tolerance ranges. Refer to Engine Mechanical Specifications .

Piston Inspection Procedure


    Object Number: 1240819  Size: SH
  1. Inspect the connecting rod for bending or twisting. If the connecting rod is bent or twisted, replace the connecting rod.
  2. Inspect the connecting rod bearings.
  3. Inspect the connecting rod lower end for wear.
  4. Inspect the connecting rod upper end for scoring.
  5. Inspect the piston for scoring, cracks, and wear.
  6. Using a micrometer, inspect the piston for taper.

  7. Object Number: 1240821  Size: SH
  8. Inspect the fit of the piston to the connecting rod.

  9. Object Number: 1230386  Size: SH
  10. Inspect the engine block deck surface for flatness using a straight edge and a feeler gage. Refer to Engine Mechanical Specifications .
  11. Inspect the bearing bore for concentricity and alignment using a bore gage (1). Refer to Engine Mechanical Specifications .
  12. Inspect the engine block cylinder bore for wear, runout ridging and taper using a bore gage. Refer to Engine Mechanical Specifications .
  13. Inspect the engine block cylinder bore for glazing. Lightly hone the cylinder bore, as necessary.

Installation Procedure


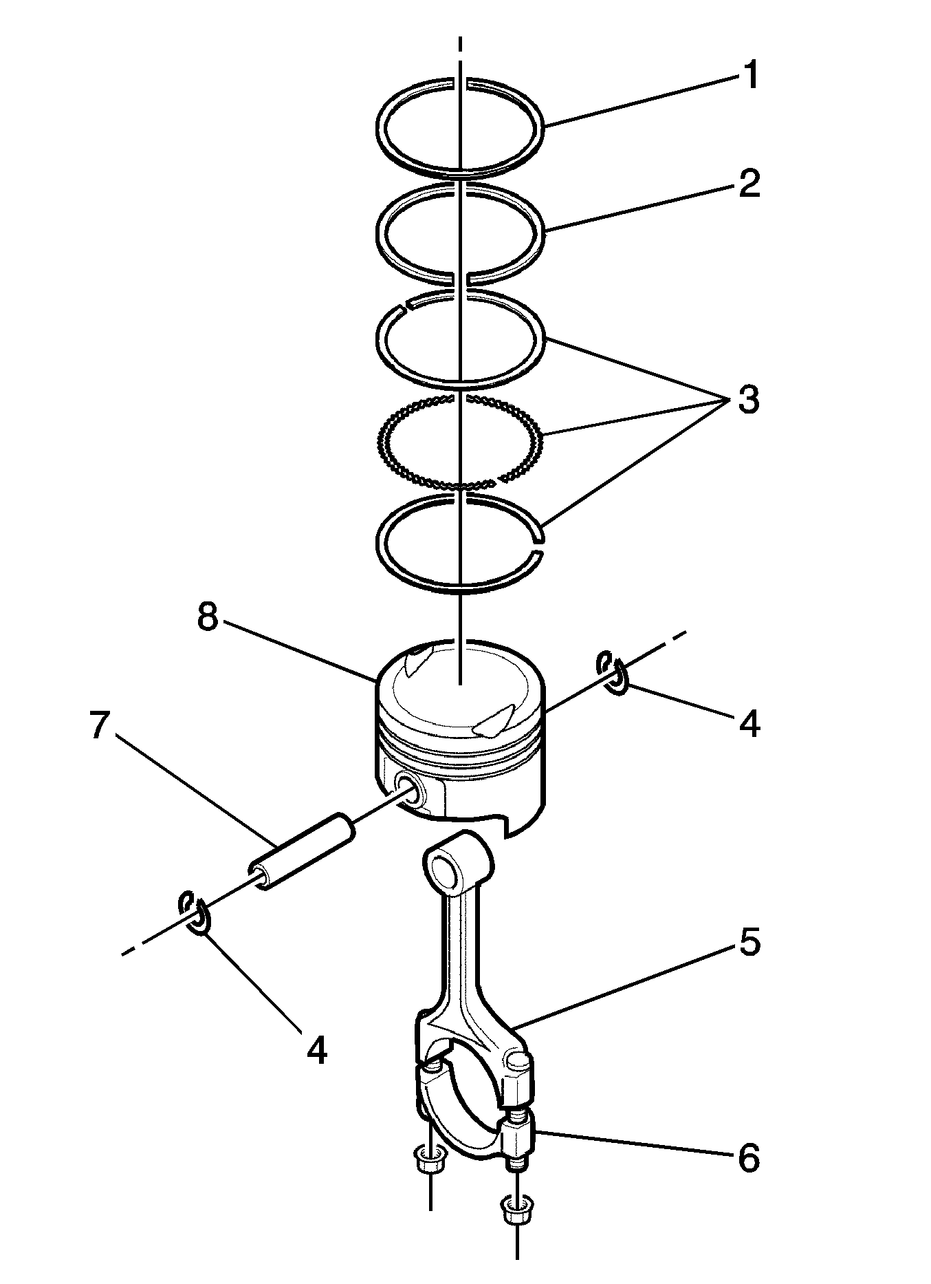
    Object Number: 1225561  Size: MH
  1. Align the notch on the piston and the connecting rod so that the proper sides will be facing the front of the engine.
  2. Install the piston pin guide (7) through the piston (8) and the connecting rod (5).
  3. Coat the piston pin with clean oil.
  4. Install the piston pin into the opposite side of the piston.
  5. Install the piston pin into the piston and connecting rod assembly.

  6. Object Number: 1240583  Size: SH
  7. Select a set of new piston rings.
  8. Measure the piston ring gap using a feeler gage.
  9. If the piston ring gap is below specifications, increase the piston ring gap by carefully filing off excess material.

  10. Object Number: 1224591  Size: SH
  11. Measure the piston ring side clearance (1) using a feeler gage. Refer to Engine Mechanical Specifications .
  12. If the piston ring is too thick, try another piston ring.
  13. If no piston ring that fits to specifications can be found, the piston ring may be ground to size using emery paper placed on a sheet of glass.

  14. Object Number: 1225561  Size: MH
  15. Install a piston oil ring, the expander, and the second piston oil ring (3) to the bottom ring groove of the piston.
  16. Install the second compression ring (2) to the middle ring groove of the piston.
  17. Install the top compression ring (1) to the top ring groove of the piston.

  18. Object Number: 1224583  Size: SH
  19. Use a piston ring expander to install the piston rings. Do not expand the piston rings beyond the expansion necessary for installation.
  20. Stagger the piston oil rings (1, 4), the oil ring rail (5) gaps, the second compression ring (6), and the top compression ring (2) in relation to the notch on the top of the piston.

  21. Object Number: 1224586  Size: SH
  22. Lubricate the cylinder wall and the piston rings with clean engine oil.
  23. Install the piston using a ring compressor (1) and a wood handle. Guide the lower connecting rod end to prevent damaging the crankshaft journal.
  24. Notice: Avoid installing the bearing caps incorrectly. Cylinder head and camshaft damage may result.

  25. Install the connecting rod cap and the bearing. Refer to Piston, Connecting Rod, and Bearing Cleaning and Inspection .
  26. Notice: Refer to Fastener Notice in the Preface section.


    Object Number: 1240799  Size: SH
  27. Install the connecting rod bearing cap nuts (1).
  28. Tighten
    Tighten the connecting rod bearing cap nuts to 33 N·m (24 lb ft).


    Object Number: 1240795  Size: SH
  29. Install the oil pump/pickup tube.
  30. Install the oil pump pickup tube bolts.
  31. Tighten
    Tighten the oil pump pickup tube bolts to 10 N·m (89 lb in).


    Object Number: 1240822  Size: SH
  32. Install the oil pan (2).
  33. Install the oil pan bolts (3) and nuts (1).
  34. Tighten
    Tighten the oil pan bolts and nuts to 10 N·m (89 lb in).


    Object Number: 1230302  Size: SH
  35. Install the lower engine mount bracket and the generator with the bolts (4).
  36. Install the upper engine mount bracket and the generator shackle with the bolts (5).
  37. Tighten

        • Tighten the upper engine mount bracket to 38 N·m (28 lb ft).
        • Tighten the generator shackle bolts to 38 N·m (28 lb ft).

    Object Number: 1230300  Size: SH
  38. Install the generator with the bolts and the nut (3).
  39. Tighten
    Tighten the generator lower bolts and the nut to 23 N·m (17 lb ft).

  40. Install the generator belt (2).
  41. Tighten
    Tighten the generator belt tension adjusting bolt to 23 N·m (17 lb ft).


    Object Number: 1222968  Size: SH
  42. Install the engine mount bracket.
  43. Install the air conditioning (A/C) compressor/power steering pump and the bracket with the bolts (2).
  44. Tighten

        • Tighten the engine mount bracket bolts (4) to 20 N·m (15 lb ft).
        • Tighten the A/C compressor/power steering pump bracket bolts (2) to 38 N·m (28 lb ft).

    Object Number: 1222970  Size: SH
  45. Install the power steering pump bracket with the bracket bolt/nut and adjusting bolt (1).
  46. Tighten

        • Tighten the adjusting bolt to 22 N·m (16 lb ft).
        • Tighten the power steering rear bracket nut to 22  N·m (16 lb ft).
  47. Install the power steering/air conditioning belt.
  48. Install the cylinder head with the intake manifold, the exhaust manifold, and distributor/adaptor attached. Refer to Cylinder Head Replacement .
  49. Install the timing belt and component. Refer to Timing Belt Replacement .
  50. Install the clutch and the transaxle to the engine.
  51. Install the engine assembly to the engine compartment. Refer to Engine Replacement .
  52. Refill the engine coolant system. Refer to Cooling System Draining and Filling .
  53. Bleed the power steering system, as necessary. Refer to Power Steering System Bleeding .
  54. Refill the A/C refrigerant system, as necessary. Refer to Refrigerant Recovery and Recharging .
  55. Refill the transaxle oil, as necessary.
  56. Connect the negative battery cable.
  57. Start the engine and operate all systems.
  58. Operate the idle air control valve reset procedure, as necessary.