GM Service Manual Online
For 1990-2009 cars only
Makes
🢒
Pontiac
🢒
2004
🢒
Wave
🢒
Engine
🢒
Engine Controls - 1.2L
🢒 Disassembled Views
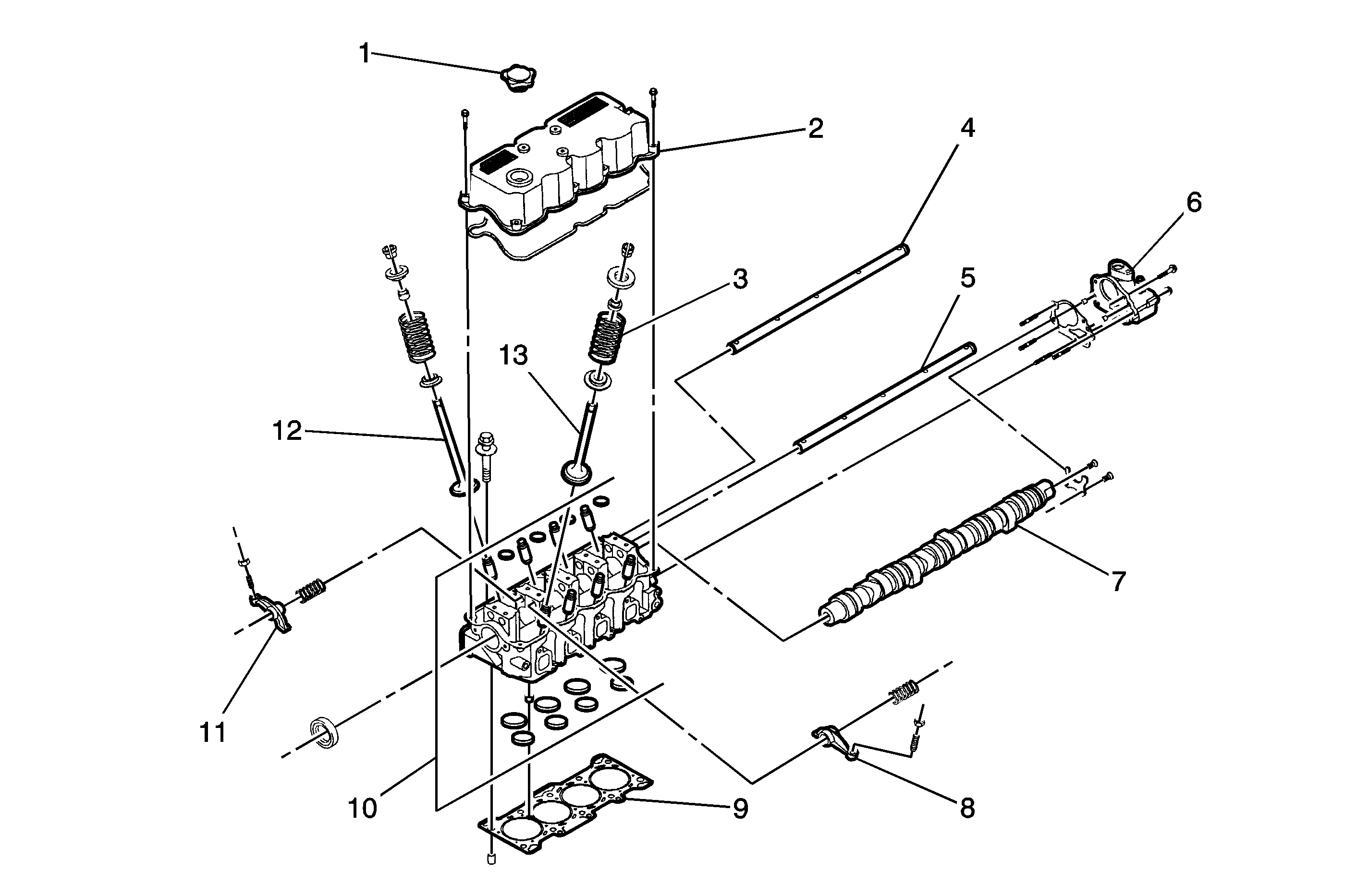
Figure
1:
Cylinder Head
(1)
Oil Filter Cap
(2)
Cylinder Head Cover
(3)
Valve Spring
(4)
Intake Rocker Arm Shaft
(5)
Exhaust Rocker Arm Shaft
(6)
Water Outlet Case
(7)
Camshaft
(8)
Rocker Arm
(9)
Cylinder Head Gasket
(10)
Cylinder Head
(11)
Rocker Arm
(12)
Intake Valve
(13)
Exhaust Valve
Figure
2:
Engine Block
(1)
Oil Level Gage Stick
(2)
Piston
(3)
Connecting Rod
(4)
Engine Block
(5)
Oil Filter
(6)
Flywheel
(7)
Crankshaft
(8)
Oil Pan
(9)
Oil Pump Strainer
(10)
Oil Pump Assembly
Figure
3:
Intake Manifold and Air Flow System
(1)
Air Filter Assembly
(2)
Exhaust Gas Recirculation (EGR) Pipe
(3)
Exhaust Gas Recirculation (EGR) Valve and Solenoid
(4)
Intake Manifold
(5)
Throttle Body Assembly
(6)
Oxygen Sensor
(7)
Exhaust Manifold
(8)
Exhaust Manifold Heat Shield
(9)
Resonator
Figure
4:
Timing Belt
(1)
Timing Belt Upper Front Cover
(2)
Timing Belt Tensioner
(3)
Timing Belt Rear Cover
(4)
Timing Belt
(5)
Crankshaft Gear
(6)
Crankshaft Pulley
(7)
Timing Belt Lower Front Cover