GM Service Manual Online
For 1990-2009 cars only
Table 1: Camshaft Position (CMP) Sensor
Table 2: Crankshaft Position Sensor (CKP) Sensor
Table 3: Engine Coolant Temperature (ECT) Sensor
Table 4: Evaporative Emission (EVAP) Canister Purge Solenoid Valve
Table 5: Exhaust Gas Recirculation (EGR) Valve
Table 6: Fuel Injector 1
Table 7: Fuel Injector 2
Table 8: Fuel Injector 3
Table 9: Fuel Injector 4
Table 10: Fuel Pump/Sender
Table 11: Heated Oxygen Sensor (HO2S) 1
Table 12: Heated Oxygen Sensor (HO2S) 2
Table 13: Idle Air Control (IAC) Valve
Table 14: Ignition Coil (IC) Module
Table 15: Intake Air Temperature (IAT) Sensor
Table 16: Intake Manifold Tuning Valve
Table 17: Knock Sensor (KS)
Table 18: Manifold Absolute Pressure (MAP) Sensor
Table 19: Octane Selector Switch
Table 20: Rough Road Sensor
Table 21: Throttle Position (TP) Sensor
Table 22: Engine Control Module (ECM) - K
Table 23: Engine Control Module (ECM) - M

Camshaft Position (CMP) Sensor


Object Number: 1467004  Size: CH

Connector Part Information

    • AMP 85205-1
    • 3-Way F JR Power Timer 3P Housing Assembly (BK)

Pin

Wire Color

Circuit No.

Function

1

BN

1733

Ignition 1 Voltage

2

BK/WH

51

Ground

3

L-BU/BK

1748

Camshaft Position (CMP) Sensor Signal

Crankshaft Position Sensor (CKP) Sensor


Object Number: 1467004  Size: CH

Connector Part Information

    • AMP 85205-1
    • 3-Way F JR Power Timer 3P Housing Assembly (BK)

Pin

Wire Color

Circuit No.

Function

1

D-BU/WH

1869

Crankshaft Position (CKP) Sensor Signal High Reference

2

YE/BK

1868

Crankshaft Position (CKP) Sensor Signal Low Reference

3

BK/WH

51

Ground

Engine Coolant Temperature (ECT) Sensor


Object Number: 62426  Size: CH

Connector Part Information

    • PED 12040753
    • 2-Way F Metri-Pack 150 Series Sealed, Pull To Seat (BK)

Pin

Wire Color

Circuit No.

Function

A

L-GN

410

Engine Coolant Temperature (ECT) Sensor Signal

B

D-GN

808

Low Reference

Evaporative Emission (EVAP) Canister Purge Solenoid Valve


Object Number: 684795  Size: CH

Connector Part Information

    • PED 12052643
    • 2-Way F Metri-Pack 150 Series Sealed (RD)

Pin

Wire Color

Circuit No.

Function

A

WH

452

EVAP Canister Purge Solenoid Signal

B

BN

1733

Ignition 1 Voltage

Exhaust Gas Recirculation (EGR) Valve


Object Number: 1468386  Size: CH

Connector Part Information

    • PED 12110790
    • 5-Way F Metri-Pack 150 Series Sealed (GY)

Pin

Wire Color

Circuit No.

Function

A

D-BU

436

Exhaust Gas Recirculation (EGR) Valve Control

B

D-GN

813

Low Reference

C

D-GN

435

Exhaust Gas Recirculation (EGR) Valve Position Sensor Signal

D

D-GN/WH

416

5-Volt Reference

E

BN

1733

Ignition 1 Voltage

Fuel Injector 1


Object Number: 1466998  Size: CH

Connector Part Information

    • AMP 368468-1
    • 2-Way F Injector Plug Assembly (BK)

Pin

Wire Color

Circuit No.

Function

1

BN

1733

Ignition 1 Voltage

2

BN/BK

1747

Fuel Injector 1 Control

Fuel Injector 2


Object Number: 1466998  Size: CH

Connector Part Information

    • AMP 368468-1
    • 2-Way F Injector Plug Assembly (BK)

Pin

Wire Color

Circuit No.

Function

1

BN

1733

Ignition 1 Voltage

2

L-GN

1746

Fuel Injector 2 Control

Fuel Injector 3


Object Number: 1466998  Size: CH

Connector Part Information

    • AMP 368468-1
    • 2-Way F Injector Plug Assembly (BK)

Pin

Wire Color

Circuit No.

Function

1

BN

1733

Ignition 1 Voltage

2

BN/WH

1745

Fuel Injector 3 Control

Fuel Injector 4


Object Number: 1258013  Size: CH

Connector Part Information

    • AMP 368468-1
    • 2-Way F Injector Plug Assembly (BK)

Pin

Wire Color

Circuit No.

Function

1

BN

1733

Ignition 1 Voltage

2

YE

1744

Fuel Injector 4 Control

Fuel Pump/Sender


Object Number: 1468528  Size: CH

Connector Part Information

    • AMP 936039
    • 6-Way F Fuel Pump 6 POS Connector Assembly (BN)

Pin

Wire Color

Circuit No.

Function

1

GY

1936

Fuel Level Sensor Signal

2

BK

850

Ground

3

BN

1723

Fuel Pump Supply Voltage

4

L-BU

850

Ground

5

PU

172

Low Fuel Indicator Control

6

BK

1937

Low Reference

Heated Oxygen Sensor (HO2S) 1


Object Number: 684854  Size: CH

Connector Part Information

    • PED 12162144
    • 4-Way F Metri-Pack 150 Series Sealed (BK)

Pin

Wire Color

Circuit No.

Function

A

D-BU/BK

428

Heated Oxygen Sensor (HO2S) 1 Signal

B

WH

429

Heated Oxygen Sensor (HO2S) 1 Low Reference

C

BN

50

Ground

D

BN

1733

Ignition 1 Voltage

Heated Oxygen Sensor (HO2S) 2


Object Number: 684854  Size: CH

Connector Part Information

    • PED 12162144
    • 4-Way F Metri-Pack 150 Series Sealed (BK)

Pin

Wire Color

Circuit No.

Function

A

D-GN/BK

1670

Heated Oxygen Sensor (HO2S) 2 Low Reference

B

L-GN/OG

413

Heated Oxygen Sensor (HO2S) 2 Signal

C

BN

1671

Heated Oxygen Sensor (HO2S) 2 Heater Control

D

BN

1733

Ignition 1 Voltage

Idle Air Control (IAC) Valve


Object Number: 38608  Size: CH

Connector Part Information

    • PED 12040754
    • 4-Way F Metri-Pack 150 Series (BK)

Pin

Wire Color

Circuit No.

Function

A

D-GN

415

Idle Air Control (IAC) B Low Control

B

L-GN

417

Idle Air Control (IAC) B High Control

C

WH/D-BU

533

Idle Air Control (IAC) A Low Control

D

L-GN

534

Idle Air Control (IAC) A High Control

Ignition Coil (IC) Module


Object Number: 516611  Size: CH

Connector Part Information

    • PED 12059595
    • 3-Way F Metri-Pack 150 Series Sealed (BK)

Pin

Wire Color

Circuit No.

Function

A

OG

423

Ignition Coil (IC) Timing Control 2 and 3

B

PK

539

Ignition 1 Voltage

C

L-BU

406

Ignition Coil (IC) Timing Control 1 and 4

Intake Air Temperature (IAT) Sensor


Object Number: 1467003  Size: CH

Connector Part Information

    • AMP 85202-1
    • 2-Way JR Power Timer 2P Housing Assembly (BK)

Pin

Wire Color

Circuit No.

Function

1

L-BU

468

Intake Air Temperature (IAT) Sensor Signal

2

D-GN

808

Low Reference

Intake Manifold Tuning Valve


Object Number: 1466982  Size: CH

Connector Part Information

    • AMP 174352-2
    • 2-Way M Econoseal J Mark II + Connector Plug Housing (BK)

Pin

Wire Color

Circuit No.

Function

1

BN

1733

Intake Air Temperature (IAT) Sensor Signal

2

YE

492

Intake Manifold Tuning Valve Solenoid Control

Knock Sensor (KS)


Object Number: 1466993  Size: CH

Connector Part Information

    • AMP 368215-1
    • 3-Way F JPT 3P Assembly for Knock Sensor (GY)

Pin

Wire Color

Circuit No.

Function

1

YE/BK

496

Knock Sensor (KS) Signal

2

BU/WH

1876

Low Reference

3

D-GN

808

Low Reference

Manifold Absolute Pressure (MAP) Sensor


Object Number: 516611  Size: CH

Connector Part Information

    • PED 12059595
    • 3-Way F Metri-Pack 150 Series Sealed (BK)

Pin

Wire Color

Circuit No.

Function

A

WH

433

Low Reference

B

L-BU

432

Manifold Absolute Pressure (MAP) Sensor Signal

C

L-BU

469

5-Volt Reference

Octane Selector Switch


Object Number: 1467062  Size: CH

Connector Part Information

    • KET MG 620395
    • 3-Way M Sealed Series (WH)

Pin

Wire Color

Circuit No.

Function

1

GY

892

Octane Selection Signal

2

BK/WH

51

Ground

3

--

--

Not Used

Rough Road Sensor


Object Number: 73223  Size: CH

Connector Part Information

    • PED 12162185
    • 3-Way F Metri-Pack 150.2 Series Sealed, Pull To Seat (BK)

Pin

Wire Color

Circuit No.

Function

A

L-BU

1937

Low Reference

B

D-GN

602

Rough Road Sensor Signal - w/o ABS

C

WH/RD

1031

5-Volt Reference

Throttle Position (TP) Sensor


Object Number: 258299  Size: CH

Connector Part Information

    • PED 12078090
    • 3-Way F Metri-Pack 150 Series (BK)

Pin

Wire Color

Circuit No.

Function

A

PU

427

5-Volt Reference

B

D-BU

426

Low Reference

C

WH

425

Throttle Position (TP) Sensor Signal

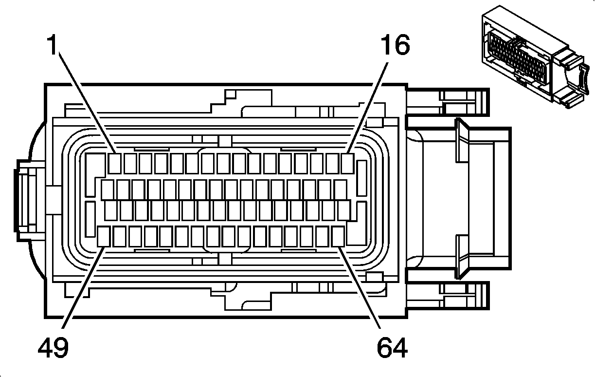
Engine Control Module (ECM) - K


Object Number: 1466972  Size: CF

Connector Part Information

    • AMP 1-368434-1
    • 64-Way F ECU 64P Conn Assembly (32-bit-B) (BN)

Pin

Wire Color

Circuit No.

Function

K1

OG

440

Battery Positive Voltage

K2-K4

--

--

Not Used

K5

GY

892

Octane Selection Signal

K6

D-GN

817

Vehicle Speed Signal (Manual Transmission)

K7

D-GN

834

Rough Road Signal - w/ABS

K8-K11

--

--

Not Used

K12

GY

473

High Speed Cooling Fan Relay Control

K13

YE

492

Intake Manifold Tuning Valve (IMTV) Control

K14

PU

1807

CAN Serial Data High

K15

YE

710

CAN Serial Data Low

K16

BN

50

Heated Oxygen Sensor (HO2S) 1 Heater Control

K17

OG

440

Battery Positive Voltage

K18

PK

1739

Ignition 1 Voltage

K19-K20

--

--

Not Used

K21

D-GN

602

Rough Road Sensor Signal - wo/ABS

K22

L-BU

203

A/C Pressure Sensor Signal

K23

--

--

Not Used

K24

WH

135

Engine Coolant Temperature (ECT) Gage Control

K25

GY

121

Engine Speed Signal

K26-K27

--

--

Not Used

K28

GY

335

Low Speed Cooling Fan Relay Control

K29

D-GN

67

A/C Clutch Relay Control

K30

WH

30

Fuel Gage Control

K31

--

--

Not Used

K32

BK/WH

2051

Keyword Serial Data

K33

--

--

Not Used

K34

L-BU

1937

Low Reference

K35

D-GN/WH

762

A/C Request Signal

K36

L-GN

413

Heated Oxygen Sensor (HO2S) 2 Signal

K37-K49

--

--

Not Used

K50

WH/PK

1031

5-Volt Reference

K51

GY

1936

Fuel Level Sensor Signal

K52

L-BU

1030

Fuel Tank Pressure Sensor Signal

K53

D-GN/BK

1670

Heated Oxygen Sensor (HO2S) 2 Low Reference

K54

YE/D-BU

497

Fuel Pump Relay Control

K55-K63

--

--

Not Used

K64

BN

419

MIL Control

Engine Control Module (ECM) - M


Object Number: 1481262  Size: CF

Connector Part Information

    • AMP 0-368434-1
    • 64-Way F ECU 64P Conn Assembly (32-bit-B) (BK)

Pin

Wire Color

Circuit No.

Function

M1

GN/WH

423

Ignition Coil 2 and 3 Control

M2

BN

1671

Heated Oxygen Sensor (HO2S) 2 Heater Control

M3

BN

1733

Ignition 1 Voltage

M4

WH

452

EVAP Canister Purge Valve Solenoid Control

M5

YE/BK

1868

Low Reference

M6

WH

425

Throttle Position (TP) Sensor Signal

M7

L-BU

468

Intake Air Temperature (IAT) Sensor Signal

M8

L-BU

432

Manifold Absolute Pressure (MAP) Sensor Signal

M9

D-GN

435

Exhaust Gas Recirculation (EGR) Valve Position Sensor Signal

M10

--

--

Not Used

M11

YE

1744

Fuel Injector 4 Control

M12

WH

428

Heated Oxygen Sensor (HO2S) 1 Signal

M13

L-GN

534

Idle Air Control (IAC) A High Control

M14

D-GN

413

Idle Air Control (IAC) B Low Control

M15

WH/D-BU

533

Idle Air Control (IAC) A Low Control

M16

L-BU

469

5-Volt Reference

M17

--

--

Not Used

M18

YE/BK

496

Knock Sensor (KS) Signal

M19

BU

436

Exhaust Gas Recirculation (EGR) Valve Control

M20

--

--

Not Used

M21

D-BU/WH

1869

Crankshaft Position (CKP) Sensor Signal

M22

L-GN

1746

Fuel Injector 2 Control

M23

--

--

Not Used

M24

BN/WH

1745

Fuel Injector 3 Control

M25

BN/BK

1747

Fuel Injector 1 Control

M26

L-BU/BK

1748

Camshaft Position (CMP) Sensor Signal

M27

--

--

Not Used

M28

L-GN

410

Engine Coolant Temperature (ECT) Sensor Signal

M29

D-BU/BK

429

Heated Oxygen Sensor (HO2S) 1 Low Reference

M30

L-GN

417

Idle Air Control (IAC) B High Control

M31

--

--

Not Used

M32

PU

427

5-Volt Reference

M33

OG

423

Ignition Coil 2 and 3 Control

M34

--

--

Not Used

M35

BU

406

Ignition Coil 1 and 4 Control

M36

--

--

Not Used

M37

BK/WH

51

Ground

M38

BK/WH

51

Ground

M39

BK/WH

51

Ground

M40

BK/WH

51

Ground

M41

BK/WH

51

Ground

M42-M47

--

--

Not Used

M48

BN

732

Low Reference

M49-M50

--

--

Not Used

M51

L-BU

406

Ignition Coil 1 and 4 Control

M52

D-BU

436

Exhaust Gas Recirculation (EGR) Valve Control

M53-M63

--

--

Not Used

M64

BU/WH

1876

Low Reference