GM Service Manual Online
For 1990-2009 cars only

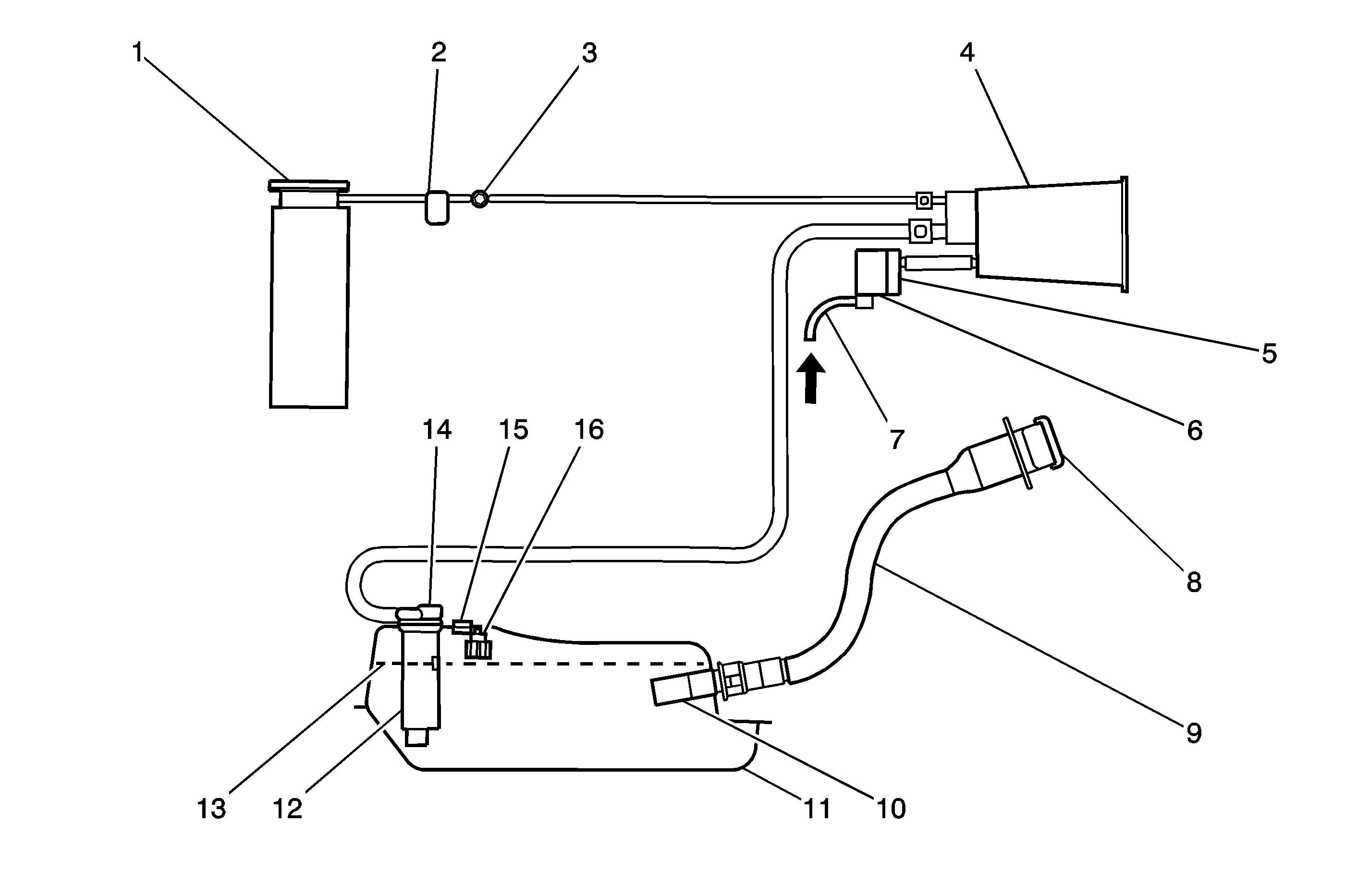
Object Number: 1376569  Size: MF
(1)Intake Manifold
(2)Evaporative Emissions (EVAP) Canister Purge Solenoid Valve
(3)Service Port
(4)Evaporative Emissions (EVAP) Canister
(5)Evaporative Emissions (EVAP) Canister Vent Solenoid Valve
(6)Air Filter
(7)Fresh Air Intake
(8)Fuel Filler Cap
(9)Fuel Filler Tube
(10)Check Valve
(11)Fuel Tank
(12)Fuel Fill Vent Valve
(13)Fuel Level at Shut-Off
(14)Fuel Pressure Relief Valve
(15)Fuel Tank Pressure Sensor
(16)Rollover Valve