GM Service Manual Online
For 1990-2009 cars only

Tools Required

DT 46494 (DW09921-57810) Gear, Bearing Remover


    Object Number: 1223796  Size: SH
  1. Remove the gear unit. Refer to Transmission Disassemble .
  2. Remove the counter shaft right side bearing.

  3. Object Number: 1224127  Size: SH
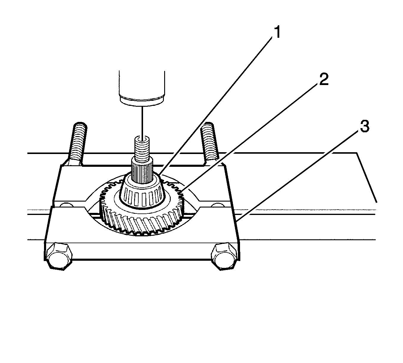
  4. Position the 4th gear to the DT 46494  (3).
  5. Remove the counter shaft left side bearing (1).
  6. Remove the 4th gear (2).
  7. Remove the counter shaft 3rd-4th gear spacer.

  8. Object Number: 1224122  Size: SH
  9. Position the 2nd gear to the DT 46494  (3).
  10. Remove the 3rd gear with the press (1).
  11. Remove the 2nd gear with the press (2).

  12. Object Number: 1223817  Size: SH
  13. Remove the counter shaft 2nd gear bearing.
  14. Remove the 2nd gear synchronizer ring.
  15. Remove the 1st-2nd gear synchronizer circlip.

  16. Object Number: 1224129  Size: SH
  17. Position the 1st gear to the DT 46494  (3).
  18. Remove the synchronizer hub assembly (1).
  19. Remove the 1st gear/1st gear synchronizer ring (2).
  20. Remove the 1st gear synchronizer ring from the 1st gear.

  21. Object Number: 1224126  Size: SH
  22. Push the 1st-2nd gear synchronizer hub from the hub assembly (2).
  23. Disassemble the synchronizer sleeve and key (1).
  24. Disassemble the synchronizer springs (3).

  25. Object Number: 1224120  Size: SH
  26. Remove the counter shaft 1st gear bearing.