GM Service Manual Online
For 1990-2009 cars only

Tools Required

    • DT 46451 (DW240-020) Brake Clutch Spring Compressor
    • DT 46454 (DW240-050) Overdrive Brake Adapter
    • DT 46455 (DW240-060-01) Brake Spring Compressor Bolt/Nut
    • DT 46456 (DW240-060-02) Brake Spring Compressor Plate
    • DT 46457 DW240-070) 1st/Reverse Brake Adapter
    • DT 46458 (DW240-080) 2nd Brake Adapter
    • DT 46460 (DW240-100) Counter Drive Gear Installation Adapter
    • DT 46461 (DW240-130) Differential Preload Adapter
    • DT 46462 (DW240-140) Transaxle Housing Side Bearing Outer Race Adapter
    • DT 46464 (DW240-160) Transaxle Case Outer Tapered Roller Bearing Race Adapter
    • DT 46465 (DW240-170) Adapter Handle
    • DT 46471 (DW260-031-01) Transaxle Housing Oil Seal Installer
    • DT 46472 (DW260-041) Planetary Ring Gear Nut Removal/Installation Socket
    • DT 47521 (DW260-031-02) Transaxle Case Oil Seal Installer

Assembly Procedure


    Object Number: 1245944  Size: SH
  1. Install 4 new O-rings to the 4 screw plugs.
  2. Notice: Refer to Fastener Notice in the Preface section.

  3. Install the 4 screw plugs with the O-rings to the transaxle rear cover.
  4. Tighten
    Tighten the screw plugs to 7.4 N·m (65 lb in).


    Object Number: 1245946  Size: SH
  5. Install the 2 seal rings to the transaxle rear cover.

  6. Object Number: 1245948  Size: SH
  7. Using the vernier calipers, measure the free length of the overdrive (O/D) brake piston return spring together with the spring seat.
  8. Specification
    The standard free length is 18.99 mm (0.7476 in).


    Object Number: 1245947  Size: SH
  9. Coat 2 new O-rings (1) with automatic transaxle fluid (ATF). Install the O-rings to the O/D brake piston.

  10. Object Number: 1245950  Size: SH

    Important: Do not damage the O-rings of the O/D brake piston.

  11. Coat the O/D brake piston with ATF. Install the piston to the transaxle rear cover.
  12. Notice: Refer to Transaxle Case Damage Notice in the Preface section.


    Object Number: 1245936  Size: SH
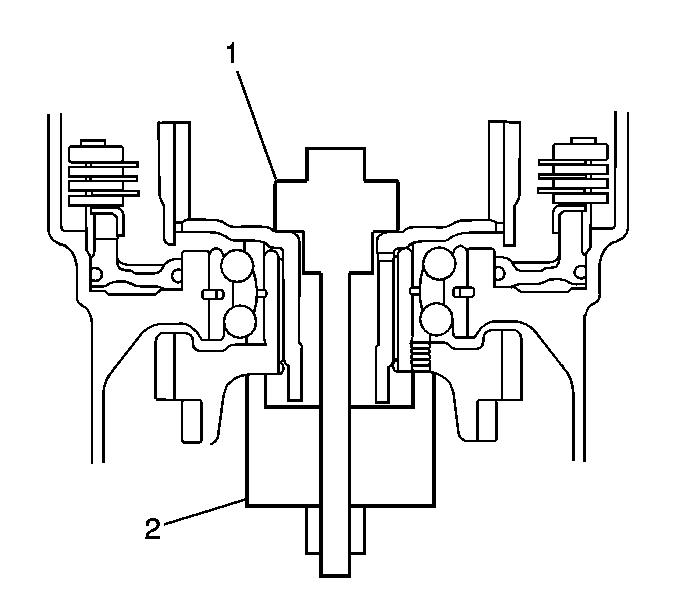
  13. Using DT 46451  (1), DT 46454  (2) and a driver, install the O/D brake return spring and snap ring to the transaxle rear cover.

  14. Object Number: 1245951  Size: SH
  15. Using DT 46462  (2) and DT 46465  (1), install a new side bearing outer race into the transaxle housing.

  16. Object Number: 1245952  Size: SH
  17. Using DT 46471  (1) and a hammer, drive in a new transaxle housing oil seal.
  18. Specification
    The oil seal depth is 3.1 mm (0.122 in).


    Object Number: 1245931  Size: SH

    Important: Press-fit the outer tapered roller bearing race until the race contacts the transaxle housing.

  19. Install a new outer tapered roller bearing race into the transaxle housing.

  20. Object Number: 1245940  Size: SH
  21. Install the transaxle lube apply pipe and differential gear lube apply pipe to the transaxle housing.
  22. Install the No. 1 transaxle apply pipe clamp to the transaxle housing with the bolt.
  23. Tighten
    Tighten the bolts to 5.4 N·m (48 lb in).


    Object Number: 1245935  Size: SH
  24. Install the oil reservoir lock plate to the transaxle housing with the 3 bolts.
  25. Tighten
    Tighten the bolts to 5.4 N·m (48 lb in).


    Object Number: 1245930  Size: SH

    Important: First install a shim of the same thickness as the original shim.

  26. Install the shim to the transaxle case.
  27. Install a new bearing outer race into the transaxle case.

  28. Object Number: 1245949  Size: SH
  29. Using DT 47521  (1) and a hammer, drive in a new transaxle case oil seal.
  30. Specifications
    The oil seal depth is 4.3 mm (0.169 in).


    Object Number: 1245954  Size: SH

    Important: First install a shim of the same thickness as the original shim.

  31. Install the shim to the transaxle case.
  32. Important: Press-fit the shim until the shim contacts the transaxle case.

  33. Using DT 46464  (2) and DT 46465  (1), press in a new outer tapered roller bearing race into the transaxle case.

  34. Object Number: 1245953  Size: SH
  35. Install the No. 1 transaxle case plate to the transaxle case with the bolt.
  36. Tighten
    Tighten the bolt to 9.8 N·m (87 lb in).


    Object Number: 1245956  Size: SH
  37. Install the differential gear to the transaxle case.

  38. Object Number: 1245958  Size: SH
  39. Install the transaxle housing and hand tighten the 16 bolts of the transaxle housing.
  40. Tighten 8 or 9 bolts of the transaxle housing completely.
  41. Tighten
    Tighten the bolts to 29 N·m (22 lb ft).


    Object Number: 1245959  Size: SH
  42. Using DT 46461 , turn the differential gear assembly right and left 2 or 3 times to allow the bearing to settle.

  43. Object Number: 1245955  Size: SH

    Important: Note the measured value.

  44. Using DT 46461 and a small torque wrench, measure the preload of the differential gear.

  45. Object Number: 1245968  Size: SH
  46. Remove the transaxle housing and install the counter driven gear.

  47. Object Number: 1245958  Size: SH
  48. Install the transaxle housing and hand tighten the 16 bolts of the transaxle housing.
  49. Tighten 8 or 9 bolts of the transaxle housing completely.
  50. Tighten
    Tighten the bolts to 29 N·m (21 lb ft).


    Object Number: 1245959  Size: SH
  51. Using DT 46461 , turn the differential gear assembly right and left 2 or 3 times to allow the bearing to settle.

  52. Object Number: 1245955  Size: SH
  53. Using DT 46461 and a small torque wrench, measure the preload of the differential gear. From this value deduct the value measured previously. This new value is the preload of the counter driven gear.
  54. Specification

        • The preload for a new bearing is 0.33-0.76 N·m (3.21-6.77 lb in).
        • The preload for a used bearing is 0.17-0.38 N·m (1.48-3.39 lb in).

    Important: When the preload is larger than the specification, select a thinner adjuster shim. When the preload is smaller than specification, select a thicker adjuster shim.

  55. If the preload of the counter driven gear does not satisfy the specification, select the adjuster shim from the table below and re-measure the value. Until the value is within the specification, repeat the procedure.

  56. Object Number: 1245963  Size: SH
  57. Using the vernier calipers, measure the free length of the 1st and reverse brake piston return spring together with the spring seat.
  58. Specification
    The standard free length is 18.053 mm (0.71075 in).


    Object Number: 1245961  Size: SH

    Important: 

       • If the lining of the disc is peeling off or discolored, or even if a part of the groove is defaced, replace all discs.
       • Before assembling the new discs, soak the discs in ATF for at least 15 minutes.

  59. Inspect the sliding surface of the disc, the plate and the flange of the 1st and reverse brake for wear or burn. Replace the parts, if necessary.

  60. Object Number: 1245934  Size: SH
  61. Coat 2 new O-rings (1) with ATF, install the O-rings to the 1st and reverse piston.

  62. Object Number: 1375541  Size: SH

    Important: Do not damage the O-rings of the 1st and reverse brake piston.

  63. Install the 1st and reverse brake piston to the transaxle case.

  64. Object Number: 1245964  Size: SH
  65. Install the return spring to the transaxle case.

  66. Object Number: 1245965  Size: SH
  67. Install the 4 plates, the 4 discs and the flange in order: 2-1-2-1-2-1-2-1-3, where (2)=Plate,  (1)=Disc, and (3)=Flange

  68. Object Number: 1245938  Size: SH

    Important: Verify that the snap ring is installed correctly in the groove of the transaxle case.

  69. Using DT 46457  (2) and DT 46455  (1), install the snap ring.

  70. Object Number: 1245966  Size: SH

    Important: If the piston stroke is non-standard, inspect the discs, the plates and the flange. The piston stroke is 0.6-1.3 mm (0.024-0.051 in).

  71. Using a dial indicator, measure the 1st and reverse brake piston stroke while applying and releasing 392-785 kPa (57-114 psi) of compressed air.

  72. Object Number: 1245967  Size: SH

    Important: Do not apply excessive force to the transaxle case.

  73. Using DT 46460  (3), DT 46455  (2) and DT 46456  (1), install the counter drive gear.

  74. Object Number: 1245968  Size: SH
  75. Coat a new oil seal with ATF.
  76. Install the oil seal to the transaxle case.
  77. Specification
    The oil seal depth is 0.75-1.25 mm (0.030-0.049 in).


    Object Number: 1245921  Size: SH
  78. Install the parking lock rod to the manual valve lever.

  79. Object Number: 1245969  Size: SH
  80. Install a new spacer to the manual valve lever.

  81. Object Number: 1245970  Size: SH
  82. Install the manual valve lever shaft and the manual valve lever.

  83. Object Number: 1245919  Size: SH
  84. Using a pin punch and hammer, drive in a new pin.

  85. Object Number: 1245971  Size: SH
  86. Turn the spacer and the lever shaft to align the small hole for locating the staking position in the spacer with the staking position mark on the lever shaft.
  87. Using a pin punch, stake the spacer through the small hole.
  88. Verify that the spacer does not turn.

  89. Object Number: 1245917  Size: SH
  90. Install the manual detent spring with the bolt.
  91. Tighten
    Tighten the bolt to 9.8 N·m (87 lb in).


    Object Number: 1245916  Size: SH
  92. Install the parking lock shaft, the torsion spring and the parking lock pawl.

  93. Object Number: 1245972  Size: SH
  94. Verify that the edge of the torsion spring fits into the groove securely.

  95. Object Number: 1245915  Size: SH
  96. Install the parking lock pawl bracket with the 2 bolts.
  97. Tighten
    Tighten the bolts to 7.4 N·m (65 lb in).


    Object Number: 1245973  Size: SH
  98. Replace the planetary ring flange of the planetary ring gear.
  99. Using DT 46460  (2) and DT 46455  (1), install the planetary ring gear.

  100. Object Number: 1245914  Size: SH
  101. Fix the counter drive gear with the parking lock pawl.

  102. Object Number: 1245906  Size: SH
  103. Using DT 46472  (1), install a new nut.
  104. Tighten
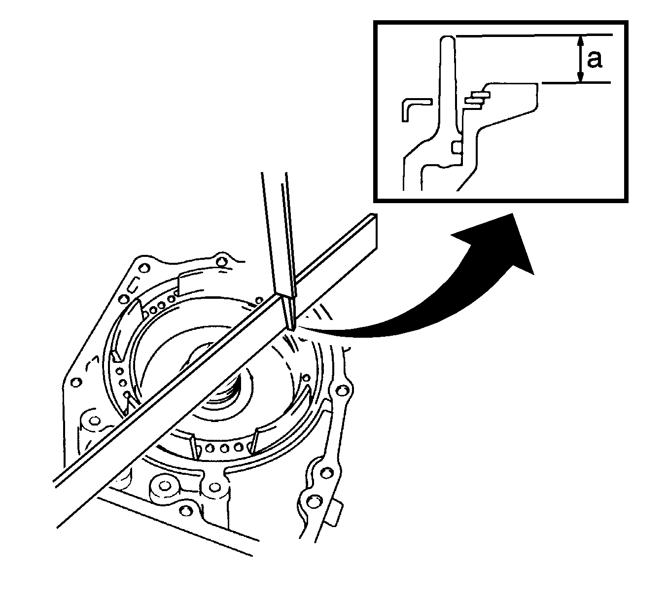
    Tighten the nut to 9.8 N·m (87 lb in).


    Object Number: 1245975  Size: SH
  105. Using a small torque wrench, turn the counter drive gear 100 turn per minute and measure the preload.
  106. Tighten
    Tighten the nut to 29 N·m (22 lb ft) or less.

    Specification
    When the preload is smaller than the specification, tighten the nut more and adjust the preload to 0.05-0.35 N·m (0.43-3.12 lb in).

  107. Stake the nut.

  108. Object Number: 1245974  Size: SH
  109. Install the planetary gear to the transaxle case.

  110. Object Number: 1245976  Size: SH
  111. Coat the planetary carrier thrust washer with petroleum jelly and install the washer onto the planetary gear.

  112. Object Number: 1245977  Size: SH
  113. Install the No. 2 one-way clutch to the transaxle case.

  114. Object Number: 1245979  Size: SH
  115. Verify that the planetary gear turns freely counterclockwise and locks clockwise.

  116. Object Number: 1245980  Size: SH
  117. Install the anti-rattle clip in the space between the No. 2 one-way clutch outer race and transaxle case. Push the anti-rattle clip in place until you hear the click.

  118. Object Number: 1245978  Size: SH
  119. Using vernier calipers, measure the free length of the 2nd brake piston return spring together with the spring seat.
  120. Specification
    The standard free length is 15.85 mm (0.6240 in).


    Object Number: 1245981  Size: SH

    Important: 

       • If the lining of the disc is peeling off or discolored, or even if a part of the groove is defaced, replace all discs.
       • Before assembling the new discs, soak the discs in ATF for at least 15 minutes.

  121. If the sliding surface of the disc, the plate and the flange of 2nd brake are worn or burnt, replace the parts.

  122. Object Number: 1245983  Size: SH

    Important: Install the snap ring in the groove of the transaxle case correctly.

  123. Install the flange, 2 discs and 2 plates in order: 2-1-3-1-3, where (1)=Disc, (2)=Flange, and (3)=Plate.
  124. Install the 2nd brake return spring.

  125. Object Number: 1245910  Size: SH
  126. Coat 2 new O-rings (1) with ATF and install the O-rings to the 2nd brake piston.

  127. Object Number: 1245984  Size: SH

    Important: Do not damage the O-rings.

  128. Install the 2nd brake piston into the 2nd brake clutch cylinder.

  129. Object Number: 1245982  Size: SH
  130. Install the 2nd brake clutch cylinder to the transaxle case.

  131. Object Number: 1245908  Size: SH
  132. Using DT 46455  (1) and DT 46458  (2), compress the 2nd brake piston return spring.
  133. Important: Install the snap ring in the groove of the transaxle case correctly.

  134. Using the screwdriver, install the snap ring.

  135. Object Number: 1245985  Size: SH
  136. Coat the thrust bearing race with petroleum jelly and install the race onto the front planetary sun gear.
  137. Specification

        • The race inner diameter is 19.3 mm (0.760 in).
        • The race outer diameter is 29.0 mm (1.142 in).

    Object Number: 1245907  Size: SH
  138. Install the front planetary sun gear to the transaxle case.

  139. Object Number: 1245904  Size: SH
  140. Install the thrust washer and the one-way clutch assembly to the rear planetary sun gear.

  141. Object Number: 1245986  Size: SH

    Important: Verify the direction of the bearing.

  142. Coat the thrust bearing race with petroleum jelly and install the race onto the rear planetary sun gear and the one-way clutch assembly.
  143. Specification

        • The bearing inner diameter is 42.5 mm (1.673 in).
        • The bearing outer diameter is 57.5 mm (2.264 in).

    Object Number: 1245900  Size: SH
  144. Install the rear planetary sun gear and the one-way clutch assembly to the transaxle case.

  145. Object Number: 1245987  Size: SH

    Important: Verify the direction of the race.

  146. Coat the thrust bearing race with petroleum jelly and install the race onto the transaxle case.
  147. Specification

        • The race inner diameter is 34.95 mm (1.3760 in).
        • The race outer diameter is 45.50 mm (1.7913 in).

    Object Number: 1245988  Size: SH

    Important: Verify the direction of the bearing.

  148. Coat the thrust needle roller bearing with petroleum jelly and install the bearing onto the forward clutch hub.
  149. Specification

        • The bearing inner diameter is 33.3 mm (1.311 in).
        • The bearing outer diameter is 46.5 mm (1.831 in).

    Object Number: 1245886  Size: SH
  150. Install the forward clutch hub to the transaxle case.

  151. Object Number: 1245990  Size: SH
  152. Coat the thrust bearing race with petroleum jelly and install the race onto the forward clutch hub.
  153. Specification

        • The race inner diameter is 19.3 mm (0.760 in).
        • The race outer diameter is 30.6 mm (1.205 in).

    Object Number: 1245888  Size: SH
  154. Install the thrust bearing race and thrust needle roller bearing to the forward and reverse clutch assembly.
  155. Specification

        • The race inner diameter is 18.1 mm (0.713 in).
        • The race outer diameter is 28.2 mm (1.110 in).
        • The bearing inner diameter is 18.1 mm (0.713 in).
        • The bearing outer diameter is 29.6 mm (1.165 in).

    Object Number: 1245989  Size: SH
  156. Install the forward and reverse clutch assembly to the transaxle case.

  157. Object Number: 1245961  Size: SH

    Important: 

       • If the lining of the disc is peeling off or discolored, or even if the part of the printed mark is defaced, replace all discs.
       • Before assembling new discs, soak the discs in ATF for at least 15 minutes.

  158. If the sliding surface of the disc, the plate and the flange of 2nd coast and O/D brake are worn or burnt, replace the components.

  159. Object Number: 1245991  Size: SH

    Important: Install the snap ring in the groove of the transaxle case correctly.

  160. Using a screwdriver, install the snap ring to the transaxle case.

  161. Object Number: 1245889  Size: SH
  162. Install the flange, 2 discs and 2 plates to the transaxle case in the following order: 3-2-3-2-1, where (3)=Plate, (2)=-Disc, and (1)=Flange.
  163. Clean the connected part the transaxle case and the transaxle rear cover.

  164. Object Number: 1245992  Size: SH
  165. Place a straight edge on the transaxle case and measure the distance between the 2nd coast and the O/D brake flange and the straight edge using vernier calipers (a).

  166. Object Number: 1245994  Size: SH
  167. Place a straight edge on the O/D brake piston and measure the distance between the transaxle rear cover and the straight edge using vernier calipers (a).
  168. Calculate the piston stroke value using the following formula. Select and install a flange which satisfies the piston stroke value.

  169. Object Number: 1245893  Size: SH
  170. Install 4 new apply gaskets to the transaxle rear cover.

  171. Object Number: 1245993  Size: SH
  172. Coat the thrust needle roller bearing with petroleum jelly and install the bearing onto the forward and reverse clutch assembly.
  173. Specification

        • The bearing inner diameter is 43.2 mm (1.701 in).
        • The bearing outer diameter is 62.0 mm (2.441 in).
  174. Remove any packing material. Do not get oil on the contacting surfaces of the transaxle rear cover or transaxle case.

  175. Object Number: 1245996  Size: SH
  176. Apply a formed in place gasket (FIPG) to the transaxle rear cover.
  177. Specification
    The FIPG three bond 1281, or equivalent, seal bend width is 1.2 mm (0.047 in).


    Object Number: 1245995  Size: SH
  178. Install the transaxle rear cover to the transaxle case with 9 bolts.
  179. Tighten
    Tighten the bolts to 25 N·m (18 lb ft).


    Object Number: 1245890  Size: SH
  180. Install the counter driven gear assembly to the transaxle case.

  181. Object Number: 1245884  Size: SH
  182. Install the differential gear assembly to the transaxle case.

  183. Object Number: 1245998  Size: SH
  184. Install the direct clutch hub to the transaxle case.

  185. Object Number: 1245997  Size: SH
  186. Install the thrust bearing race and the thrust needle roller bearing to the transaxle case.
  187. Specification

        • The race inner diameter is 20.5 mm (0.807 in).
        • The race outer diameter is 32.6 mm (1.283 in).
        • The bearing inner diameter is 17.8 mm (0.701 in).
        • The bearing outer diameter is 30.2 mm (1.189 in).

    Object Number: 1245897  Size: SH
  188. Install the clutch assembly to the transaxle case.

  189. Object Number: 1245899  Size: SH
  190. Install the new apply gasket.

  191. Object Number: 1246000  Size: SH

    Important: Verify the direction of the bearing.

  192. Install the thrust needle roller bearing to the transaxle case.
  193. Place the oil pump through the input shaft, and align the bolt holes of the oil pump with the transaxle case.

  194. Object Number: 1245881  Size: SH
  195. Install the 6 oil pump bolts.
  196. Tighten
    Tighten the bolts to 25 N·m (18 lb ft).


    Object Number: 1245882  Size: SH

    Important: If the end play is not as specified, select and replace the thrust needle roller bearing.

  197. Measure the end play in axial direction.
  198. Specification

        • The end play is 0.3-0.9 mm (0.012-0.035 in).
        • The bearing inner diameter is 32.5 mm (1.280 in).
        • The bearing outer diameter is 48.5 mm (1.909 in).
        • The bearing thickness is 4.21 mm (0.1657 in).
        • The bearing inner diameter is 32.9 mm (1.295 in).
        • The bearing outer diameter is 48.5 mm (1.909 in).
        • The bearing thickness is 3.62 mm (0.1425 in).

    Object Number: 1245999  Size: SH
  199. Confirm that the input shaft rotates smoothly.

  200. Object Number: 1246001  Size: SH
  201. Remove any packing material. Do not get oil on the contacting surfaces of the transaxle housing or the transaxle case.
  202. Apply a formed in place gasket (FIPG) to the transaxle housing.
  203. Specification
    FIPG: Three bond 1281 or equivalent, seal bend width is 1.2 mm (0.047 in).


    Object Number: 1246002  Size: SH
  204. Install the transaxle housing to the transaxle case with 16 bolts.
  205. Tighten
    Tighten the bolts to 29 N·m (22 lb ft).

  206. Apply seal packing or equivalent to the 3 bolts.

  207. Object Number: 1245876  Size: SH
  208. Coat a new O-ring (1) with ATF, install the O-ring to the transaxle wire.

  209. Object Number: 1245877  Size: SH
  210. Install the transaxle wire to the transaxle case with the bolt.
  211. Tighten
    Tighten the bolt to 5.4 N·m (48 lb in).


    Object Number: 1246003  Size: SH
  212. Coat new 6 O-rings with ATF and install the O-rings to the pistons (1,2,3).
  213. Coat the 3 springs and 3 accumulator pistons with ATF and install the components to the holes.

  214. Object Number: 1245857  Size: SH
  215. Coat a new apply gasket with ATF and install the gasket to the transaxle case.

  216. Object Number: 1245885  Size: SH
  217. Coat a new brake drum gasket with ATF and install the gasket to the transaxle case.

  218. Object Number: 1245870  Size: SH
  219. Install the spring and the check valve.

  220. Object Number: 1246004  Size: SH
  221. Connect the manual valve control rod to the manual valve lever as shown in the illustration.

  222. Object Number: 1245868  Size: SH

    Important: When installing the valve body to the transaxle case, do not let each of the accumulator pistons incline. When installing the valve body to the transaxle case, do not hold the solenoids.

  223. Install the valve body assembly to the transaxle case.
  224. Tighten
    Tighten the bolts to 11 N·m (97 lb in).


    Object Number: 1245869  Size: SH
  225. Connect the transaxle wire connector and harness to the valve body assembly.
  226. Connect the 5 connectors.
  227. 121.1. The lock-up control solenoid (5)
    121.2. The pressure control solenoid (1)
    121.3. The No. 2 shift solenoid (2)
    121.4. The No. 1 shift solenoid (3)
    121.5. The timing solenoid (4)

    Important: Verify that the transaxle wire does not come out from the oil pan installations surface.

  228. Install the TFT sensor with a clamp.

  229. Object Number: 1245867  Size: SH
  230. Install a new gasket to the oil strainer.

  231. Object Number: 1245866  Size: SH
  232. Install the oil strainer to the valve body with 3 bolts.
  233. Tighten
    Tighten the bolts to 9.8 N·m (87 lb in).


    Object Number: 1246005  Size: SH
  234. Install 2 magnets in the oil pan.

  235. Object Number: 1245862  Size: SH
  236. Install a new gasket to the oil pan and install the oil pan to the transaxle case with 18 bolts.
  237. Tighten
    Tighten the bolts to 7 N·m (62 lb in).


    Object Number: 1245864  Size: SH
  238. Install the output shaft speed (OSS) sensor.
  239. Tighten
    Tighten the bolt to 7.4 N·m (65 lb in).


    Object Number: 1245863  Size: SH
  240. Install the No. 1 breather plug.
  241. Install the input shaft speed (ISS) sensor with the bolt.
  242. Tighten
    Tighten the bolt to the 5.4 N·m (48 lb in).


    Object Number: 1245865  Size: SH
  243. Coat the new O-ring with ATF and install the O-ring to the screw plug.
  244. Install the screw plug to the transaxle case.
  245. Tighten
    Tighten the bolts to 7.4 N·m (65 lb in).


    Object Number: 1245859  Size: SH
  246. Coat 2 new O-rings with ATF and install the O-rings to the unions.
  247. Install the 2 unions to the transaxle case.
  248. Tighten
    Tighten the unions to 25 N·m (18 lb ft).


    Object Number: 1245824  Size: SH
  249. Install the PNP switch to the manual valve lever shaft and temporarily install the 2 adjusting bolts.
  250. Install a new lock washer and nuts.
  251. Tighten
    Tighten the nuts to 12 N·m (106 lb in).


    Object Number: 1246006  Size: SH
  252. Temporarily install the control lever.

  253. Object Number: 1245822  Size: SH
  254. Turn the lever counterclockwise until the lever stops, then turn clockwise 2 notches.
  255. Remove the control lever.

  256. Object Number: 1245808  Size: SH
  257. Align the groove with the neutral basic line. Tighten 2 bolts.
  258. Tighten
    Tighten the bolts to 5.4 N·m (48 lb in).


    Object Number: 1245810  Size: SH
  259. Using a screwdriver, stake the nut with the lock washer.

  260. Object Number: 1245825  Size: SH
  261. Install the control lever, the washer and the nut.
  262. Tighten
    Tighten the nut to 12 N·m (106 lb in).


    Object Number: 1246008  Size: SH
  263. Install the torque converter (2) to the transaxle.
  264. Measure the installation depth of the torque converter.
  265. Specification
    The standard value is 11.1 mm (0.44 in).

  266. If the measured value is beyond the standard value, readjust the torque converter within the specified value.