GM Service Manual Online
For 1990-2009 cars only

Removal Procedure

    Important: The Transmission Fluid Temperature (TFT) sensor is incorporated into the wiring harness assembly. The harness and sensor have to be replaced as an assembly.

  1. Drain the transaxle fluid from the transaxle. Refer to Transmission Fluid Draining

  2. Object Number: 1774660  Size: SH
  3. Remove the 18 oil pan retaining bolts, then remove the oil pan and gasket.

  4. Object Number: 1774664  Size: SH
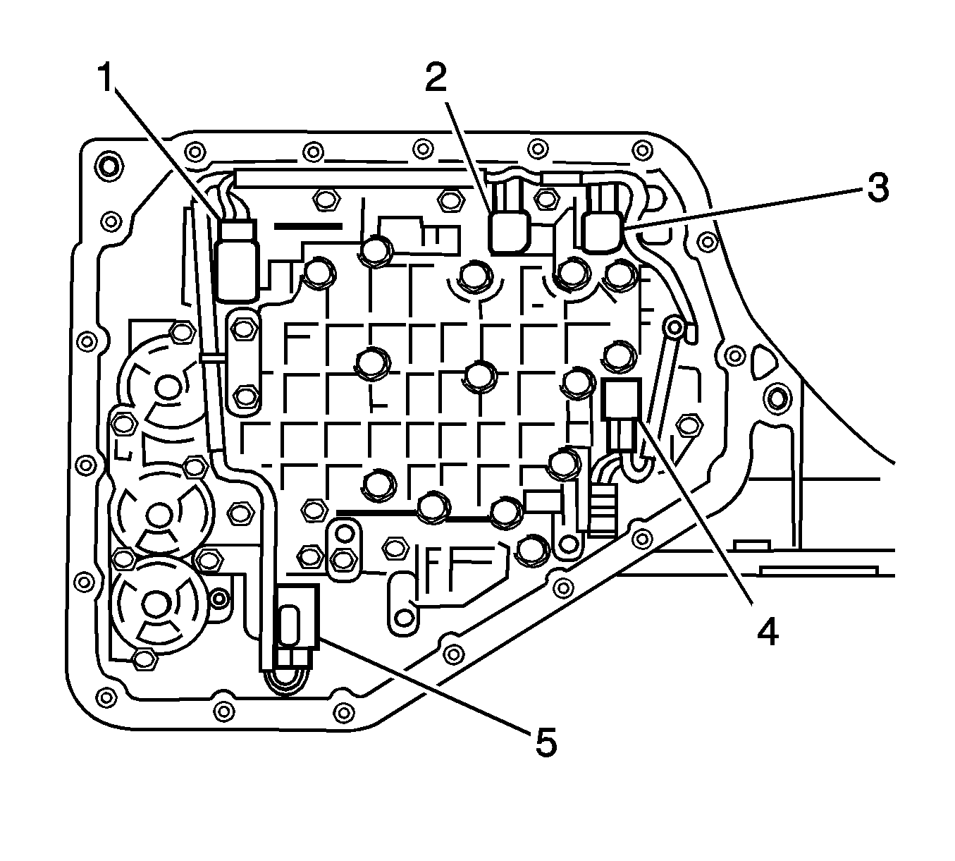
  5. Disconnect the wiring harness assembly from the five solenoids.

  6. Object Number: 1774668  Size: SH
  7. Remove the wiring harness retaining bolt, then remove the wiring harness and TFT sensor from the transaxle.

Installation Procedure


    Object Number: 1774675  Size: SH
  1. Coat a new O-ring with ATF, then install it on the harness connector.
  2. Install the TFT sensor and wiring harness into the transaxle case.
  3. Notice: Refer to Fastener Notice in the Preface section.

  4. Install the wiring harness retaining bolt.
  5. Tighten
    Tighten the bolt to 5.5  Nm (48 lb-in).


    Object Number: 1774664  Size: SH
  6. Connect the wiring harness to the five solenoids.

  7. Object Number: 1774660  Size: SH
  8. Install a new gasket on the oil pan, then install the oil pan to the transaxle with the 18 retaining bolts.
  9. Tighten
    Tighten the bolts to 7.5  Nm (65 lb-in).

  10. Fill the transaxle with transmission fluid. Refer to Transmission Fluid Draining.