GM Service Manual Online
For 1990-2009 cars only
Makes
🢒
Pontiac
🢒
2004
🢒
Wave
🢒
HVAC
🢒
HVAC Systems - Manual
🢒 Cooling System Component Views
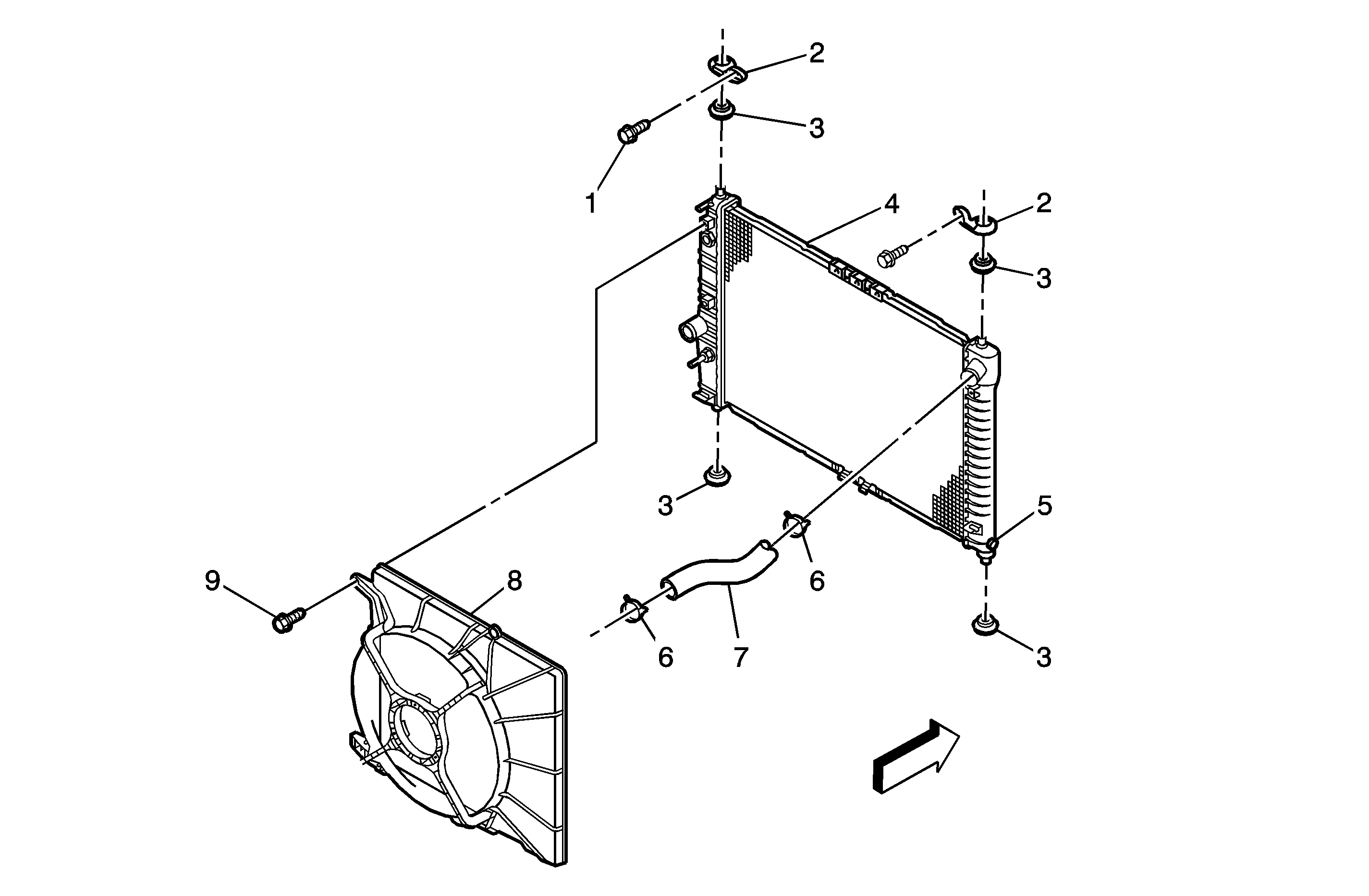
Figure
1:
Radiator/Fan (Single)
(1)
Bolt
(2)
Radiator Bracket
(3)
Radiator Bumper
(4)
Radiator
(5)
Drain Cock
(6)
Spring Clamp
(7)
Upper Radiator Hose
(8)
Cooling Fan
(9)
Bolt
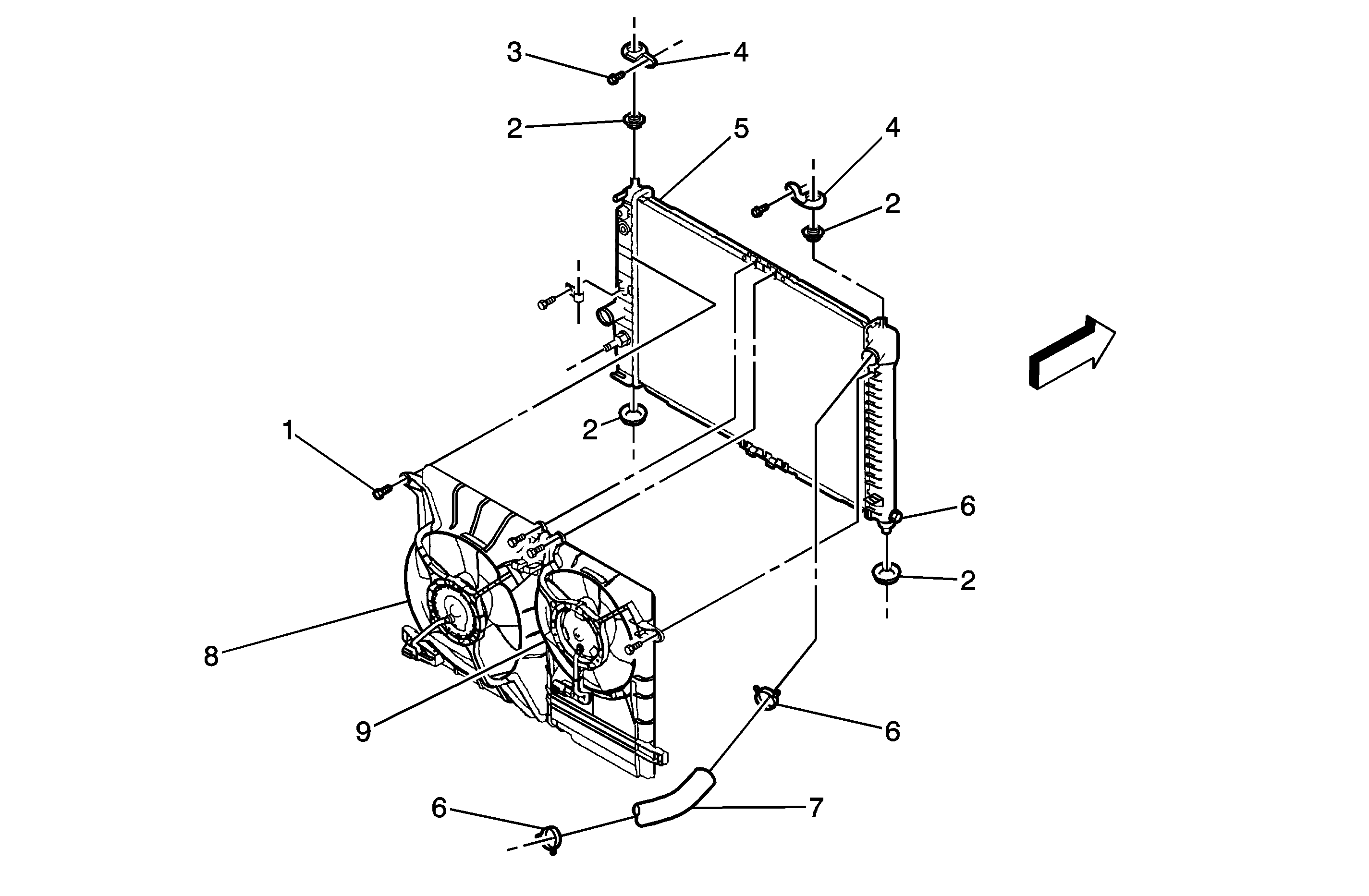
Figure
2:
Radiator/Fan (Dual)
(1)
Bolt
(2)
Radiator Bumper
(3)
Radiator Bracket Bolt
(4)
Radiator Bracket
(5)
Radiator
(6)
Drain Cock
(7)
Upper Radiator Hose
(8)
Cooling Fan (Main)
(9)
Cooling Fan (Auxiliary)