GM Service Manual Online
For 1990-2009 cars only

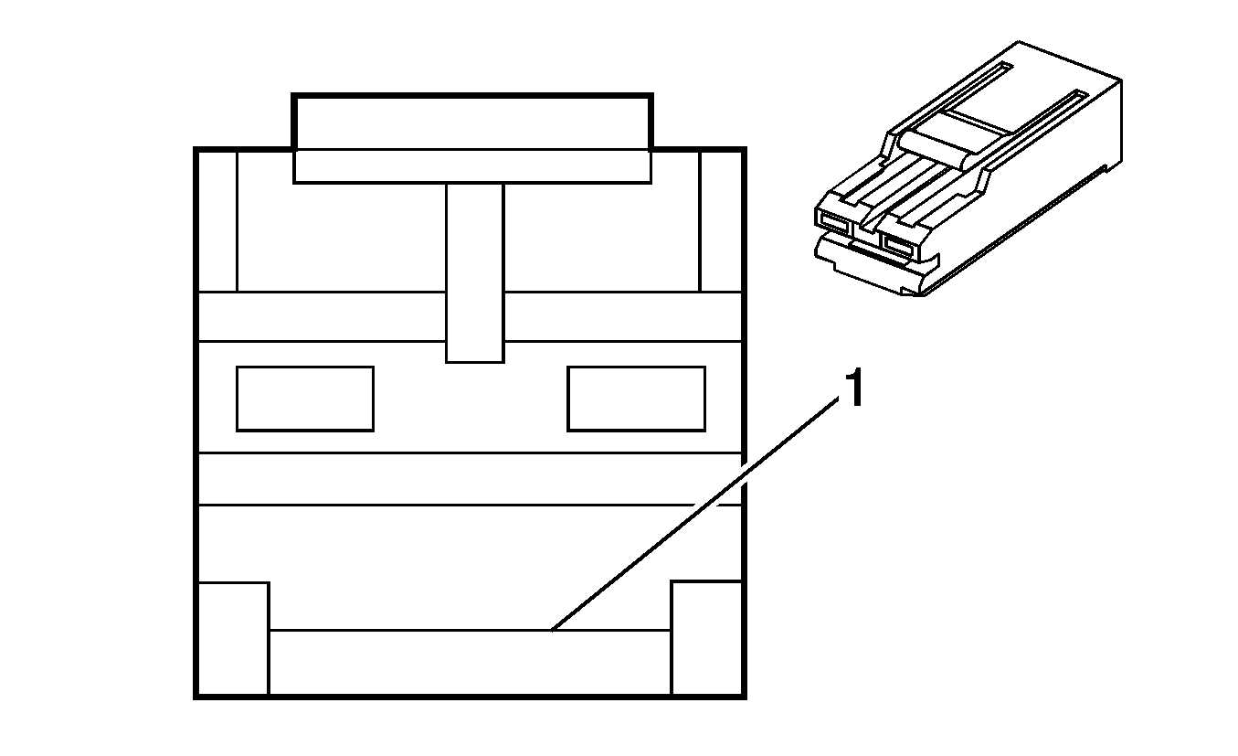
Defog Relay


Object Number: 1497842  Size: CH

Connector Part Information

    • AK 36905
    • 9-Way Relay F

Pin

Wire Color

Circuit No.

Function

86

D-BU

193

Rear Defog Relay Control (w/o A/C)

86

D-BU

193

Rear Defog Relay Control (w/A/C)

85

BK

450

Ground

87

PU

293

Rear Defog Element Supply

Voltage

30

OG/D-GN

1142

Battery Positive Voltage

Defogger Switch (w/o A/C)


Object Number: 1467119  Size: CH

Connector Part Information

    • KET MG 651050
    • 8-Way F 090-II Series (WH)

Pin

Wire Color

Circuit No.

Function

1

--

--

Not Used

2

BK

450

Ground

3-4

--

--

Not Used

5

YE

343

Accessory

Voltage

6

D-BU

193

Rear Defog Relay Control

7

L-GN/RD

230

Instrument Panel Lamps Dimming Control

8

BN/WH

309

Right Park Lamp Supply Voltage

Rear Window Defogger (Ground)


Object Number: 1467072  Size: CH

Connector Part Information

    • KET MG 630063
    • 1-Way 250 Series (BK)

Pin

Wire Color

Circuit No.

Function

A

BK

850

Ground

Rear Window Defogger (Positive)


Object Number: 1467072  Size: CH

Connector Part Information

    • KET MG 630063
    • 1-Way 250 Series (BK)

Pin

Wire Color

Circuit No.

Function

A

PU

293

Rear Defog Element Supply Voltage