GM Service Manual Online
For 1990-2009 cars only
Makes
🢒
Pontiac
🢒
2004
🢒
Wave
🢒 Ignition Controls - Ignition Systems
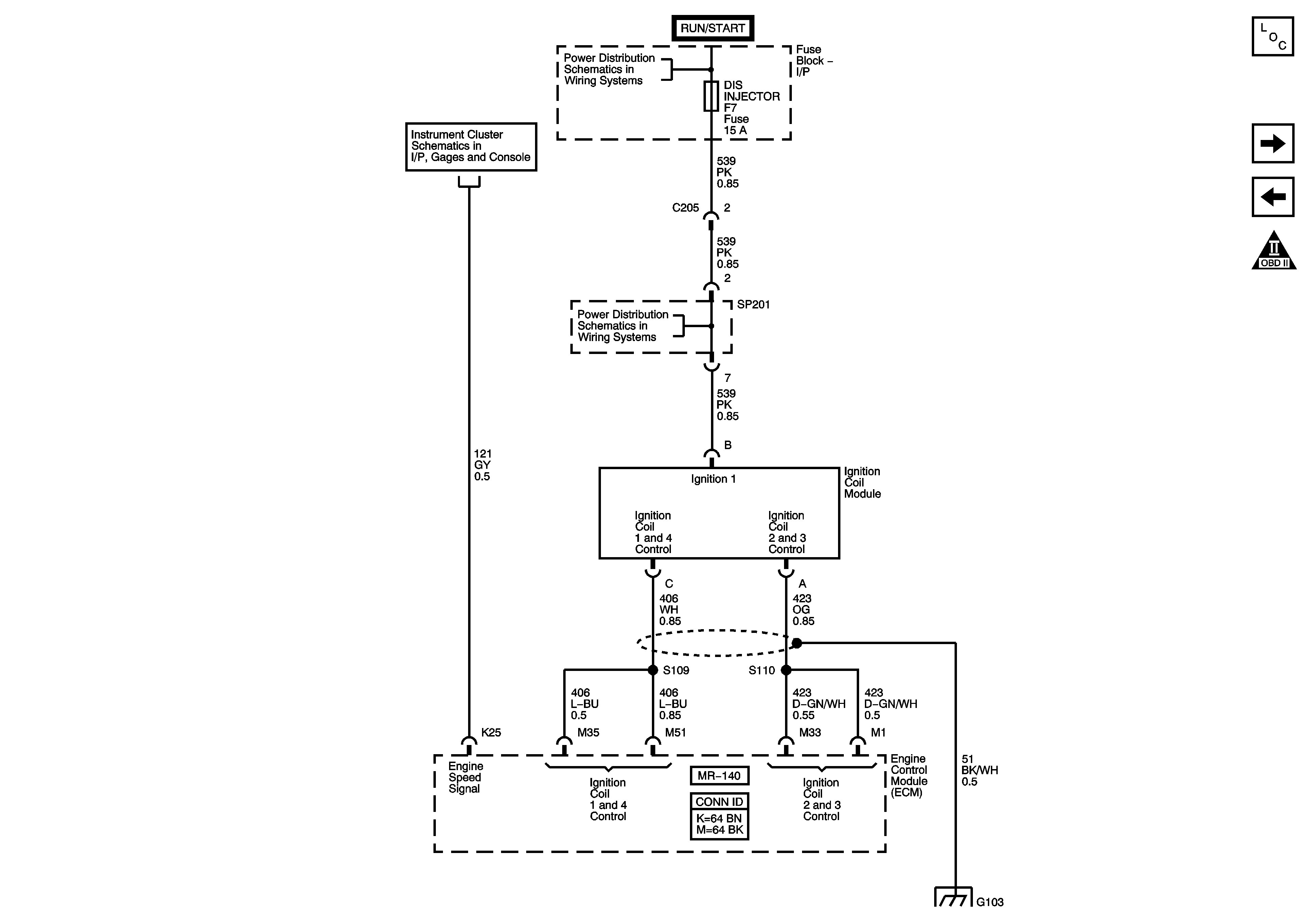
Ignition Controls - Ignition Systems
Ignition Controls - Ignition System
Master Electrical Component List
Ignition Controls - Sensors
Engine Data Sensors - Oxygen Sensors
Underhood Fuse Block - IGN 2 Fuse, Ignition Switch, I/P Fuse Block, - DIS INJECTOR, ECM TCM, WIPER WASHER, and HVAC BLOWER Fuses
Warning Indicators with Tachometer
Underhood Fuse Block - IGN 2 Fuse, Ignition Switch, I/P Fuse Block, - DIS INJECTOR, ECM TCM, WIPER WASHER, and HVAC BLOWER Fuses