|
| ||||||||||||||
|---|---|---|---|---|---|---|---|---|---|---|---|---|---|---|---|
Connector Part Information |
| Connector Part Information |
| ||||||||||||
Pin | Wire Color | Circuit No. | Function | Pin | Wire Color | Circuit No. | Function | ||||||||
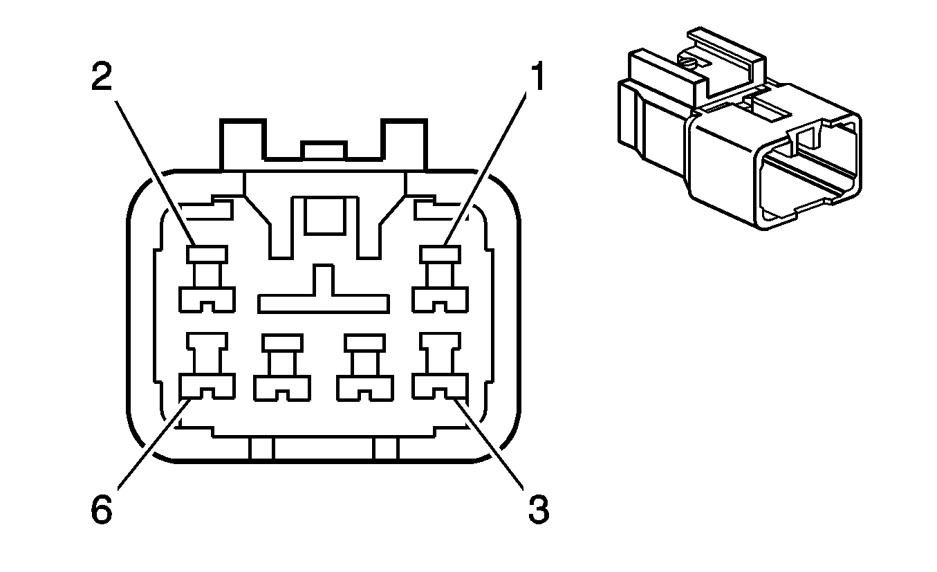
1 | BK/WH | 251 | Ground | 1 | BK/WH | 251 | Ground | ||||||||
2 | L-GN | 24 | Backup Lamp Supply Voltage | 2 | L-GN | 24 | Backup Lamp Supply Voltage | ||||||||
3 | YE | 710 | CAN Serial Data Low | 3 | YE | 710 | CAN Serial Data Low | ||||||||
4 | PU | 1807 | CAN Serial Data High | 4 | PU | 1807 | CAN Serial Data High | ||||||||
|
| ||||||||||||||
|---|---|---|---|---|---|---|---|---|---|---|---|---|---|---|---|
Connector Part Information |
| Connector Part Information |
| ||||||||||||
Pin | Wire Color | Circuit No. | Function | Pin | Wire Color | Circuit No. | Function | ||||||||
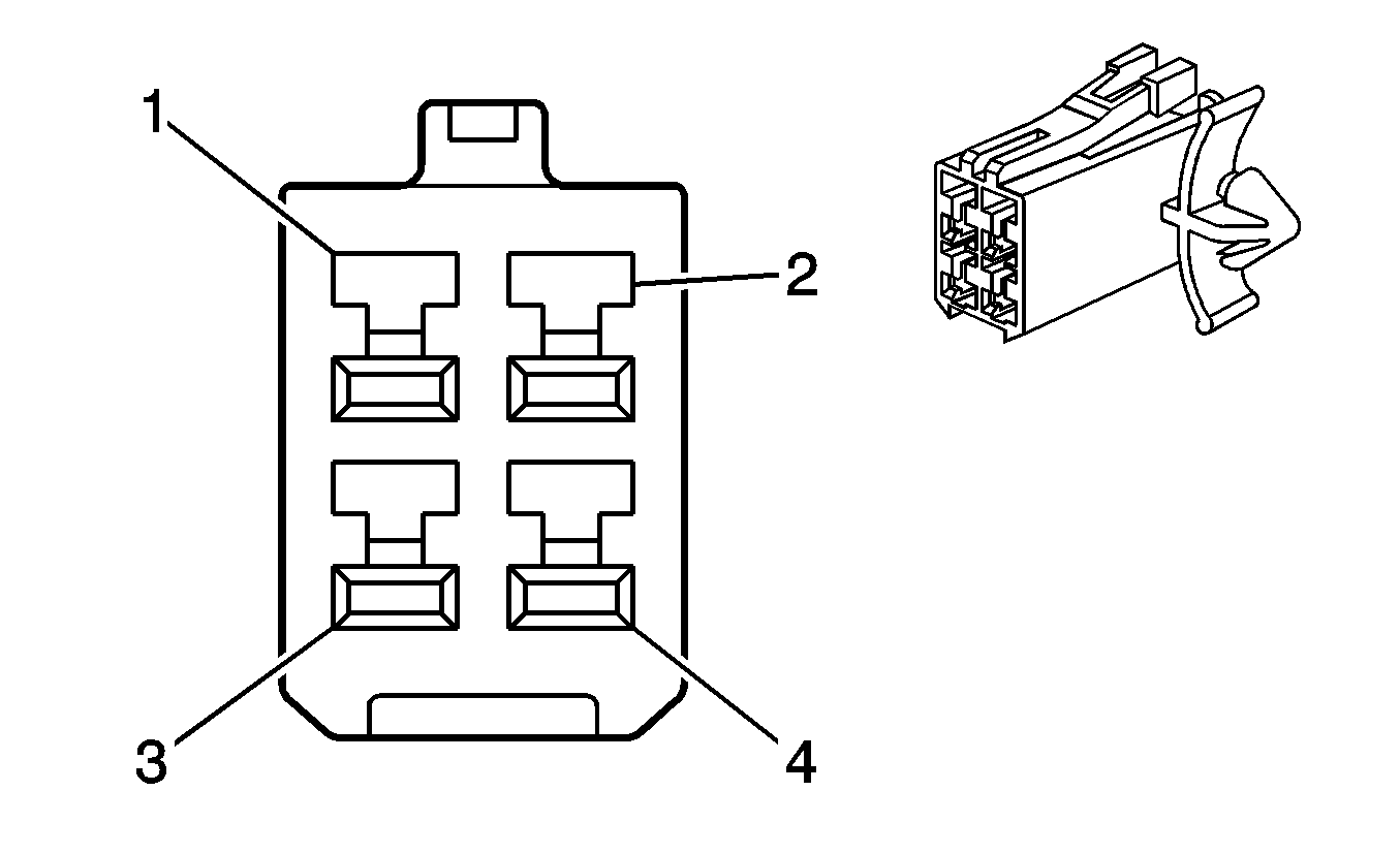
1 | L-BU | 1937 | Fuel Level Sensor Low Reference | 1 | L-BU | 1937 | Fuel Level Sensor Low Reference | ||||||||
2 | GY | 1936 | Fuel Level Sensor Signal | 2 | GY | 1936 | Fuel Level Sensor Signal | ||||||||
3 | -- | -- | Not Used | 3 | -- | -- | Not Used | ||||||||
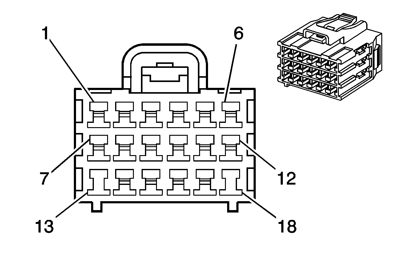
4 | L-GN | 24 | Backup Lamp Supply Voltage | 4 | L-GN/BK | 24 | Backup Lamp Supply Voltage | ||||||||
5 | D-GN | 834 | Rough Road Signal (w/ABS) | 5 | WH | 834 | Rough Road Signal (w/ABS) | ||||||||
6 | GY | 473 | High Speed Cooling Fan Relay Control | 6 | GY | 473 | High Speed Cooling Fan Relay Control | ||||||||
7 | GY | 355 | Low Speed Cooling Fan Relay Control | 7 | D-GN | 355 | Low Speed Cooling Fan Relay Control | ||||||||
8 | -- | -- | Not Used | 8 | -- | -- | Not Used | ||||||||
9 | BN | 1733 | Ignition 1 Voltage | 9 | BN | 1733 | Ignition 1 Voltage | ||||||||
BN | 1733 | Ignition 1 Voltage (MR-140) | |||||||||||||
10 | D-GN/BK | 1670 | HO2S 2 Low Reference Sensor | 10 | D-GN/BK | 1670 | HO2S 2 Low Reference Sensor | ||||||||
11 | L-GN | 413 | HO2S 2 High Signal Sensor | 11 | L-GN | 413 | HO2S 2 High Signal Sensor | ||||||||
12 | BN | 1671 | HO2S 2 Heater Low Control Sensor | 12 | BN | 1671 | HO2S 2 Heater Low Control Sensor | ||||||||
13 | -- | -- | Not Used | 13 | -- | -- | Not Used | ||||||||
14 | L-BU | 1030 | Low Reference | 14 | L-BU | 1030 | Low Reference | ||||||||
15 | WH/RD | 1031 | 5-Volt Reference | 15 | WH/D-BU | 1031 | 5-Volt Reference | ||||||||
16 | -- | -- | Not Used | 16 | -- | -- | Not Used | ||||||||
17 | YE/D-BU | 497 | Fuel Pump Relay Control | 17 | YE/BK | 497 | Fuel Pump Relay Control | ||||||||
18 | D-GN | 67 | A/C Compressor Clutch Coil Supply Voltage | 18 | D-GN | 67 | A/C Compressor Clutch Coil Supply Voltage | ||||||||
19-20 | -- | -- | Not Used | 19-20 | -- | -- | Not Used | ||||||||
|
| ||||||||||||||
|---|---|---|---|---|---|---|---|---|---|---|---|---|---|---|---|
Connector Part Information |
| Connector Part Information |
| ||||||||||||
Pin | Wire Color | Circuit No. | Function | Pin | Wire Color | Circuit No. | Function | ||||||||
1 | GY/D-GN | 711 | Left Headlamp High Beam Supply Voltage | 1 | GY/D-GN | 11 | Left Headlamp High Beam Supply Voltage | ||||||||
2 | WH/BK | 1346 | Headlamp Supply Voltage/Headlamp Control | 2 | WH/BK | 1346 | Headlamp Supply Voltage/Headlamp Control | ||||||||
3 | OG | 140 | Battery Positive Voltage | 3 | -- | -- | Not Used | ||||||||
4 | D-BU | 15 | Right Turn Signal Lamps Supply Voltage | 4 | D-BU | 15 | Right Turn Signal Lamps Supply Voltage | ||||||||
5 | L-BU | 14 | Left Turn Signal Lamps Supply Voltage | 5 | L-BU | 14 | Left Turn Signal Lamps Supply Voltage | ||||||||
6 | -- | -- | Not Used | 6 | -- | -- | Not Used | ||||||||
7 | BN | 1080 | Park Lamp Relay Control | 7 | BN | 1080 | Park Lamp Relay Control | ||||||||
8 | WH | 352 | Headlamp Relay Coil Supply Voltage | 8 | WH | 352 | Headlamp Relay Coil Supply Voltage | ||||||||
9 | YE/GN | 712 | Left Headlamp Low Beam Supply Voltage | 9 | YE/GN | 12 | Left Headlamp Low Beam Supply Voltage | ||||||||
10 | -- | -- | Not Used | 10 | -- | -- | Not Used | ||||||||
11 | D-GN/WH | 94 | Windshield Washer Switch Signal | 11 | D-GN/WH | 94 | Windshield Washer Switch Signal | ||||||||
12 | RD | 441 | Ignition 3 Voltage | 12 | RD | 441 | Ignition 3 Voltage | ||||||||
13 | D-GN | 96 | Windshield Washer Switch Pulse Delay Signal | 13 | D-GN | 96 | Windshield Washer Switch Pulse Delay Signal | ||||||||
14 | D-BU | 92 | Windshield Wiper Motor Low Speed | 14 | D-BU | 92 | Windshield Wiper Motor Low Speed | ||||||||
15 | WH | 95 | Windshield Wiper Motor High Speed | 15 | WH | 95 | Windshield Wiper Motor High Speed | ||||||||
|
| ||||||||||||||
|---|---|---|---|---|---|---|---|---|---|---|---|---|---|---|---|
Connector Part Information |
| Connector Part Information |
| ||||||||||||
Pin | Wire Color | Circuit No. | Function | Pin | Wire Color | Circuit No. | Function | ||||||||
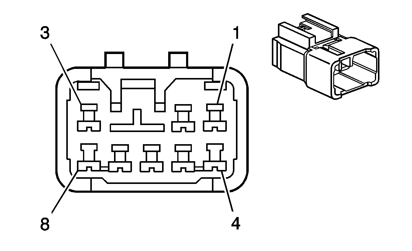
1 | BN | 20 | Stop Lamp Supply Voltage/Stop Lamp Switch Signal | 1 | BN | 20 | Stop Lamp Supply Voltage/Stop Lamp Switch Signal | ||||||||
2 | WH/YE | 318 | Front Fog Lamp Supply Voltage | 2 | WH/YE | 318 | Front Fog Lamp Supply Voltage | ||||||||
3 | BK | 28 | Horn Relay Control | 3 | BK | 28 | Horn Relay Control | ||||||||
4 | GN | 189 | Headlamp Leveling Motor Supply Voltage | 4 | GN | 189 | Headlamp Leveling Motor Supply Voltage | ||||||||
5 | -- | -- | Not Used | 5 | -- | -- | Not Used | ||||||||
6 | BN/BK | 109 | Hood Ajar Switch Signal | 6 | BN/BK | 109 | Hood Ajar Switch Signal | ||||||||
7 | PU | 239 | Ignition 1 Voltage | 7 | PU | 239 | Ignition 1 Voltage | ||||||||
8 | -- | -- | Not Used | 8 | -- | -- | Not Used | ||||||||
|
| ||||||||||||||
|---|---|---|---|---|---|---|---|---|---|---|---|---|---|---|---|
Connector Part Information |
| Connector Part Information |
| ||||||||||||
Pin | Wire Color | Circuit No. | Function | Pin | Wire Color | Circuit No. | Function | ||||||||
1 | OG | 1142 | Battery Positive Voltage | 1 | OG/GN | 1142 | Battery Positive Voltage | ||||||||
2 | RD | 242 | Ignition 3 Voltage | 2 | RD | 242 | Ignition 3 Voltage | ||||||||
3 | L-GN | 867 | ABS Indicator Control | 3 | L-GN | 867 | ABS Indicator Control | ||||||||
4 | BK/WH | 2051 | Serial Data | 4 | BK/WH | 2051 | Serial Data | ||||||||
5 | L-GN/BK | 392 | Rear Window Washer Pump Control | 5 | L-GN/BK | 392 | Rear Window Washer Pump Control | ||||||||
6 | BN | 33 | Brake Warning Indicator Control | 6 | BN | 33 | Brake Warning Indicator Control | ||||||||
7 | PK | 639 | Ignition 3 Voltage (Mando ABS) | 7 | PK | 639 | Ignition 3 Voltage (Mando ABS) | ||||||||
8 | BN | 1541 | Ignition 1 Voltage | 8 | BN | 1541 | Ignition 1 Voltage | ||||||||
9 | BN/WH | 309 | Right Park Lamp Supply Voltage | 9 | BN/WH | 309 | Right Park Lamp Supply Voltage | ||||||||
10 | -- | -- | Not Used | 10 | -- | -- | Not Used | ||||||||
|
| ||||||||||||||
|---|---|---|---|---|---|---|---|---|---|---|---|---|---|---|---|
Connector Part Information |
| Connector Part Information |
| ||||||||||||
Pin | Wire Color | Circuit No. | Function | Pin | Wire Color | Circuit No. | Function | ||||||||
1 | PU | 709 | Left Park Lamp Supply Voltage | 1 | BN | 709 | Left Park Lamp Supply Voltage | ||||||||
2 | BK | 50 | Ground | 2 | BK | 50 | Ground | ||||||||
3 | L/BU | 14 | Left Turn Signal Lamp Supply Voltage | 3 | YE | 14 | Left Turn Signal Lamp Supply Voltage | ||||||||
|
| ||||||||||||||
|---|---|---|---|---|---|---|---|---|---|---|---|---|---|---|---|
Connector Part Information |
| Connector Part Information |
| ||||||||||||
Pin | Wire Color | Circuit No. | Function | Pin | Wire Color | Circuit No. | Function | ||||||||
1 | BN/WH | 309 | Right Park Lamp Supply Voltage | 1 | BN | 709 | Right Park Lamp Supply Voltage | ||||||||
2 | BK | 250 | Ground | 2 | BK | 50 | Ground | ||||||||
3 | D/BU | 15 | Right Turn Signal Lamp Supply Voltage | 3 | YE | 14 | Right Turn Signal Lamp Supply Voltage | ||||||||
|
| ||||||||||||||
|---|---|---|---|---|---|---|---|---|---|---|---|---|---|---|---|
Connector Part Information |
| Connector Part Information |
| ||||||||||||
Pin | Wire Color | Circuit No. | Function | Pin | Wire Color | Circuit No. | Function | ||||||||
1 | OG/D-GN | 1142 | Battery Positive Voltage | 1 | OG/D-GN | 1142 | Battery Positive Voltage | ||||||||
2 | RD | 242 | Ignition 1 Voltage | 2 | RD | 242 | Ignition 1 Voltage | ||||||||
3 | L-GN | 867 | ABS Indicator Control | 3 | L-GN | 867 | ABS Indicator Control | ||||||||
4 | BK/WH | 2051 | Serial Data (w/ABS) | 4 | BK/WH | 2051 | Serial Data (w/ABS) | ||||||||
5 | BN | 20 | Stop Lamp Supply Voltage/Stop Lamp Switch Signal (w/ABS) | 5 | BN | 20 | Stop Lamp Supply Voltage/Stop Lamp Switch Signal (w/ABS) | ||||||||
6 | WH/YE | 318 | Front Fog Lamp Supply Voltage | 6 | WH/YE | 318 | Front Fog Lamp Supply Voltage | ||||||||
7 | BK | 28 | Horn Relay Control (w/SIR) | 7 | BK | 28 | Horn Relay Control (w/SIR) | ||||||||
BK/WH | 29 | Horn Control (w/o SIR) | BK/WH | 29 | Horn Control (w/o SIR) | ||||||||||
8 | -- | -- | Not Used | 8 | -- | -- | Not Used | ||||||||
9 | L-GN/BK | 392 | Rear Window Washer Pump Control (w/Rear Window Washer) | 9 | L-GN/BK | 392 | Rear Window Washer Pump Control (w/Rear Window Washer) | ||||||||
10 | BN | 33 | Brake Warning Indicator Control | 10 | BN | 33 | Brake Warning Indicator Control | ||||||||
BN/WH | 133 | Brake Warning Indicator Control (LHD) | BN/WH | 133 | Brake Warning Indicator Control (LHD) | ||||||||||
11 | PK | 639 | Ignition 1 Voltage (Mando ABS) | 11 | PK | 639 | Ignition 1 Voltage (Mando ABS) | ||||||||
12 | BN | 1541 | Ignition 1 Voltage | 12 | BN | 1541 | Ignition 1 Voltage | ||||||||
13 | BN/WH | 309 | Right Park Lamp Supply Voltage | 13 | BN/WH | 309 | Right Park Lamp Supply Voltage | ||||||||
14 | L-BU | 1769 | Fog Lamp Indicator Control (w/Fog Lamps) | 14 | L-BU | 1769 | Fog Lamp Indicator Control | ||||||||
15 | D-GN | 189 | Headlamp Leveling Motor Supply Voltage (Except North America) | 15 | D-GN | 189 | Headlamp Leveling Motor Supply Voltage (Except North America) | ||||||||
16 | PU | 172 | Low Fuel Indicator Control | 16 | PU | 172 | Low Fuel Indicator Control | ||||||||
17 | BN/BK | 109 | Hood Ajar Switch Signal | 17 | BN/BK | 109 | Hood Ajar Switch Signal | ||||||||
18 | PK | 239 | Ignition 1 Voltage (HV-240) | 18 | PK | 239 | Ignition 1 Voltage | ||||||||
|
| ||||||||||||||
|---|---|---|---|---|---|---|---|---|---|---|---|---|---|---|---|
Connector Part Information |
| Connector Part Information |
| ||||||||||||
Pin | Wire Color | Circuit No. | Function | Pin | Wire Color | Circuit No. | Function | ||||||||
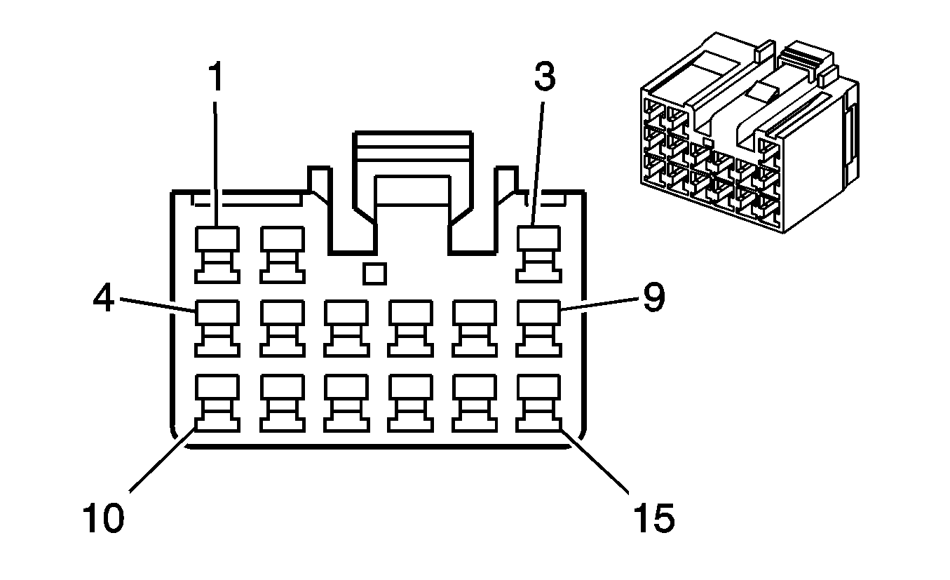
1 | BN | 323 | Park/Neutral Position (PNP) Switch Park Signal | 1 | BN | 323 | Park/Neutral Position (PNP) Switch Park Signal | ||||||||
2-3 | -- | -- | Not Used | 2-3 | -- | -- | Not Used | ||||||||
4 | D-GN/WH | 1135 | Hold Mode Signal | 4 | D-GN/WH | 1135 | Hold Mode Signal | ||||||||
5 | YE | 1481 | Hold Mode Indicator Control | 5 | YE | 1481 | Hold Mode Indicator Control | ||||||||
6 | -- | -- | Not Used | 6 | -- | -- | Not Used | ||||||||
7 | L-BU | 20 | Stop Lamp Supply Voltage/Stop Lamp Switch Signal | 7 | BN | 20 | Stop Lamp Supply Voltage/Stop Lamp Switch Signal | ||||||||
8 | D-BU | 2051 | Serial Data | 8 | BK/WH | 2051 | Serial Data | ||||||||
9 | D-GN/WH | 817 | Vehicle Speed Signal | 9 | D-GN/WH | 817 | Vehicle Speed Signal | ||||||||
D-GN/WH | 817 | Vehicle Speed Signal | |||||||||||||
10 | PK | 839 | Ignition 1 Voltage | 10 | PK | 839 | Ignition 1 Voltage | ||||||||
11 | OG | 440 | Battery Positive Voltage | 11 | OG | 440 | Battery Positive Voltage | ||||||||
|
| ||||||||||||||
|---|---|---|---|---|---|---|---|---|---|---|---|---|---|---|---|
Connector Part Information |
| Connector Part Information |
| ||||||||||||
Pin | Wire Color | Circuit No. | Function | Pin | Wire Color | Circuit No. | Function | ||||||||
1 | OG | 140 | Battery Positive Voltage | 1 | OG | 140 | Battery Positive Voltage | ||||||||
2 | WH/BK | 1346 | Headlamp Supply Voltage/Headlamp Control | 2 | WH/BK | 1346 | Headlamp Supply Voltage/Headlamp Control | ||||||||
3 | GY/D-GN | 11 | Headlamp High Beam Supply Voltage | 3 | GY/D-GN | 11 | Headlamp High Beam Supply Voltage | ||||||||
4 | YE/D-GN | 12 | Headlamp Low Beam Supply Voltage | 4 | YE/D-GN | 12 | Headlamp Low Beam Supply Voltage | ||||||||
5 | WH | 352 | Headlamp Relay Coil Supply Voltage | 5 | WH | 352 | Headlamp Relay Coil Supply Voltage | ||||||||
6 | BN | 1080 | Park Lamp Relay Control | 6 | BN | 1080 | Park Lamp Relay Control | ||||||||
7 | PU | 293 | Rear Defog Element Supply Voltage | 7 | PU | 293 | Rear Defog Element Supply Voltage | ||||||||
8 | L-BU | 14 | Left Turn Signal Lamp Supply Voltage | 8 | L-BU | 14 | Left Turn Signal Lamp Supply Voltage | ||||||||
9 | D-BU | 15 | Right Turn Signal Lamp Supply Voltage | 9 | D-BU | 15 | Right Turn Signal Lamp Supply Voltage | ||||||||
10 | WH | 95 | Windshield Wiper Motor High Speed | 10 | WH | 95 | Windshield Wiper Motor High Speed | ||||||||
11 | D-BU | 92 | Windshield Wiper Motor Low Speed | 11 | D-BU | 92 | Windshield Wiper Motor Low Speed | ||||||||
12 | D-GN | 96 | Windshield Wiper Switch Pulse Delay Signal | 12 | D-GN | 96 | Windshield Wiper Switch Pulse Delay Signal | ||||||||
13 | RD | 441 | Ignition 3 Voltage | 13 | RD | 441 | Ignition 3 Voltage | ||||||||
14 | D-GN/WH | 94 | Windshield Washer Switch Signal | 14 | D-GN/WH | 94 | Windshield Washer Switch Signal | ||||||||
|
| ||||||||||||||
|---|---|---|---|---|---|---|---|---|---|---|---|---|---|---|---|
Connector Part Information |
| Connector Part Information |
| ||||||||||||
Pin | Wire Color | Circuit No. | Function | Pin | Wire Color | Circuit No. | Function | ||||||||
1 | OG/BK | 142 | Battery Positive Voltage | 1 | OG | 142 | Battery Positive Voltage | ||||||||
2 | RD/BK | 141 | Ignition 3 Voltage | 2 | RD/BK | 141 | Ignition 3 Voltage | ||||||||
3 | YE | 143 | Accessory Voltage | 3 | YE | 143 | Accessory Voltage | ||||||||
4 | RD/BK | 141 | Ignition 3 Voltage | 4 | RD/BK | 141 | Ignition 3 Voltage | ||||||||
|
| ||||||||||||||
|---|---|---|---|---|---|---|---|---|---|---|---|---|---|---|---|
Connector Part Information |
| Connector Part Information |
| ||||||||||||
Pin | Wire Color | Circuit No. | Function | Pin | Wire Color | Circuit No. | Function | ||||||||
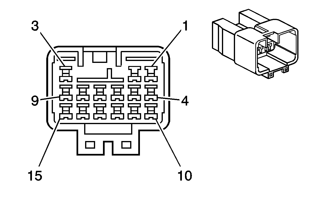
1 | YE | 5 | Crank Voltage (Except Auto Transmission North America) | 1 | YE | 5 | Crank Voltage (Except Auto Transmission North America) | ||||||||
PU | 6 | Starter Solenoid Crank Voltage (Automatic Transmission North America) | 1 | PU | 6 | Starter Solenoid Crank Voltage (Automatic Transmission North America) | |||||||||
2 | PK | 539 | Ignition 1 Voltage | 2 | PK | 539 | Ignition 1 Voltage | ||||||||
3 | WH | 30 | Fuel Level Sensor Signal | 3 | WH | 30 | Fuel Level Sensor Signal | ||||||||
4 | D-BU | 2051 | Serial Data (w/Immobilizer) | 4 | BK/WH | 2051 | Serial Data | ||||||||
BK/WH | 2051 | Serial Data (w/o Immobilizer) | |||||||||||||
5 | YE | 1578 | EVAP Canister Vent Solenoid Control (North America) | 5 | YE | 1578 | EVAP Canister Vent Solenoid Control (North America) | ||||||||
6 | WH | 135 | ECT Sensor Gage Signal | 6 | WH | 135 | ECT Sensor Gage Signal | ||||||||
7 | D-BU | 25 | Charge Indicator Control/Charge Indicator Signal | 7 | D-BU | 25 | Charge Indicator Control/Charge Indicator Signal | ||||||||
8 | PK | 839 | Ignition 1 Voltage | 8 | PK | 839 | Ignition 1 Voltage | ||||||||
1739 | 1739 | ||||||||||||||
9 | D-GN/WH | 762 | A/C Request Signal | 9 | D-GN/WH | 762 | A/C Request Signal | ||||||||
10 | BN | 732 | Evaporator Temperature Sensor Signal (1.2L) | 10 | BN | 732 | Evaporator Temperature Sensor Signal | ||||||||
11 | OG | 440 | Battery Positive Voltage | 11 | OG | 440 | Battery Positive Voltage | ||||||||
12 | L-BU | 733 | Reference Low (1.4L) | 12 | L-BU | 733 | Reference Low (1.4L) | ||||||||
BN | Reference Low (1.2L) | BN | Reference Low (1.2L) | ||||||||||||
13 | PK/D-BU | 439 | Ignition 1 Voltage (w/Manual Transmission) | 13 | PK | 439 | Ignition 1 Voltage (w/Manual Transmission) | ||||||||
14 | D-GN/WH | 817 | Vehicle Speed Signal (w/Manual Transmission) | 14 | D-GN/WH | 817 | Vehicle Speed Signal | ||||||||
15 | WH | 121 | Engine Speed Signal | 15 | WH | 121 | Engine Speed Signal | ||||||||
16 | BN/BK | 419 | MIL Control | 16 | BN/BK | 419 | Malfunction Indicator Lamp (MIL) Control | ||||||||
17 | D-GN | 31 | Oil Pressure Indicator Control | 17 | D-GN/WH | 31 | Oil Pressure Indicator Control | ||||||||
18 | PU/WH | 821 | Engine Overspeed Indicator Control (w/Overspeed Warning) | 18 | BN/BK | 821 | Engine Overspeed Indicator Control | ||||||||
|
| ||||||||||||||
|---|---|---|---|---|---|---|---|---|---|---|---|---|---|---|---|
Connector Part Information |
| Connector Part Information |
| ||||||||||||
Pin | Wire Color | Circuit No. | Function | Pin | Wire Color | Circuit No. | Function | ||||||||
1 | YE | 749 | Security Indicator Control | 1 | YE | 749 | Security Indicator Control | ||||||||
2 | BK/WH | 2051 | Serial Data | 2 | BK/WH | 2051 | Serial Data | ||||||||
3 | PK | 239 | Ignition 1 Voltage | 3 | PK | 239 | Ignition 1 Voltage | ||||||||
4 | RD/WH | 740 | Battery Positive Voltage (LHD) | 4 | RD/WH | 740 | Battery Positive Voltage (LHD) | ||||||||
5 | YE | 1578 | EVAP Canister Vent Solenoid Control | 5 | YE | 1578 | EVAP Canister Vent Solenoid Control | ||||||||
6 | L-GN | 80 | Key in Ignition Switch Signal | 6 | L-GN | 80 | Key in Ignition Switch Signal | ||||||||
7 | BN/BK | 109 | Hood Ajar Switch Signal | 7 | BN/BK | 109 | Hood Ajar Switch Signal | ||||||||
8 | -- | -- | Not Used | 8 | -- | -- | Not Used | ||||||||
|
| ||||||||||||||
|---|---|---|---|---|---|---|---|---|---|---|---|---|---|---|---|
Connector Part Information |
| Connector Part Information |
| ||||||||||||
Pin | Wire Color | Circuit No. | Function | Pin | Wire Color | Circuit No. | Function | ||||||||
1 | BN/BK | 885 | Left Rear Wheel Speed Sensor Low Reference (w/ABS) | 1 | BN/BK | 885 | Left Rear Wheel Speed Sensor Low Reference | ||||||||
2 | D-GN/WH | 884 | Left Rear Wheel Speed Sensor Signal (w/ABS) | 2 | D-GN/WH | 884 | Left Rear Wheel Speed Sensor Signal | ||||||||
3 | PU | 883 | Right Rear Wheel Speed Sensor Low Reference (w/ABS) | 3 | PU | 883 | Right Rear Wheel Speed Sensor Low Reference | ||||||||
4 | L-BU | 882 | Right Rear Wheel Speed Sensor Signal (w/ABS) | 4 | L-BU | 882 | Right Rear Wheel Speed Sensor Signal | ||||||||
5 | L-GN | 24 | Backup Lamp Supply Voltage | 5 | L-GN | 24 | Backup Lamp Supply Voltage | ||||||||
6 | L-BU | 1937 | Fuel Level Sensor Low Reference | 6 | L-BU | 1937 | Fuel Level Sensor Low Reference | ||||||||
GY/D-GN | 1029 | GY/D-GN | 1029 | ||||||||||||
7 | PU | 709 | Left Park Lamp Supply Voltage | 7 | PU | 709 | Left Park Lamp Supply Voltage | ||||||||
8 | BN/WH | 309 | Right Park Lamp Supply Voltage | 8 | BN/WH | 309 | Right Park Lamp Supply Voltage | ||||||||
9 | BN | 1733 | Ignition 1 Voltage (MR-140) | 9 | BN | 1733 | Ignition 1 Voltage (MR-140) | ||||||||
10 | OG/BK | 540 | Battery Positive Voltage | 10 | BN | 541 | Battery Positive Voltage | ||||||||
11 | PU | 267 | Heated Mirror Element Supply Voltage (LHD) | 11 | PU | 267 | Heated Mirror Element Supply Voltage (Hatchback) | ||||||||
OG | 293 | Heated Mirror Element Supply Voltage (Notchback) | OG | 293 | Heated Mirror Element Supply Voltage (Notchback) | ||||||||||
12 | PU | 172 | Low Fuel Indicator Control (LHD) | 12 | PU | 172 | Low Fuel Indicator Control (LHD) | ||||||||
13 | L-GN/BK | 392 | Low Reference | 13 | L-GN/BK | 392 | Low Reference | ||||||||
14 | L-BU | 1030 | Low Reference (MR-140) | 14 | L-BU | 1030 | Low Reference (MR-140) | ||||||||
15 | WH/BU | 1031 | 5-Volt Reference (MR-140) | 15 | WH | 1031 | 5-Volt Reference (MR-140) | ||||||||
16 | L-BU | 1723 | Fuel Pump Supply Voltage | 16 | BN | 1723 | Fuel Pump Supply Voltage | ||||||||
17 | -- | -- | Not Used | 17 | -- | -- | Not Used | ||||||||
18 | BN | 41 | Ignition 3 Voltage (w/Power Windows) | 18 | RD/WH | 41 | Ignition 3 Voltage | ||||||||
19 | GY | 1936 | Fuel Level Sensor Signal | 19 | GY | 1936 | Fuel Level Sensor Signal | ||||||||
20 | -- | -- | Not Used | 20 | -- | -- | Not Used | ||||||||
21 | D-GN/WH | 261 | Arm Alarm Signal | 21 | D-GN/WH | 261 | Arm Alarm Signal | ||||||||
22 | BN | 741 | Ignition 1 Voltage | 22 | BN | 741 | Ignition 1 Voltage | ||||||||
|
| ||||||||||||||
|---|---|---|---|---|---|---|---|---|---|---|---|---|---|---|---|
Connector Part Information |
| Connector Part Information |
| ||||||||||||
Pin | Wire Color | Circuit No. | Function | Pin | Wire Color | Circuit No. | Function | ||||||||
1 | OG | 1340 | Battery Positive Voltage | 1 | OG | 1340 | Battery Positive Voltage | ||||||||
2-3 | -- | -- | Not Used | 2-3 | -- | -- | Not Used | ||||||||
4 | D-GN/WH | 157 | Courtesy Lamp Control | 4 | D-GN/WH | 157 | Courtesy Lamp Control | ||||||||
5 | RD | 441 | Ignition 3 Voltage | 5 | RD | 441 | Ignition 3 Voltage | ||||||||
6 | GY | 393 | Rear Window Wiper Motor Control | 6 | GY | 393 | Rear Window Wiper Motor Control | ||||||||
7 | RD | 122 | Rear Fog Lamp Supply Voltage (Rear Fog Lamps) | 7 | RD | 122 | Rear Fog Lamp Supply Voltage (Rear Fog Lamps) | ||||||||
8 | -- | -- | Not Used | 8 | -- | -- | Not Used | ||||||||
9 | BK/WH | 238 | Seat Belt Switch - Driver | 9 | BK/WH | 238 | Seat Belt Switch - Driver | ||||||||
10 | PU | 126 | Left Front Door Open Switch Signal | 10 | PU | 126 | Left Front Door Open Switch Signal | ||||||||
|
| ||||||||||||||
|---|---|---|---|---|---|---|---|---|---|---|---|---|---|---|---|
Connector Part Information |
| Connector Part Information |
| ||||||||||||
Pin | Wire Color | Circuit No. | Function | Pin | Wire Color | Circuit No. | Function | ||||||||
1 | OG | 40 | Battery Positive Voltage | 1 | OG | 40 | Battery Positive Voltage | ||||||||
OG | 40 | Battery Positive Voltage (w/Power Mirrors) | |||||||||||||
2 | -- | -- | Not Used | 2 | -- | -- | Not Used | ||||||||
3 | PU | 172 | (RHD) | 3 | PU | 172 | (RHD) | ||||||||
4 | D-BU | 15 | Right Turn Signal Lamps Supply Voltage | 4 | D-BU | 15 | Right Turn Signal Lamps Supply Voltage | ||||||||
D-BU | 15 | Right Turn Signal Lamps Supply Voltage (w/Remote Keyless Entry) | |||||||||||||
5 | L-BU | 14 | Left Turn Signal Lamp Supply Voltage | 5 | L-BU | 14 | Left Turn Signal Lamp Supply Voltage | ||||||||
L-BU | 14 | Left Turn Signal Lamp Supply Voltage (w/Remote Keyless Entry) | |||||||||||||
6 | BN | 20 | Stop Lamp Supply Voltage/Stop Lamp Switch Signal | 6 | BN | 20 | Stop Lamp Supply Voltage/Stop Lamp Switch Signal | ||||||||
7 | PU | 201 | Left Front Speaker Output (+) | 7 | PU | 201 | Left Front Speaker Output (+) | ||||||||
8 | L-GN | 118 | Left Front Speaker Output (-) | 8 | L-GN | 118 | Left Front Speaker Output (-) | ||||||||
9 | L-BU | 200 | Right Front Speaker Output (+) | 9 | L-BU | 200 | Right Front Speaker Output (+) | ||||||||
10 | BN | 117 | Right Front Speaker Output (-) | 10 | BN | 117 | Right Front Speaker Output (-) | ||||||||
11 | GY | 199 | Left Rear Speaker Output (+) | 11 | GY | 199 | Left Rear Speaker Output (+) | ||||||||
12 | D-GN | 116 | Left Rear Speaker Output (-) | 12 | D-GN | 116 | Left Rear Speaker Output (-) | ||||||||
13 | D-BU | 46 | Right Rear Speaker Output (+) | 13 | D-BU | 46 | Right Rear Speaker Output (+) | ||||||||
14 | WH | 115 | Right Rear Speaker Output (-) | 14 | WH | 115 | Right Rear Speaker Output (-) | ||||||||
15 | BN | 33 | Brake Warning Indicator Control | 15 | BN | 33 | Brake Warning Indicator Control | ||||||||
|
| ||||||||||||||
|---|---|---|---|---|---|---|---|---|---|---|---|---|---|---|---|
Connector Part Information |
| Connector Part Information |
| ||||||||||||
Pin | Wire Color | Circuit No. | Function | Pin | Wire Color | Circuit No. | Function | ||||||||
1 | D-GN/WH | 358 | Air Bag Indicator Control | 1 | D-GN/WH | 358 | Air Bag Indicator Control | ||||||||
2 | -- | -- | Not Used | 2 | -- | -- | Not Used | ||||||||
3 | PK | 139 | Ignition 1 Voltage | 3 | PK | 139 | Ignition 1 Voltage | ||||||||
4 | BN | 337 | SIR Serial Data | 4 | BN | 337 | SIR Serial Data | ||||||||
|
| ||||||||||||||
|---|---|---|---|---|---|---|---|---|---|---|---|---|---|---|---|
Connector Part Information |
| Connector Part Information |
| ||||||||||||
Pin | Wire Color | Circuit No. | Function | Pin | Wire Color | Circuit No. | Function | ||||||||
1 | RD/WH | 41 | Ignition 3 Voltage | 1 | RD/WH | 41 | Ignition 3 Voltage | ||||||||
2 | BN/OG | 1307 | Power Window Master Switch Lockout Control | 2 | BN/OG | 1307 | Power Window Master Switch Lockout Control | ||||||||
3 | D-GN | 166 | Power Window Master Switch Passenger Front Up Signal | 3 | D-GN | 166 | Power Window Master Switch Passenger Front Up Signal | ||||||||
4 | BN | 167 | Power Window Master Switch Passenger Front Down Signal | 4 | BN | 167 | Power Window Master Switch Passenger Front Down Signal | ||||||||
5 | L-GN/RD | 668 | Power Window Motor Left Rear Up Control | 5 | L-GN/RD | 668 | Power Window Motor Left Rear Up Control | ||||||||
6 | GY/D-GN | 169 | Power Window Master Switch Left Rear Down Signal | 6 | GY/D-GN | 169 | Power Window Master Switch Left Rear Down Signal | ||||||||
7 | BK | 650 | Ground | 7 | BK | 650 | Ground | ||||||||
8 | WH | 81 | Mirror Motor Right Control | 8 | WH | 81 | Mirror Motor Right Control | ||||||||
9 | L-GN | 89 | Mirror Motor Up/Down Control | 9 | L-GN | 89 | Mirror Motor Down Control | ||||||||
10 | GY | 90 | Mirror Motor Left Control | 10 | GY | 90 | Mirror Motor Left Control | ||||||||
11 | -- | -- | Not Used | 11 | -- | -- | Not Used | ||||||||
12 | OG | 267 | Heated Mirror Element Supply Voltage | 12 | OG | 267 | Heated Mirror Element Supply Voltage | ||||||||
13 | L-BU | 170 | Power Window Master Switch Right Rear Up Signal | 13 | L-BU | 170 | Power Window Master Switch Right Rear Up Signal | ||||||||
14 | PU | 171 | Power Window Master Switch Right Rear Down Signal | 14 | PU | 171 | Power Window Master Switch Right Rear Down Signal | ||||||||
15-17 | -- | -- | Not Used | 15-17 | -- | -- | Not Used | ||||||||
18 | D-BU | 49 | Door Latch Switch Signal | 18 | PU/D-BU | 49 | Door Latch Switch Signal | ||||||||
19 | L-GN | 118 | Left Front Speaker Output (-) (LHD) | 19 | L-GN | 118 | Left Front Speaker Output (-) (LHD) | ||||||||
BN | 117 | Right Front Speaker Output (-) (RHD) | BN | 117 | Right Front Speaker Output (-) (RHD) | ||||||||||
20 | PU | 201 | Left Front Speaker Output (+) (LHD) | 20 | PU | 201 | Left Front Speaker Output (+) (LHD) | ||||||||
L-BU | 200 | Left Front Speaker Output (+) (RHD) | L-BU | 200 | Left Front Speaker Output (+) (RHD) | ||||||||||
21-23 | -- | -- | Not Used | 21-23 | -- | -- | Not Used | ||||||||
24 | L-GN | 194 | Door Unlock Control (w/o Dimming) | 24 | L-GN | 194 | Door Unlock Control (w/o Dimming) | ||||||||
25 | GY | 195 | Door Lock Control | 25 | GY | 195 | Door Lock Control | ||||||||
26 | D-BU | 294 | Door Lock Actuator Unlock Control | 26 | D-BU | 294 | Door Lock Actuator Unlock Control | ||||||||
27 | WH | 295 | Door Lock Actuator Lock Control | 27 | WH | 295 | Door Lock Actuator Lock Control | ||||||||
28 | -- | -- | Not Used | 28 | -- | -- | Not Used | ||||||||
29 | OG | 40 | Battery Positive Voltage | 29 | OG | 40 | Battery Positive Voltage | ||||||||
|
| ||||||||||||||
|---|---|---|---|---|---|---|---|---|---|---|---|---|---|---|---|
Connector Part Information |
| Connector Part Information |
| ||||||||||||
Pin | Wire Color | Circuit No. | Function | Pin | Wire Color | Circuit No. | Function | ||||||||
1 | -- | -- | Not Used | 1 | -- | -- | Not Used | ||||||||
2 | BN/OG | 1307 | Power Window Master Switch Lockout Control | 2 | BN/OG | 1307 | Power Window Master Switch Lockout Control | ||||||||
RD/WH | 41 | RD/WH | 41 | ||||||||||||
3 | D-GN | 166 | Power Window Master Switch Passenger Front Up Signal | 3 | D-GN | 166 | Power Window Master Switch Passenger Front Up Signal | ||||||||
4 | BN | 167 | Power Window Master Switch Passenger Front Down Signal | 4 | BN | 167 | Power Window Master Switch Passenger Front Down Signal | ||||||||
5-6 | -- | -- | Not Used | 5-6 | -- | -- | Not Used | ||||||||
7 | BK | 150 | Ground | 7 | BK | 150 | Ground | ||||||||
8 | WH | 81 | Mirror Motor Right Control | 8 | WH | 81 | Mirror Motor Right Control | ||||||||
9 | L-GN | 89 | Mirror Motor Up/Down Control | 9 | L-GN | 89 | Mirror Motor Up/Down Control | ||||||||
10 | GY | 90 | Mirror Motor Left Control | 10 | GY | 90 | Mirror Motor Left Control | ||||||||
11 | BK | 1150 | Ground | 11 | BK | 1150 | Ground | ||||||||
12 | OG | 267 | Heater Mirror Element Supply Voltage | 12 | OG | 267 | Heater Mirror Element Supply Voltage | ||||||||
13-17 | -- | -- | Not Used | 13-17 | -- | -- | Not Used | ||||||||
18 | D-BU | 49 | Door Latch Switch Signal | 18 | D-BU | 49 | Door Latch Switch Signal | ||||||||
19 | BN | 117 | Right Front Speaker Output (-) | 19 | BN | 117 | Right Front Speaker Output (-) | ||||||||
L-GN | 118 | Left Front Speaker Output (-) (RHD) | L-GN | 118 | Left Front Speaker Output (-) (RHD) | ||||||||||
20 | L-BU | 200 | Right Front Speaker Output (+) | 20 | L-BU | 200 | Right Front Speaker Output (+) | ||||||||
PU | 201 | Left Front Speaker Output (+) (RHD) | PU | 201 | Left Front Speaker Output (+) (RHD) | ||||||||||
21-25 | -- | -- | Not Used | 21-25 | -- | -- | Not Used | ||||||||
26 | D-BU | 294 | Door Lock Actuator Unlock Control | 26 | D-BU | 294 | Door Lock Actuator Unlock Control | ||||||||
27 | WH | 295 | Door Lock Actuator Lock Control | 27 | WH | 295 | Door Lock Actuator Lock Control | ||||||||
28-29 | -- | -- | Not Used | 28-29 | -- | -- | Not Used | ||||||||
|
| ||||||||||||||
|---|---|---|---|---|---|---|---|---|---|---|---|---|---|---|---|
Connector Part Information |
| Connector Part Information |
| ||||||||||||
Pin | Wire Color | Circuit No. | Function | Pin | Wire Color | Circuit No. | Function | ||||||||
1 | WH | 295 | Door Lock Actuator Lock Control | 1 | WH | 295 | Door Lock Actuator Lock Control | ||||||||
2 | D-BU | 294 | Door Lock Actuator Unlock Control | 2 | D-BU | 294 | Door Lock Actuator Unlock Control | ||||||||
3 | GY/D-GN | 169 | Power Window Master Switch Left Rear Down Signal | 3 | GY/RD | 169 | Power Window Master Switch Left Rear Down Signal | ||||||||
4 | L-GN/RD | 668 | Power Window Motor Left Rear Up Control | 4 | L-GN/BK | 168 | Power Window Motor Left Rear Up Control | ||||||||
5 | BN/OG | 1307 | Power Window Master Switch Lockout Control | 5 | BN/OG | 1307 | Power Window Master Switch Lockout Control | ||||||||
6 | -- | -- | Not Used | 6 | -- | -- | Not Used | ||||||||
|
| ||||||||||||||
|---|---|---|---|---|---|---|---|---|---|---|---|---|---|---|---|
Connector Part Information |
| Connector Part Information |
| ||||||||||||
Pin | Wire Color | Circuit No. | Function | Pin | Wire Color | Circuit No. | Function | ||||||||
1 | WH | 295 | Door Lock Actuator Lock Control | 1 | WH | 295 | Door Lock Actuator Lock Control | ||||||||
2 | D-BU | 294 | Door Lock Actuator Unlock Control | 2 | D-BU | 294 | Door Lock Actuator Unlock Control | ||||||||
3 | PU | 171 | Power Window Master Switch Left Rear Down Signal | 3 | GY/OG | 169 | Power Window Master Switch Right Rear Down Signal | ||||||||
4 | L-BU | 170 | Power Window Master Switch Right Rear Up Signal | 4 | L-GN/BK | 168 | Power Window Master Switch Right Rear Up Signal | ||||||||
5 | BN/OG | 1307 | Power Window Master Switch Lockout Control | 5 | BN/OG | 1307 | Power Window Master Switch Lockout Control | ||||||||
6 | -- | -- | Not Used | 6 | -- | -- | Not Used | ||||||||
|
| ||||||||||||||
|---|---|---|---|---|---|---|---|---|---|---|---|---|---|---|---|
Connector Part Information |
| Connector Part Information |
| ||||||||||||
Pin | Wire Color | Circuit No. | Function | Pin | Wire Color | Circuit No. | Function | ||||||||
1 | PU | 709 | Left Park Lamp Supply Voltage | 1 | PU | 709 | Left Park Lamp Supply Voltage | ||||||||
2 | BK | 293 | Rear Defog Element Supply Voltage | 2 | BK | 293 | Rear Defog Element Supply Voltage | ||||||||
3 | BN | 20 | Stop Lamp Supply Voltage/Stop Lamp Switch Signal | 3 | BN | 20 | Stop Lamp Supply Voltage/Stop Lamp Switch Signal | ||||||||
4 | RD | 441 | Ignition 3 Voltage | 4 | RD | 441 | Ignition 3 Voltage | ||||||||
5 | GY | 393 | Rear Window Wiper Motor Control | 5 | GY | 393 | Rear Window Wiper Motor Control | ||||||||
6 | OG/BK | 737 | Rear Compartment Lid Ajar Switch Signal | 6 | OG/BK | 737 | Rear Compartment Lid Ajar Switch Signal | ||||||||
7 | D-BU | 49 | Tamper Switch Signal | 7 | D-BU | 49 | Tamper Switch Signal | ||||||||
8 | BK | 850 | Ground | 8 | BK | 850 | Ground | ||||||||
|
| ||||||||||||||
|---|---|---|---|---|---|---|---|---|---|---|---|---|---|---|---|
Connector Part Information |
| Connector Part Information |
| ||||||||||||
Pin | Wire Color | Circuit No. | Function | Pin | Wire Color | Circuit No. | Function | ||||||||
1 | PU | 309 | Right Park Lamp Supply Voltage | 1 | PU | 309 | Right Park Lamp Supply Voltage | ||||||||
2 | BK | 24 | Backup Lamp Supply Voltage | 2 | PU | 24 | Backup Lamp Supply Voltage | ||||||||
3 | BN | 122 | Rear Fog Lamp Supply Voltage (w/Rear Fog Lamps) | 3 | BN | 122 | Rear Fog Lamp Supply Voltage (w/Rear Fog Lamps) | ||||||||
4 | RD | 709 | Left Park Lamp Supply Voltage | 4 | PU | 709 | Left Park Lamp Supply Voltage | ||||||||
5 | GY | 20 | Stop Lamp Supply Voltage/Stop Lamp Switch Signal | 5 | GY | 20 | Stop Lamp Supply Voltage/Stop Lamp Switch Signal | ||||||||
6 | OG/BK | 14 | Left Turn Signal Lamps Supply Voltage | 6 | OG/BK | 14 | Left Turn Signal Lamps Supply Voltage | ||||||||
7 | D-BU | 15 | Right Turn Signal Lamps Supply Voltage | 7 | D-BU | 15 | Right Turn Signal Lamps Supply Voltage | ||||||||
8 | BK | -- | Not Used | 8 | BK | -- | Not Used | ||||||||
|
| ||||||||||||||
|---|---|---|---|---|---|---|---|---|---|---|---|---|---|---|---|
Connector Part Information |
| Connector Part Information |
| ||||||||||||
Pin | Wire Color | Circuit No. | Function | Pin | Wire Color | Circuit No. | Function | ||||||||
1 | PU | 709 | Left Park Lamp Supply Voltage | 1 | PU | 709 | Left Park Lamp Supply Voltage | ||||||||
2 | OG/BK | 737 | Rear Compartment Lid Ajar Switch Signal | 2 | OG/BK | 737 | Rear Compartment Lid Ajar Switch Signal | ||||||||
3 | BK | 850 | Ground | 3 | BK | 850 | Ground | ||||||||
4 | D-BU | 49 | Tamper Switch Signal | 4 | D-BU | 49 | Tamper Switch Signal | ||||||||
|
| ||||||||||||||
|---|---|---|---|---|---|---|---|---|---|---|---|---|---|---|---|
Connector Part Information |
| Connector Part Information |
| ||||||||||||
Pin | Wire Color | Circuit No. | Function | Pin | Wire Color | Circuit No. | Function | ||||||||
1 | PU | 709 | Left Park Lamp Supply Voltage | 1 | PU | 709 | Left Park Lamp Supply Voltage | ||||||||
2 | D-BU | 49 | Tamper Switch Signal | 2 | D-BU | 49 | Tamper Switch Signal | ||||||||
3 | OG/BK | 737 | Rear Compartment Lid Ajar Switch Signal | 3 | OG/BK | 737 | Rear Compartment Lid Ajar Switch Signal | ||||||||
4 | BK | 450 | Ground | 4 | BK | 850 | Ground | ||||||||
|
| ||||||||||||||
|---|---|---|---|---|---|---|---|---|---|---|---|---|---|---|---|
Connector Part Information |
| Connector Part Information |
| ||||||||||||
Pin | Wire Color | Circuit No. | Function | Pin | Wire Color | Circuit No. | Function | ||||||||
1 | GY | 393 | Rear Window Wiper Motor Control | 1 | GY | 393 | Rear Window Wiper Motor Control | ||||||||
2 | RD | 441 | Ignition 3 Voltage | 2 | RD | 441 | Ignition 3 Voltage | ||||||||
3 | L-GN/BK | 392 | Not Used | 3 | -- | -- | Not Used | ||||||||
|
| ||||||||||||||
|---|---|---|---|---|---|---|---|---|---|---|---|---|---|---|---|
Connector Part Information |
| Connector Part Information |
| ||||||||||||
Pin | Wire Color | Circuit No. | Function | Pin | Wire Color | Circuit No. | Function | ||||||||
1 | D-BU | 294 | Door Lock Actuator Unlock Control | 1 | D-BU | 294 | Door Lock Actuator Unlock Control | ||||||||
2 | WH | 295 | Door Lock Actuator Lock Control | 2 | WH | 295 | Door Lock Actuator Lock Control | ||||||||
|
| ||||||||||||||
|---|---|---|---|---|---|---|---|---|---|---|---|---|---|---|---|
Connector Part Information |
| Connector Part Information |
| ||||||||||||
Pin | Wire Color | Circuit No. | Function | Pin | Wire Color | Circuit No. | Function | ||||||||
1 | BK | 850 | Ground | 1 | BK | 450 | Ground | ||||||||
2 | BK | 850 | Ground | 2 | BK/YE | 450 | Ground | ||||||||
3 | L-GN | 24 | Backup Lamp Supply Voltage (w/Backup Lamp) | 3 | WH | 24 | Backup Lamp Supply Voltage | ||||||||
4 | L-BU | 14 | Left Turn Signal Lamps Supply Voltage | 4 | YE | 14 | Left Turn Signal Lamps Supply Voltage | ||||||||
5 | PU | 709 | Left Park Lamp Supply Voltage | 5 | D-BU | 709 | Left Park Lamp Supply Voltage | ||||||||
PU | 709 | Left Park Lamp Supply Voltage | D-BU | 709 | Left Park Lamp Supply Voltage | ||||||||||
6 | BN | 20 | Stop Lamp Supply Voltage/Stop Lamp Switch Signal | 6 | RD | 20 | Stop Lamp Supply Voltage/Stop Lamp Switch Signal | ||||||||
|
| ||||||||||||||
|---|---|---|---|---|---|---|---|---|---|---|---|---|---|---|---|
Connector Part Information |
| Connector Part Information |
| ||||||||||||
Pin | Wire Color | Circuit No. | Function | Pin | Wire Color | Circuit No. | Function | ||||||||
1 | BK | 450 | Ground | 1 | BK | 450 | Ground | ||||||||
2 | BK | 450 | Ground | 2 | BK/YE | 450 | Ground | ||||||||
3 | L-GN | 24 | Backup Lamp Supply Voltage (w/Backup Lamp) | 3 | WH | 24 | Backup Lamp Supply Voltage | ||||||||
RD | 122 | Rear Fog Lamp Supply Voltage w/Rear Fog Lamp (RHD) | WH | 122 | Rear Fog Lamp Supply Voltage w/Rear Fog Lamp | ||||||||||
4 | L-BU | 14 | Left Turn Signal Lamps Supply Voltage | 4 | YE | 14 | Left Turn Signal Lamps Supply Voltage | ||||||||
5 | PU | 709 | Left Park Lamp Supply Voltage | 5 | D-BU | 709 | Left Park Lamp Supply Voltage | ||||||||
6 | BN | 20 | Stop Lamp Supply Voltage/Stop Lamp Switch Signal | 6 | RD | 20 | Stop Lamp Supply Voltage/Stop Lamp Switch Signal | ||||||||
|
| ||||||||||||||
|---|---|---|---|---|---|---|---|---|---|---|---|---|---|---|---|
Connector Part Information |
| Connector Part Information |
| ||||||||||||
Pin | Wire Color | Circuit No. | Function | Pin | Wire Color | Circuit No. | Function | ||||||||
1 | BK | 950 | Ground | 1 | BK | 450 | Ground | ||||||||
2 | BK | 950 | Ground | 2 | BK/YE | 450 | Ground | ||||||||
3 | L-GN | 24 | Backup Lamp Supply Voltage (w/Backup Lamp) | 3 | WH | 24 | Backup Lamp Supply Voltage | ||||||||
RD | 122 | Rear Fog Lamp Supply Voltage w/Rear Fog Lamp (RHD) | WH | 122 | Rear Fog Lamp Supply Voltage w/Rear Fog Lamp | ||||||||||
4 | D-BU | 15 | Right Turn Signal Lamps Supply Voltage | 4 | YE | 15 | Right Turn Signal Lamps Supply Voltage | ||||||||
5 | BN/WH | 309 | Right Park Lamp Supply Voltage | 5 | D-BU | 709 | Right Park Lamp Supply Voltage | ||||||||
6 | BN | 20 | Stop Lamp Supply Voltage/Stop Lamp Switch Signal | 6 | RD | 20 | Stop Lamp Supply Voltage/Stop Lamp Switch Signal | ||||||||
|
| ||||||||||||||
|---|---|---|---|---|---|---|---|---|---|---|---|---|---|---|---|
Connector Part Information |
| Connector Part Information |
| ||||||||||||
Pin | Wire Color | Circuit No. | Function | Pin | Wire Color | Circuit No. | Function | ||||||||
1 | BK | 450 | Ground | 1 | BK | 450 | Ground | ||||||||
2 | BK | 450 | Ground | 2 | BK/YE | 450 | Ground | ||||||||
3 | L-GN | 24 | Backup Lamp Supply Voltage (w/Backup Lamp) | 3 | WH | 24 | Backup Lamp Supply Voltage | ||||||||
RD | 122 | Rear Fog Lamp Supply Voltage w/Rear Fog Lamp (RHD) | WH | 122 | Rear Fog Lamp Supply Voltage w/Rear Fog Lamp | ||||||||||
4 | D-BU | 15 | Right Turn Signal Lamps Supply Voltage | 4 | YE | 15 | Right Turn Signal Lamps Supply Voltage | ||||||||
5 | PU/BK | 309 | Right Park Lamp Supply Voltage | 5 | D-BU | 709 | Right Park Lamp Supply Voltage | ||||||||
6 | YE | 20 | Stop Lamp Supply Voltage/Stop Lamp Switch Signal | 6 | RD | 20 | Stop Lamp Supply Voltage/Stop Lamp Switch Signal | ||||||||
|
| ||||||||||||||
|---|---|---|---|---|---|---|---|---|---|---|---|---|---|---|---|
Connector Part Information |
| Connector Part Information |
| ||||||||||||
Pin | Wire Color | Circuit No. | Function | Pin | Wire Color | Circuit No. | Function | ||||||||
1 | PU | 709 | Park Lamp Supply Voltage | 1 | BN | 709 | Park Lamp Supply Voltage | ||||||||
2 | BK | 250 | Ground | 2 | BK | 250 | Ground | ||||||||