GM Service Manual Online
For 1990-2009 cars only
Makes
🢒
Pontiac
🢒
2005
🢒
Wave
🢒 Controlled/Monitored Subsystem References
Controlled/Monitored Subsystem References
Controlled/Monitored Subsystem References
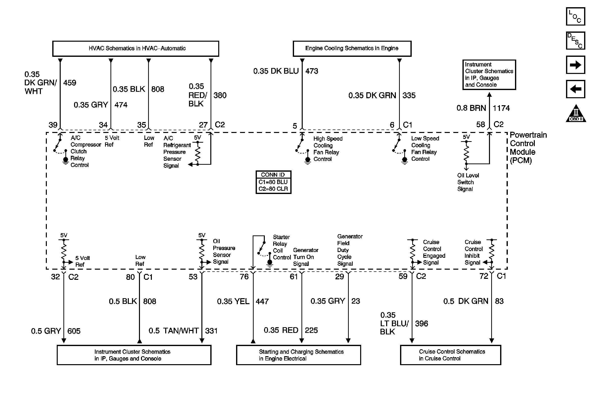
Master Electrical Component List
Powertrain Control Module Description
Compressor Controls - 3.8L
PCM Signals Engine Oil, and Volt Indicators
Engine Cooling Fans, and Relays
Generator Control
DIC Switch (w/U50)
Cruise Control Module, and VSS
Transmission Controls
Device Controls
OBD II Symbol Description Notice