GM Service Manual Online
For 1990-2009 cars only
Makes
🢒
Pontiac
🢒
2005
🢒
Wave
🢒 Controlled/Monitored Subsystem References
Controlled/Monitored Subsystem References
Controlled/Monitored Subsystem References
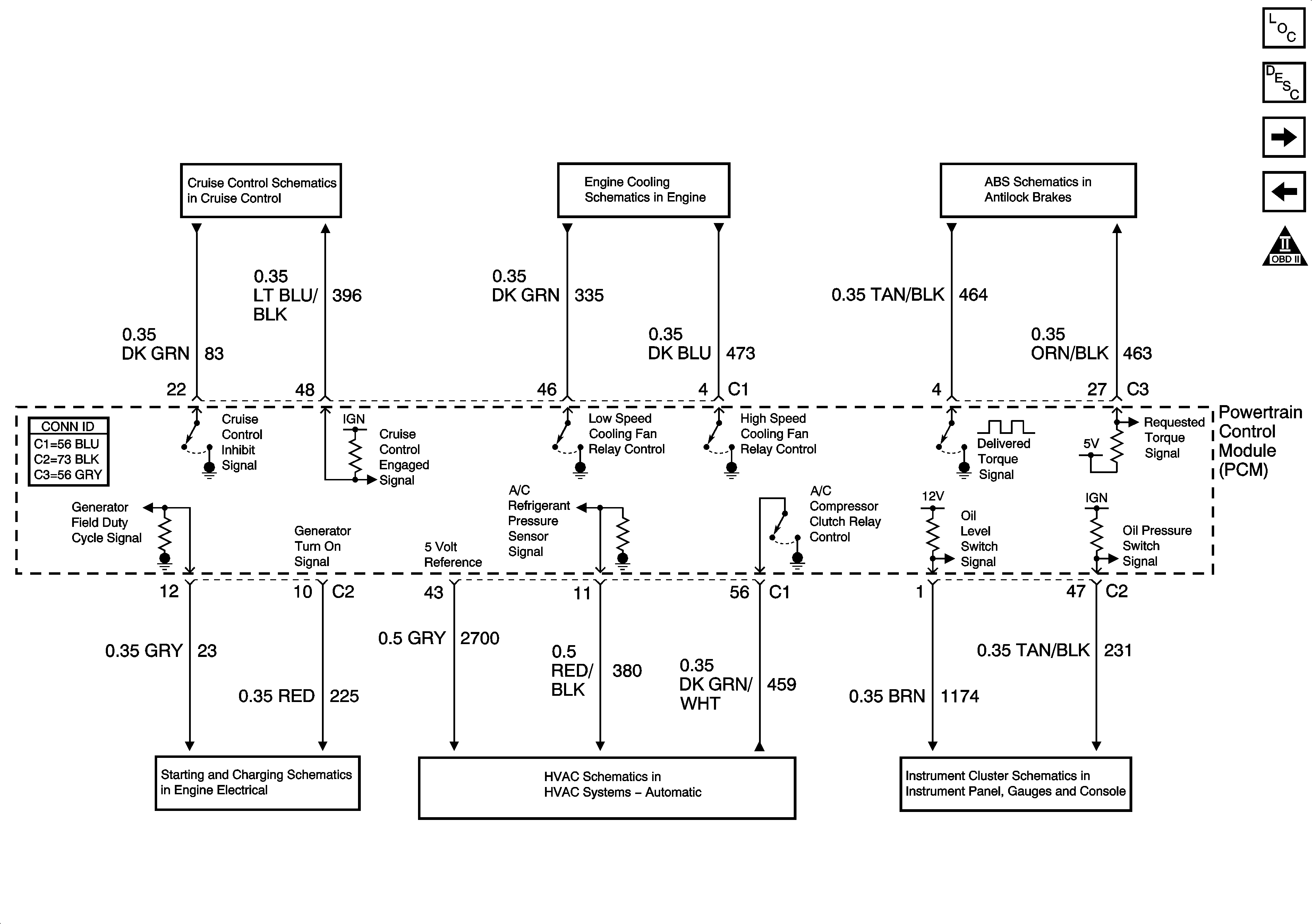
Cruise Control Module, and VSS
Engine Cooling Fans, and Relays
Traction Control (NW9)
Generator Control
Compressor Controls - 4.6L
PCM Signals Engine Oil, and Volt Indicators
Master Electrical Component List
Powertrain Control Module Description
Transmission Controls - A/T
Device Controls
OBD II Symbol Description Notice