GM Service Manual Online
For 1990-2009 cars only
Makes
🢒
Pontiac
🢒
2005
🢒
Wave
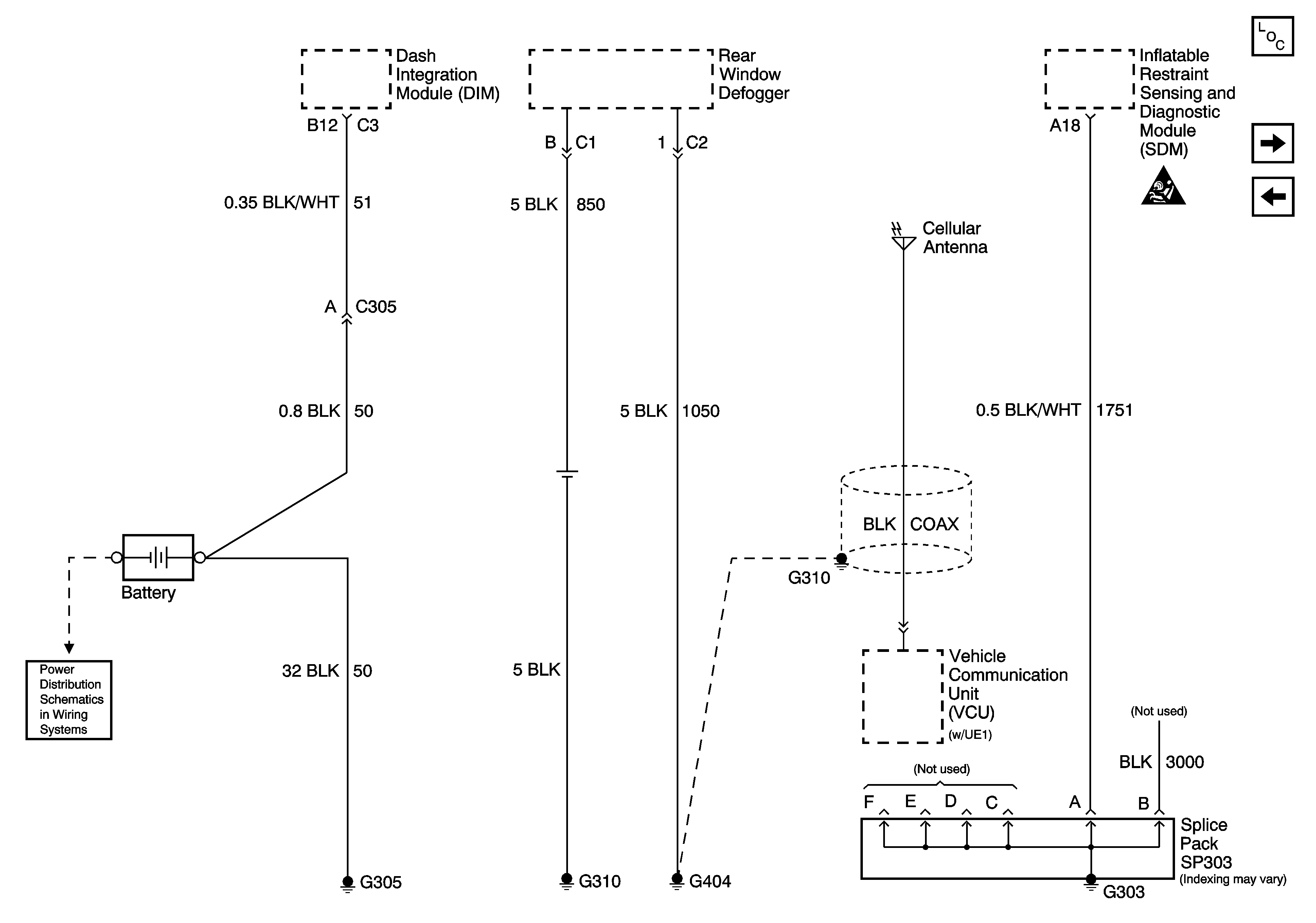
🢒 G303, G305, G310, and G404
G303, G305, G310, and G404
G303, G304, G305, and G410
Master Electrical Component List
G401 - 1 of 2
G302
SIR Caution for Zoning
Underhood Fuse Block B+ Bus - 3.8L